Способы усовершенствования активной локации и намагничивания целевой скважины
Иллюстрации
Показать всеИзобретение относится к области геофизики и может быть использовано при разведке месторождений нефти и природного газа. Заявлена электромагнитная расстановка, сконфигурированная для использования в подземной буровой скважине. Расстановка включает в себя множество расположенных с промежутком вдоль оси электромагнитов и сконфигурирована с возможностью генерации спектра магнитного поля, имеющего по меньшей мере первую и вторую пары магнитно-противоположных полюсов. Преимущественно могут использоваться измерения при пассивной локации возбужденного магнитного поля, например, для исследования и управления непрерывным бурением объединенной скважины. Электромагнитная расстановка может также использоваться в активной локации. При активной локации может также использоваться расстановка постоянных магнитов, обеспечивающая подобный спектр магнитного поля. Технический результат - повышение точности разведочных данных. 2 з.п. ф-лы, 15 ил.
Реферат
ОБЛАСТЬ ТЕХНИКИ
Настоящее изобретение относится, главным образом, к области бурения и исследования подземных буровых скважин, например, для использования при разведке месторождений нефти и природного газа. В частности, настоящее изобретение относится к устройству и способу для придания заданного спектра магнитного поля установленной обсадной колонне, а также к устройству и способу для активной локации.
УРОВЕНЬ ТЕХНИКИ
Метод активной магнитной локации широко используется в объединении скважин и пересечении скважин, например, включая технологию гравитационного дренирования при закачке пара (SAGD) и бурения метана угольных пластов (CBM). В одном известном способе активной локации (например, раскрытом в патенте США 5485089) электромагнит высокой мощности опускают через целевую обсаженную скважину во время бурения объединенной скважины. Для определения расстояния и направления до цели инструмент, используемый для скважинных исследований при бурении бурильной колонны, измеряет амплитуду и направление магнитного поля во время бурения объединенной скважины. В другом известном способе активной локации (например, раскрытом в патенте США 5589775) магнит монтируется на вращающемся переводнике под двигателем буровой установки (установленном в объединенной скважине). Тросовый инструмент опускается через целевую обсаженную скважину и измеряет амплитуду и направление магнитного поля в процессе бурения объединенной скважины. В обоих способах измерения магнитного поля используются для расчета дистанции и пеленга (расстояния и направления) от объединенной скважины до целевой скважины и для управления непрерывным бурением объединенной скважины.
Способы активной локации предшествующего уровня техники, описанные выше, используемые в промышленных технологиях гравитационного дренирования при закачке пара (SAGD), как известно, обладают существенными недостатками. Например, оба метода нуждаются в точном поперечном центрировании (в направлении z) между магнитным излучателем, установленным в одной скважине, и магнитными датчиками, установленными в другой скважине. Неточное центрирование может привести к смещению объединенной скважины, что оказывает существенное отрицательное влияние на продуктивность скважины в будущем. Кроме того, шаги, предпринимаемые для обеспечения соответствующего центрирования (например, выполнение измерений магнитного поля в нескольких продольных положениях в одной из скважин), занимают много времени (и поэтому дорого стоят) и могут в дальнейшем привести к проблемам в глубоких скважинах. Кроме того, подход, описанный в патенте 089, для компенсации остаточной намагниченности в проектной колонне, требует выполнения разведочного исследования как при положительной, так и при отрицательной полярности электромагнитного излучателя. В результате время исследования (а поэтому и время, необходимое для бурения объединенной скважины) становится более дорогостоящим.
В патентах США 6985814; 7538650; 7617049; 7656161 и 7712519 раскрыты усовершенствованные способы пассивной локации, подходящие для применения в объединенных скважинах и в пересечении скважин. Эти способы часто дают определенные преимущества по сравнению с описанными выше способами активной локации. Однако намагничивание больших количеств обсадных труб, хранение намагниченных труб и применение намагниченных труб в целевой скважине проявляет тенденцию к возникновению технических и логистических проблем. Хотя эти проблемы были соответствующим образом преодолены для промышленного применения способа, существует необходимость в улучшенном способе намагничивания целевой скважины, в частности в способе, который снижает требования к намагниченным трубам.
СУЩНОСТЬ ИЗОБРЕТЕНИЯ
Типичные аспекты настоящего изобретения предназначены для устранения описанных недостатков способов локации и бурения объединенной скважины предшествующего уровня техники. Один аспект настоящего изобретения включает способ намагничивания части обсадной колонны, установленной в скважине. Электромагнитная расстановка устанавливается в обсадной трубе, и к ней подается энергия. Группа включает в себя множество расположенных с промежутком вдоль оси электромагнитов и сконфигурирована таким образом, чтобы генерировать спектр магнитного поля, имеющего, по меньшей мере, первую и вторую пары магнитно-противоположных полюсов. Преимущественно могут использоваться измерения при пассивной локации возбужденного магнитного поля, например, для исследования и управления непрерывным бурением объединенной скважины. Электромагнитная расстановка также может использоваться в активной локации. При активной локации также может использоваться расстановка постоянных магнитов, обеспечивающая подобный спектр магнитного поля.
Типичные варианты настоящего изобретения представляют несколько потенциальных преимуществ. Например, изобретение дает возможность намагничивать предварительно установленную обсадную колонну на месте. Сильное, высокооднородное магнитное поле вокруг колонны обычно благоприятно для выполнения последующих измерений при пассивной локации, например, во время эксплуатации объединенной скважины.
Аспекты изобретения, кроме того, благоприятны при операциях активной локации. Например, использование электромагнитной расстановки, имеющей несколько пар магнитно-противоположных полюсов, обеспечивает сильное, однородное магнитное поле вокруг выбранной части скважины. Благодаря однородности напряженности магнитного поля необязательна точная боковая центровка магнитного излучателя в целевой скважине и измерительных датчиков в буровой скважине. Это приводит к упрощению операции локации, таким образом, экономя время и улучшая точность.
Электромагнитная расстановка и расстановка постоянных магнитов в соответствии с настоящим изобретением фокусирует магнитный поток в обсадной колонне. Это приводит к созданию более сильного, более однородного магнитного поля вокруг обсадной колонны и поэтому улучшает точность локации. Кроме того, возбужденное внешнее магнитное поле склонно к уменьшенной чувствительности к толщине труб скважины, используемых для обсадки скважины.
В одном аспекте настоящее изобретение включает в себя способ намагничивания части обсадной колонны в подземной буровой скважине, при котором обсадная колонна предварительно установлена в буровой скважине. Электромагнитная расстановка установлена в обсадной колонне. Электромагнитная расстановка включает в себя множество расположенных с промежутком вдоль оси электромагнитов, установленных коаксиально в немагнитном корпусе. Множество электромагнитов соединено с источником электроэнергии таким образом, что первая подгруппа электромагнитов генерирует магнитный поток в первом осевом направлении, а вторая подгруппа электромагнитов генерирует магнитный поток во втором противоположном осевом направлении так, чтобы создать заданный спектр магнитного поля в обсадной колонне. Спектр магнитного поля имеет, по меньшей мере, первую и вторую пары магнитно-противоположных полюсов. Затем электромагниты отсоединяют от источника энергии.
В другом аспекте настоящее изобретение включает в себя способ обследования буровой скважины относительно целевой скважины. Электромагнитная расстановка установлена в целевой скважине. Электромагнитная расстановка включает в себя множество расположенных с промежутком вдоль оси электромагнитов, установленных коаксиально в немагнитном корпусе. Электромагниты соединены с источником электроэнергии таким образом, что первая подгруппа электромагнитов генерирует магнитный поток в первом осевом направлении, а вторая подгруппа электромагнитов генерирует магнитный поток во втором, противоположном осевом направлении так, чтобы создать спектр магнитного поля, имеющего, по меньшей мере, первую и вторую пары магнитно-противоположных полюсов. Скважинный инструмент, снабженный прибором для измерения магнитного поля, установлен в буровой скважине в пределах диапазона чувствительности магнитного поля, генерируемого электромагнитной расстановкой. Локальное магнитное поле измеряется в буровой скважине, используя прибор для измерения магнитного поля. Результаты измерений магнитного поля затем обрабатываются для определения, по меньшей мере, одного из параметров: (i) расстояния и (ii) направления от буровой скважины до целевой скважины. В альтернативных вариантах вместо электромагнитной расстановки может использоваться расстановка постоянных магнитов.
Вышеизложенное обрисовывает довольно широкие признаки и технические преимущества настоящего изобретения, чтобы последующее подробное описание изобретения было лучше понятно. В дальнейшем будут описаны дополнительные признаки и преимущества изобретения, образующие предмет формулы изобретения. Специалисту в данной области должно быть понятно, что концепция и раскрытые конкретные варианты могут быть легко использованы в качестве основы для изменения или разработки других конструкций для достижения тех же целей, что и в настоящем изобретении. Кроме того, специалисту в данной области должно быть понятно, что такие эквивалентные конструкции не выходят за рамки сущности и объема изобретения, как изложено в прилагаемой формуле изобретения.
КРАТКОЕ ОПИСАНИЕ ЧЕРТЕЖЕЙ
Для более полного понимания настоящего изобретения и его преимуществ обратимся к последующему описанию, рассматриваемому вместе с прилагаемыми чертежами.
На Фиг.1 изображен один вариант электромагнитной расстановки, установленной в подземной буровой скважине.
На Фиг.2 изображена электромагнитная расстановка, показанная на Фиг.1.
На Фиг.3 изображен отрезок намагниченной обсадной колонны после извлечения электромагнитной расстановки, показанной на Фиг.2.
На Фиг.4 изображен вариант электромагнитной расстановки.
На Фиг.5 изображен другой вариант электромагнитной расстановки.
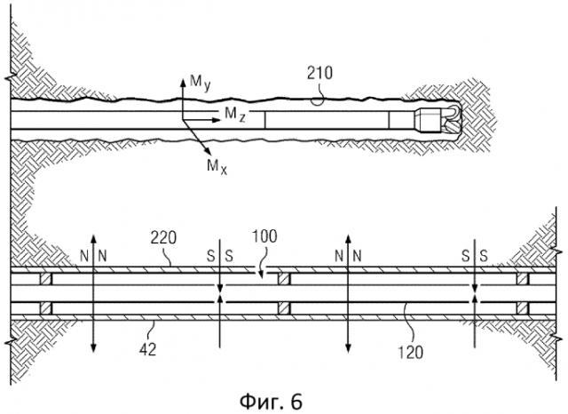
На Фиг.6 изображена операция активной локации, использующая электромагнитную расстановку, показанную на Фиг.1, как активный магнитный излучатель.
На Фиг.7 приведено контурное изображение теоретической плотности магнитного потока вокруг обсаженного ствола скважины, которая имеет электромагнитную расстановку, изображенную на Фиг.4, установленную в ней и запитанную энергией.
На Фиг.8A изображен еще один вариант электромагнитной расстановки.
На Фиг.8B и 8C изображены магнитные полярности электромагнитов 310A-H по Фиг.8A для электрического тока, приложенного в положительном направлении (Фиг.8B), и электрического тока, приложенного в отрицательном направлении (Фиг.8C).
На Фиг.9A и 9B изображены электромагниты 310A и 310D, показанные на Фиг.8A.
На Фиг.10 изображена операция активной локации, в которой в качестве активного магнитного излучателя используются постоянные магниты.
На Фиг.11 изображена расстановка постоянных магнитов, показанных на Фиг.10.
На Фиг.12 изображен один типичный вариант постоянного магнита, показанного на Фиг.11.
ДЕТАЛЬНОЕ ОПИСАНИЕ ИЗОБРЕТЕНИЯ
Теперь со ссылками на Фиг.1-12 описаны типичные варианты настоящего изобретения. Что касается Фиг.1-12, следует понимать, что признаки или аспекты иллюстрируемого изобретения могут быть показаны в различных видах. Там, где признаки или аспекты являются общими для отдельных видов, они обозначаются одинаковыми ссылочными номерами. Таким образом, признаки или аспекты с отдельными ссылочными номерами на одном виде по Фиг.1-12 могут быть описаны здесь по ссылочным номерам, показанным на остальных видах.
На Фиг.1 изображен один типичный вариант операции для намагничивания обсадной трубы скважины в соответствии с настоящим изобретением. На Фиг.1 буровая установка 10 расположена над подземным нефтяным или газовым пластом (например, пластом битуминозного песка - не показан). Буровая установка может включать в себя, например, мачтовый кран и подъемное устройство для опускания и поднимания различных компонентов в скважину 40 и из нее. В описанном типичном варианте скважина 40 обсажена (облицована), используя обычные трубы 42 из цементированной стали. Электромагнитная расстановка 100 установлена в скважине 40. Группа 100 может проталкиваться в скважину, например, используя обычную буровую трубу или безмуфтовую длинномерную трубу, изображенную на Фиг.1, или протягиваться в скважину, например, используя обычную компоновку трактора. В этом отношении настоящее изобретение не является ограничивающим.
Возвращаясь к Фиг.2, электромагнитная расстановка 100 включает в себя множество электромагнитов 110A и 110B. Обмотка электромагнитов выполнена таким образом, что подача энергии к группе (подача электрического тока к электромагнитам) создает множество пар магнитно-противоположных магнитных полюсов NN и SS по длине группы (как изображено). Такие магнитно-противоположные полюса эффективно фокусируют магнитный поток, направленный наружу или внутрь группы 100, как показано позициями 115 и 117. В типичном варианте, изображенном на Фиг.2, группа 100 включает в себя восемь отдельных электромагнитов (четыре 110A и четыре 110B), скомпонованных для возбуждения четырех пар магнитно-противоположных полюсов (два полюса NN и два полюса SS). Должно быть понятно, что изобретение не ограничивается электромагнитной расстановкой, включающей в себя любое конкретное число электромагнитов.
Подходящая электромагнитная расстановка 100 включает в себя множество электромагнитов 110A и 110B, установленных в немагнитном корпусе 120. Корпус 120 предпочтительно включает в себя (или снабжен) одним или несколькими центраторами 130 (например, лопастями стабилизатора), выполненными, по существу, для центрирования корпуса 120 в обсадной колонне. Изобретение не ограничивается любым конкретным исполнением центрирования. Электромагниты 110A и 110B могут быть преимущественно расположены с промежутком друг от друга по оси и установлены, по существу, коаксиально друг к другу в корпусе 120 (например, как изображено).
По существу, могут использоваться любые подходящие электромагниты. Предпочтительными являются электромагниты высокой мощности, как правило, они включают в себя катушку, снабженную большим количеством витков изолированного электрического проводника, намотанных вокруг ферромагнитного сердечника. Предпочтительно, электромагниты высокой мощности, главным образом, конфигурированы для обеспечения генерации большого магнитного потока (например, порядка 1 вебера или больше). В одном типичном варианте каждый из электромагнитов включает в себя по существу цилиндрический сердечник из мягкой стали, имеющий длину несколько футов (например, 4, 8 или 16 футов). Сердечник предпочтительно снабжен обмоткой из нескольких тысяч витков электрического проводника (например, 4000, 8000 или 16000 витков). Проводник предпочтительно имеет диаметр, достаточный для использования больших величин электрического тока (например, 1 ампер или больше) без существенного повышения температуры.
Преимущественные варианты электромагнитных расстановок обычно включают в себя, по меньшей мере, восемь электромагнитов и сконфигурированы для возбуждения, по меньшей мере, трех пар магнитно-противоположных полюсов, хотя изобретение не ограничивается в этом отношении. Как правило, варианты, имеющие большое количество электромагнитов, расположенных с одинаковыми промежутками (например, 8 или больше), обладают тем преимуществом, что обеспечивают спектр сильного периодического магнитного поля, создаваемого в обсадной колонне. Это, в свою очередь, обеспечивает сильное, более однородное магнитное поле вокруг обсадной колонны и поэтому дает возможность более точной и надежной пассивной локации. Естественно, должно быть понятно, что преимущества, присущие увеличенному количеству электромагнитов, должны быть сбалансированы по увеличению стоимости и энергопотребления таких вариантов воплощения.
По-прежнему со ссылками на Фиг.2, одна или несколько пар магнитно-противоположных полюсов может создаваться, например, за счет намагничивания соседних электромагнитов 110A и 110B в противоположных направлениях. В описанном типичном варианте электромагниты 110A могут намагничиваться таким образом, что вокруг магнитопроницаемого сердечника в направлении по часовой стрелке возбуждается электрический ток, который, в свою очередь, возбуждает магнитное поле, имеющее северный N и южный S полюса, как показано. Электромагниты 110B намагничены в противоположном направлении таким образом, что вокруг магнитопроницаемого сердечника в направлении против часовой стрелки возбуждается электрический ток, который, в свою очередь, возбуждает противоположное магнитное поле, имеющее северный N и южный S полюса в противоположном направлении, как показано. Таким образом, возбуждаются противоположные пары полюсов северный-северный NN и южный-южный SS, как схематически показано позициями 115 и 117.
Должно быть понятно, что электромагниты 110A и 110B, по существу, идентичны, но конфигурированы таким образом, что электрический ток протекает в противоположных направлениях (по часовой стрелке и против часовой стрелки) вокруг сердечника. Кроме того, понятно, что электромагниты 110A и 110B обычно питаются энергией с поверхности (поскольку электромагниты обычно требуют несколько ватт электроэнергии), например, с помощью электрического подключения, которое проходит вверх через корпус 120 (и, возможно, по длине безмуфтовой длинномерной трубы) к поверхности. Должно быть понятно, что полярность электромагнита может задаваться на поверхности или в группе. Изобретение не ограничивается никакой конкретной компоновкой обмотки или конкретными средствами для регулировки полярности.
Возвращаясь к Фиг.3, возбуждение электромагнитной расстановки 100 (т.е. электромагнитов в группе), когда они установлены в обсадной трубе (как изображено на Фиг.2), вызывает создание аналогичного спектра магнитного поля в обсадной колонне. На Фиг.3 изображена намагниченная обсадная труба скважины после удаления группы 100. В изображенном типичном варианте в обсадной колонне 42 создаются два магнитно-противоположных полюса NN и два магнитно-противоположных полюса SS. Назначение пар противоположных магнитных полюсов - фокусирование потока, направленного внутрь или наружу из обсадной колонны, как показано.
Обратившись к Фиг.2 и 4, изображенная типичная электромагнитная расстановка 100 преимущественно обеспечивает создание до семи пар магнитно-противоположных полюсов (в любой из семи средних точек между смежными парами электромагнитов). На Фиг.4 изображено создание семи пар магнитно-противоположных полюсов. Должно быть понятно, что варианты группы, включающие больше электромагнитов, будут способны создавать больше пар противоположных полюсов (при необходимости). Например, группа, включающая 16 электромагнитов, способна создавать до 15 пар противоположных полюсов в обсадной колонне (например, в любой из 15 средних точек между смежными парами электромагнитов).
Должно быть понятно, что предпочтительный промежуток между парами магнитно-противоположных полюсов вдоль обсадной колонны зависит от многих факторов, таких как желаемое расстояние между парами и целевыми скважинами при операции объединения скважин, и что существует выбор в использовании любых конкретных промежутков. Как правило, напряженность магнитного поля вокруг обсадной колонны (или ее участка) становится более однородной по продольной оси обсадной колонны при уменьшении промежутка между парами противоположных полюсов. Однако ослабевание уровня напряженности магнитного поля как функции радиального расстояния от обсадной колонны стремится к увеличению по мере уменьшения осевого промежутка между парами противоположных полюсов. Таким образом, может оказаться выгодным использовать электромагнитную расстановку, конфигурированную для создания более тесно расположенных пар противоположных полюсов для такого вида применения, в котором желаемое расстояние между парой и целевыми скважинами сравнительно невелико, и использовать электромагнитную расстановку, конфигурированную для создания пар противоположных полюсов, имеющих увеличенный промежуток, для такого вида применения, в котором желаемое расстояние между парой и целевыми скважинами больше.
Обнаружено, что при определенных операциях объединения скважин SAGD выгодным является осевой промежуток около 40 футов (13 метров). При таком применении, из-за необходимой излишней длины, может быть не желательно (или даже единственно возможно) использовать группу из цельного электромагнита. Для таких видов применения предпочтительной может оказаться группа из множества деталей. На Фиг.5 изображен один типичный вариант группы 100' из множества деталей (секций) электромагнитов. В изображенном типичном варианте немагнитный корпус 120' включает в себя четыре цилиндрических секции, концы которых соединяются друг с другом с помощью резьбы. Каждая секция содержит первый и второй электромагниты 110A и 110B. Специалисту понятно, что типичный вариант, изображенный на Фиг.5, по магнитным характеристикам аналогичен изображенному на Фиг.2 в том, что содержит восемь электромагнитов, сконфигурированных таким образом, чтобы создавать четыре пары магнитно-противоположных полюсов (два северных NN и два южных SS). Должно быть понятно, что изобретение не ограничивается электромагнитной расстановкой, включающей в себя любое конкретное число секций.
Возвращаясь к Фиг.1, электромагнитная расстановка 100 изображена как имеющая продольную длину l. Должно быть понятно, что группа 100 может получать питание (как описано выше со ссылками на Фиг.2 и 3), чтобы намагничивать заданную длину установленной обсадной колонны (например, также имеющей длину l). Более длинный участок обсадной колонны может намагничиваться с интервалами, например каждый интервал, имеющий длину l. Например, электромагнитная расстановка 100 может опускаться на дно скважины (например, на нижний конец длины безмуфтовой длинномерной трубы) или на некоторую заданную измеренную глубину. Первый участок обсадной колонны может затем намагничиваться путем подачи энергии к группе 100, как описано выше. После снятия напряжения с группы (отключения ее от источника электроэнергии) группа 100 может затем перемещаться в другое продольное положение (например, протягиваться в направлении поверхности на длину l) и намагничивать второй участок обсадной колонны. Такой повторяющийся процесс может использоваться для быстрого намагничивания, по существу, любой длины установленной обсадной колонны.
Следует понимать, что повторяющийся процесс намагничивания (например, описанный выше) может преимущественно включать отдельные участки обсадной колонны в процесс намагничивания с соответствующим отличающимся спектром магнитного поля. Например, первый участок может намагничиваться таким образом, чтобы имелся сравнительно небольшой промежуток между парами магнитно-противоположных полюсов, а второй участок может намагничиваться таким образом, чтобы имелся больший промежуток между парами магнитно-противоположных полюсов.
В предпочтительном варианте изобретения намагничивание установленной обсадной колонны придает, по существу, периодический характер противоположным северным-северным (NN) магнитным полюсам и противоположным южным-южным (SS) магнитным полюсам, расположенным с промежутком вдоль продольной оси колонны. Например, обсадная колонна может намагничиваться, чтобы включать одну пару противоположных магнитных полюсов для установленного трубчатого элемента (например, один полюс NN для первого трубчатого элемента, один полюс SS для соседнего трубчатого элемента и т.д.). В других предпочтительных вариантах промежутки между полюсами могут быть более или менее плотными. В этом отношении настоящее изобретение не является ограничивающим.
Было обнаружено, что придание, по существу, периодического характера противоположным северным-северным (NN) магнитным полюсам и противоположным южным-южным (SS) магнитным полюсам в обсадной колонне обеспечивает магнитное поле высокой однородности вокруг обсадной колонны (снаружи колонны). Кроме того, обнаружено, что однородное магнитное поле хорошо подходит для последующей пассивной локации, например, в различных случаях применения при объединении скважин и при пересечении скважин. В принадлежащих одному и тому же правообладателю патентах США 7617049 и 7656161, каждый из которых полностью включен в виде ссылки в настоящий документ, раскрыт подходящий метод пассивной локации.
На Фиг.6 изображена типичная операция активной локации, в которой объединенная скважина 210 (также называемая буровой скважиной) бурится, по существу, параллельно целевой скважине 220. В типичном варианте изображенная электромагнитная расстановка 100 установлена в целевой скважине (перед обсадной трубой целевой скважины или за ней) и используется в качестве магнитного излучателя для операции активной локации. Как описано выше со ссылками на Фиг.1 и 2, при подаче напряжения к группе 100 создается множество пар магнитно-противоположных полюсов NN и магнитно-противоположных полюсов SS, что, в свою очередь, приводит к созданию однородного магнитного поля вокруг целевой скважины. Расстояние и/или направление между объединенной 210 и целевой 220 скважинами можно определить, используя обычные измерения при магнитной локации, например, такие, как раскрытые в патентах США 7617049 и 7656161.
Во время операции объединения скважин (или другом типе операции локации) объединенная скважина 210 может буриться вдоль длины группы 100 (которая установлена в целевой скважине 220, как изображено). После бурения на некоторое расстояние группа 100 может быть перемещена глубже в целевую скважину 220. Обычно выгодно перемещать группу 100, когда новая длина бурильной колонны добавляется к бурильной колонне (или длине ее интервала, например каждому второму отрезку бурильной колонны или каждому третьему отрезку бурильной колонны, в зависимости от длины группы). При использовании группы 100 преимущественно отпадает необходимость в поперечном выравнивании магнитного излучателя и датчиков в бурильной колонне.
Магнитное поле вокруг обсаженного ствола скважины, в которой установлена и получает питание электромагнитная расстановка, может моделироваться, например, используя обычный метод конечных элементов. На Фиг.7 приведено контурное изображение плотности потока вокруг обсаженного ствола скважины, который имеет электромагнитная расстановка, аналогичная изображенной на Фиг.4, установленная в ней и запитанная энергией. Каждый электромагнит в моделируемой группе имеет длину 12 футов и содержит 16000 витков вокруг сердечника из кремнистого железа (SiFe) диаметром два дюйма. Электромагниты питаются постоянным током силой в 1 ампер. Следует понимать, что изобретение никоим образом не ограничивается данным иллюстративным модельным предположением.
Как показано на Фиг.7, напряженность магнитного поля (плотность потока) по преимуществу имеет высокую однородность вокруг обсадной колонны, с контурными линиями, по существу, параллельными обсадной колонне на радиальных расстояниях, больших чем примерно три метра. Должно быть понятно, что термины «плотность магнитного потока» и «магнитное поле» используются здесь взаимозаменяемо, с пониманием того, что они, по существу, пропорциональны друг другу и что измерение любого из них может быть преобразовано в другой посредством известных математических расчетов.
Математическая модель, такая как описана выше со ссылками на Фиг.7, может использоваться для создания карты магнитного поля вокруг целевой скважины вблизи от электромагнитной расстановки. При объединении целевой скважины, для определения расстояния и направления до целевой скважины, измерения магнитного поля (например, компонентов x, y и z, измеренных с помощью трехкоординатного магнитометра) могут быть введены в модель (например, в таблицу преобразования или в эмпирический алгоритм, основанный на модели). Различные методы локации подробнее описаны в патентах США 7617049 и 7656161.
При вариантах активной локации может оказаться выгодным изменять магнитный спектр, создаваемый электромагнитной расстановкой при бурении. Например, как подробно описано в примере, приведенном ниже, спектр может изменяться от спектра, имеющего семь пар магнитно-противоположных полюсов, до спектра, имеющего три пары магнитно-противоположных полюсов. При необходимости изменение магнитного спектра может легко выполняться, например, с помощью отдельной обмотки каждого электромагнита в группе и изменения полярности (направления тока) для различных электромагнитов. Хотя такое исполнение обосновано, оно потребует прокладки многожильного кабеля с поверхности до электромагнитной расстановки. Такой многожильный кабель будет более толстым и более дорогим, чем одножильный кабель.
На Фиг.8A изображено одно типичное исполнение электромагнитной расстановки 300, предназначенной для использования одножильного кабеля. Изображенная группа 300 аналогична группе 100 (Фиг.2) в том, что она содержит восемь раздвинутых по длине электромагнитов 310A-H (указанных совместно как электромагниты 310). В изображенном типичном варианте электромагниты 310A и 310E подключены к источнику электроэнергии через соответствующие диодные мосты 320A, тогда как электромагниты 310D и 310H подключены к источнику электроэнергии через соответствующие диодные мосты 320B.
Диодные мосты 320A и 320B подробно изображены на Фиг.9A и 9B. Как известно специалисту-электрику, диодный мост представляет собой такое расположение диодов в конфигурации, которое приводит к тому, что полярность на выходе не зависит от полярности на входе. В изображенном типичном варианте диодный мост 320A выполнен таким образом, что электромагниты 310A и 310E генерируют магнитное поле в первом направлении (например, в направлении вниз, как изображено на Фиг.8B и 8C), независимо от полярности источника. Диодные мосты 320B выполнены таким образом, что электромагниты 310D и 310H генерируют магнитное поле во втором, противоположном направлении (например, в направлении вверх, как изображено на Фиг.8B и 8C), независимо от полярности источника.
Обратившись к Фиг.8A, как изображено, электромагниты 310B, 310C, 310F и 310G подключены непосредственно к источнику энергии, так что электромагниты 310B и 310C намагничиваются в противоположных направлениях и электромагниты 310F и 310G намагничиваются в противоположных направлениях. Если электрическая энергия, имеющая первую полярность, подведена к группе 300, генерируется спектр магнитного поля, имеющего семь пар магнитно-противоположных полюсов (четыре полюса NN и три полюса SS), как изображено на Фиг.8B. Если полярность подведенной электроэнергии изменяется на обратную, магнитное поле, генерируемое электромагнитами 310B, 310C, 310F, и 310G, также изменяется на обратное, приводя к созданию спектра магнитного поля, имеющего три пары магнитно-противоположных полюсов (два NN и один SS), как изображено на Фиг.8C. Конфигурация, изображенная на Фиг.8A, может преимущественно питаться, используя один одножильный кабель 330.
Специалисту понятно, что электромагниты на Фиг.8A изображены как подключенные параллельно. Они могут также подключаться последовательно. Последовательное подключение может быть выгодным в некоторых видах применения, так как обеспечивает, что произведение электрического тока и количества витков в электромагните идентично для каждого электромагнита. Изображенные диоды моста могут также, при необходимости, использоваться на отдельных электромагнитах с последовательно подключенными сборками электромагнита/диода.
На Фиг.10 изображена альтернативная операция локации, в которой объединенная скважина 210 бурится, по существу, параллельно целевой скважине 220. В типичном варианте изображенная группа 400 магнитов установлена в целевой скважине (перед обсадной трубой целевой скважины или за ней) и используется в качестве магнитного излучателя для операции локации. Группа 400 магнитов (Фиг.11) аналогична электромагнитной расстановки 100 в том, что по длине группы создается множество пар магнитно-противоположных полюсов NN и магнитно-противоположных полюсов SS, что, в свою очередь, приводит к созданию однородного магнитного поля вокруг целевой скважины. Группа 400 магнитов отличается от электромагнитной расстановки 100 тем, что она содержит множество постоянных магнитов 410A и 410B, установленных в немагнитном корпусе 120 (корпус 120 предпочтительно включает один или несколько центраторов 130, как описано выше). Постоянные магниты 410A и 410B расположены с промежутком друг от друга по оси и установлены, по существу, коаксиально друг к другу в корпусе 120.
Постоянные магниты 410A и 410B могут быть изготовлены, по существу, из любого подходящего магнитного материала; однако предпочтительны магниты из редкоземельных элементов, частично вследствие их высокой напряженности поля. Хорошо известно, что магниты из редкоземельных элементов изготавливают из сплавов редкоземельных элементов и в большинстве случаев считаются самыми сильными постоянными магнитами. Предпочтительно, магниты из редкоземельных элементов включают неодимовые магниты и самариево-кобальтовые магниты. Неодимовые магниты в большинстве случаев считаются самыми сильными магнитами из редкоземельных элементов и наиболее предпочтительны для применения при низкой температуре (например, меньше чем приблизительно 200°C). Самариево-кобальтовые магниты в большинстве случаев считаются вторыми самыми сильными магнитами из редкоземельных элементов и известны как имеющие высокие температуры Кюри. Поэтому самариево-кобальтовые магниты предпочтительны для применения при высокой температуре (например, больше чем приблизительно 200°C).
Преимущественная расстановка постоянных магнитов обычно включает в себя, по меньшей мере, восемь магнитов и сконфигурирована для возбуждения, по меньшей мере, четырех пар магнитно-противоположных полюсов, хотя изобретение не ограничивается в этом отношении. Как правило, варианты, имеющие большое количество расположенных с одинаковыми промежутками постоянных магнитов (например, 8 или больше), обладают тем преимуществом, что они создают сильное магнитное поле, что, в свою очередь, создает более сильное, более однородное магнитное поле вокруг обсадной колонны и, таким образом, обеспечивает более точные и надежные измерения локации. Естественно, должно быть понятно, что преимущества, присущие увеличенному количеству электромагнитов, должны быть сбалансированы по увеличению стоимости таких вариантов воплощения.
Каждый постоянный магнит 410A и 410B может преимущественно включать блок меньших магнитных дисков 412, как изображено на Фиг.12. Диски обычно (но не обязательно) имеют диаметр от двух до четырех дюймов и толщину от одного до двух дюймов. Постоянный магнит обычно включает 10 или больше дисков, хотя изобретение не ограничено в этом отношении.
Должно быть понятно, что способы активной локации, изображенные на Фиг.6 и 10, обеспечивают определенные преимущества перед описанными выше способами активной локации (например, такими, как раскрыты в патентах США 5485089 и 5589775). Например, использование электромагнитной расстановки или постоянных магнитов, создающих множество пар магнитно-противоположных полюсов, устраняет необходимость точного поперечного центрирования магнитного излучателя в целевой скважине и измерительных датчиков в буровой скважине. Это, в свою очередь, улучшает точность и увеличивает скорость операции локации.
Хотя настоящее изобретение и его преимущества описаны подробно, следует понимать, что здесь могут быть выполнены различные изменения, замены и периодические изменения без отступления от сущности и объема изобретения, как определено в прилагаемой формуле изобретения.
1. Электромагнитная расстановка, сконфигурированная для использования в подземной буровой скважине, содержащая:по существу, цилиндрический немагнитный корпус, сконфигурированный для установки в подземной буровой скважине;по меньшей мере первый, второй, третий и четвертый электромагниты, установленные в корпусе, причем электромагниты расположены с промеж
 
                         
                            


