PatentDB.ru — поиск по патентным документам

Иллюстрации к патенту 2556330

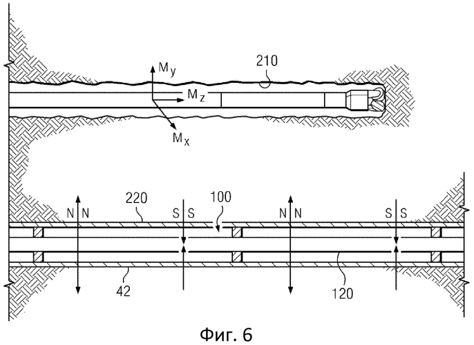
Способы усовершенствования активной локации и намагничивания целевой скважины

Способы усовершенствования активной локации и намагничивания целевой скважины (патент 2556330)