Способ формирования пазов в обсадной колонне ствола скважины
Иллюстрации
Показать всеСпособ формирования пазов в обсадной колонне ствола скважины осуществляется с помощью системы для формирования пазов и содержит обеспечение по меньшей мере одного режущего инструмента, содержащего по меньшей мере сборку кумулятивного перфорирования и сборку дискретного позиционирования, перемещение режущего инструмента в ствол скважины через транспортер, останов перемещения режущего инструмента вдоль оси ствола скважины и формирование пазов в обсадной колонне за счет приведения в действие сборки дискретного позиционирования таким образом, что сборка кумулятивного перфорирования формирует пазы в заранее установленной конфигурации в обсадной колонне. В одном из вариантов воплощения способ также содержит перемещение материала в пазы, сформированные в обсадной колонне, с целью уплотнения ствола скважины. Достигаемый результат - повышение эффективности и гибкости образования пазов при обеспечении надежности и ремонтопригодности забойного оборудования. 2 н. и 18 з.п. ф-лы, 14 ил.
Реферат
УРОВЕНЬ ТЕХНИКИ
Утверждения, приведенные в этом разделе, всего лишь предоставляют дополнительную информацию, относящуюся к настоящему изобретению, и не могут служить прототипом данному изобретению.
Настоящее изобретение относится в общем случае к оборудованию буровой площадки и ствола скважины, такому как наземное оборудование месторождения нефти, забойное оборудование и способы применительно к стволу скважины, и тому подобное.
При определенных обстоятельствах ствол скважины, содержащий установленную в нем обсадную колонну или обсадные колонны, может потребовать цементирования, т.е. обеспечения протекания цементного раствора в зону между обсадной колонной и пластом, например, с целью тампонирования и/или ликвидации скважины. Цементирование зоны между обсадной колонной и пластом облегчает работу при тампонировании, глушении и/или ликвидации скважины.
Для того чтобы осуществить цементирование ствола скважины, может оказаться желательным прорезать или сформировать пазы в нужном месте обсадной колонны при сохранении конструктивной целостности обсадной колонны. После прорезания или формирования пазов в обсадной колонне цемент может протекать в пазы и в зону между обсадной колонной и пластом, позволяя облегчить тампонирование и/или ликвидацию скважины.
Представляется желательным обеспечить улучшения в эффективности, гибкости, надежности и ремонтопригодности поверхностного и забойного оборудования буровой площадки.
СУЩНОСТЬ ИЗОБРЕТЕНИЯ
Вариант воплощения способа для формирования пазов в обсадной колонне ствола скважины содержит обеспечение по меньшей мере одного режущего инструмента, содержащего по меньшей мере сборку кумулятивного перфорирования и сборку дискретного позиционирования, перемещение режущего инструмента в ствол скважины с помощью транспортера, останов перемещения режущего инструмента вдоль оси ствола скважины и формирование пазов в обсадной колонне за счет приведения в действие сборки дискретного позиционирования таким образом, что сборка кумулятивного перфорирования формирует в обсадной колонне пазы заранее установленной конфигурации. В одном из вариантов воплощения изобретения способ также включает перемещение материала в пазы, сформированные в обсадной колонне для уплотнения ствола скважины. Материал может включать цементирующий материал. Способ может также включать глушение ствола скважины за счет перемещения материала в обсадную колонну и по меньшей мере в кольцевое пространство, расположенное вокруг обсадной колонны. В одном из вариантов воплощения изобретения останов перемещения режущего инструмента включает формирование твердого основания в стволе скважины до размещения сборки кумулятивного перфорирования в ствол скважины и соединение сборки дискретного позиционирования с твердым основанием. Твердое основание может включать по меньшей мере одну из следующих пробок: мостовую пробку, песчаную пробку, цементную пробку или их сочетания. В одном из вариантов воплощения изобретения формирование пазов включает формирование пазов в обсадной колонне без полного разделения обсадной колонны на ее отдельные части.
В одном из вариантов воплощения изобретения формирование пазов включает приведение во вращение сборки кумулятивного перфорирования за счет возвратно-поступательного перемещения сборки дискретного позиционирования, сборка дискретного позиционирования содержит наружную оболочку и внутреннюю оправку, расположенную внутри наружной оболочки, причем наружная оболочка содержит шпильку, которая входит в зацепление с винтовой канавкой, образованной в наружной поверхности оправки, и подпружиненную втулку в наружном корпусе для поджимания корпуса в верхнее положение, при этом приведение во вращение может включать приложение осевого усилия к транспортеру и сжатие пружины и, таким образом, обеспечение перемещения наружной оболочки вниз, в то время как оправка остается практически неподвижной, а шпилька входит в зацепление с канавкой и вращает сборку кумулятивного перфорирования и сборку дискретного позиционирования во время соответствующего перемещения. В одном из вариантов воплощения изобретения использовано наземное оборудование, содержащее источник гидравлической жидкости, сообщенный с режущим инструментом. В одном из вариантов воплощения изобретения перемещение режущего инструмента в ствол скважины осуществляется с помощью гибкой насосно-компрессорной трубы. В одном из вариантов воплощения изобретения формирование пазов включает формирование пазов в обсадной колонне, которые практически перпендикулярны оси режущего инструмента в стволе скважины. В одном из вариантов воплощения изобретения формирование пазов включает формирование пазов в нескольких концентрических обсадных колоннах. В одном из вариантов воплощения изобретения сборка кумулятивного перфорирования включает первую и вторую форсунки и формирование пазов включает формирование пазов с помощью первых форсунок, отключение первых форсунок, приведение в действие вторых форсунок и формирование пазов с помощью вторых форсунок.
Вариант воплощения системы для формирования пазов в обсаженном стволе скважины содержит по меньшей мере один режущий инструмент, содержащий по меньшей мере сборку кумулятивного перфорирования и сборку дискретного позиционирования, транспортер для перемещения режущего инструмента в ствол скважины и наземное оборудование, соединенное через транспортер с по меньшей мере одним режущим инструментом, причем режущий инструмент приспособлен для формирования множества отдельных пазов в заранее установленной конфигурации в обсадной колонне ствола скважины. В одном из вариантов воплощения изобретения транспортер включает гибкую насосно-компрессорную трубу. В одном из вариантов воплощения изобретения наземное оборудование включает оборудование для кумулятивного перфорирования с применением жидкости.
В одном из вариантов воплощения изобретения сборка дискретного позиционирования включает наружную оболочку и внутреннюю оправку, расположенную внутри наружной оболочки, причем наружная оболочка содержит шпильку, которая входит в зацепление с винтовой канавкой, образованной в наружной поверхности оправки, и подпружиненную втулку в наружной оболочке для поджимания оболочки в верхнее положение, причем приложение осевого усилия к транспортеру сжимает пружину, обеспечивая перемещение наружной оболочки вниз, в то время как оправка остается практически неподвижной, а шпилька входит в зацепление с канавкой и вращает сборку кумулятивного перфорирования и сборку дискретного позиционирования во время соответствующего перемещения. Режущий инструмент может также включать базовую сборку дискретного позиционирования для соединения с твердым основанием внутри ствола скважины и подшипник для обеспечения вращения сборок кумулятивного перфорирования и дискретного позиционирования. В одном из вариантов воплощения изобретения по меньшей мере один режущий инструмент содержит по меньшей мере пару корпусов форсунок для формирования пазов и по меньшей мере один центратор, расположенный между корпусами форсунок, причем по меньшей мере пара корпусов форсунок приспособлена для обеспечения возможности селективного отключения.
КРАТКОЕ ОПИСАНИЕ ЧЕРТЕЖЕЙ
Упомянутые выше, а также другие характеристики и преимущества настоящего изобретения будут более понятны из приведенного ниже подробного описания при его изучении совместно с сопроводительными чертежами, на которых показано следующее:
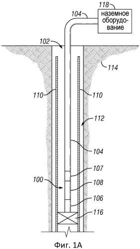
Фиг.1 - схематический разрез варианта воплощения изобретения режущего инструмента, перемещенного в ствол скважины.
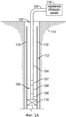
Фиг.1a - схематический разрез варианта воплощения изобретения с несколькими концентрическими обсадными колоннами.
Фиг.2a и 2b - схематические виды в перспективе варианта воплощения изобретения режущего инструмента.
Фиг.3 - схематический разрез пазов, сформированных в обсадной колонне, в варианте воплощения изобретения режущего инструмента.
Фиг.4a-4d - схематические боковые проекции варианта воплощения изобретения режущего инструмента.
Фиг.5a-5d - виды в поперечном сечении вдоль линии 5-5 на Фиг.4a-4d.
Фиг.6 - вид в поперечном сечении вдоль линии 5-5 на Фиг.4.
Фиг.7 - схематический разрез пазов, сформированных в обсадной колонне, в варианте воплощения изобретения режущего инструмента.
Фиг.8 - блок-схема варианта воплощения способа для формирования пазов в стволе скважины обсадной колонны.
ПОДРОБНОЕ ОПИСАНИЕ ИЗОБРЕТЕНИЯ
На Фиг.1 показан схематический разрез режущего инструмента или перфоратора 100. Инструмент 100 перемещается в ствол 102 скважины на транспортере 104, таком как гибкая насосно-компрессорная труба или подобном ей. Инструмент 100 включает верхнюю сборку 107 дискретного позиционирования, сборку 108 кумулятивного перфорирования и нижнюю или базовую сборку 106 дискретного позиционирования, которые ниже рассмотрены более подробно. Обсадная колонна 110 перемещается в ствол 102 скважины и образует зону или кольцевое пространство 112 между обсадной колонной 110 и пластом 114 ствола скважины. Обсадная колонна 110 может включать одну обсадную колонну, как это показано на Фиг.1, или множество обсадных колонн, как в случае множества концентрических обсадных колонн, включающих обсадную колонну 110, и по меньшей мере одну дополнительную концентрическую обсадную колонну 110a, как показано на Фиг.1a. В случае множества концентрических обсадных колонн концентрические зоны образованы между обсадными колоннами, такие как зона 113, образуемая обсадными колоннами 110 и 110a, показанными на Фиг.1a, и кольцевое пространство 112, образованное между обсадной колонной 110a и пластом ствола скважины, таким как пласт 114 ствола скважины, что будет понятно для специалистов в рассматриваемой области техники.
Транспортер или гибкая насосно-компрессорная труба 104 сообщена с соответствующим наземным оборудованием 118, таким как жидкостные насосы высокого давления, источник абразивной жидкости и/или цемента, или другое подобное устройство, что будет понятно для специалистов в рассматриваемой области техники. Инструмент 100 соответствующим образом перемещается в ствол 102 скважины, примыкающий к твердому основанию 116, такому как, не ограничиваясь перечисленным, мостовая пробка, песчаная пробка, цементная пробка или любое подходящее твердое основание 116 для приведения в действие сборки 106 дискретного позиционирования, рассматриваемой ниже более подробно. Твердое основание 116 предпочтительно формируют до введения инструмента 100 в ствол 102 скважины.
На Фиг.2a и 2b показана сборка 108 кумулятивного перфорирования инструмента, содержащая верхнюю часть 120 для присоединения к транспортеру, или к гибкой насосно-компрессорной трубе 104, или к верхней сборке 107 дискретного позиционирования и нижнюю часть 122 для присоединения к нижней или базовой сборке 106 дискретного позиционирования. Сборка 108 кумулятивного перфорирования включает верхний комплект насадок 124 и нижний комплект насадок 126. В примере, не имеющем ограничительного характера, верхний комплект насадок 124 включает три насадки 124, расположенные практически на равных расстояниях по окружности сборки 108 кумулятивного перфорирования (т.е. разнесенные приблизительно на 120° друг относительно друга по окружности сборки 108 кумулятивного перфорирования), а нижний комплект насадок 126 включает три насадки 126, расположенные на равных расстояниях по окружности сборки 108 кумулятивного перфорирования (т.е. разнесенные приблизительно на 120° друг относительно друга по окружности сборки 108 кумулятивного перфорирования). Каждый из комплектов насадок 124 и насадок 126 может располагаться на практически одинаковом расстоянии по оси вдоль сборки 108 между верхней частью 120 и нижней частью 122. Насадки 124 и насадки 126 разнесены в пространстве приблизительно на 60° по окружности сборки 108 кумулятивного перфорирования, а осевая линия 128 насадок 124 разнесена относительно осевой линии 130 насадок 126 на заранее установленное расстояние 132, указанное стрелкой. В примере, не имеющем ограничительного характера, заранее установленное расстояние 132 может составлять приблизительно 2 дюйма или приблизительно 5 сантиметров.
В варианте воплощения изобретения, представленном на Фиг.4a-5d, раскрыта сборка кумулятивного перфорирования, или инструмент 400. Инструмент 400 включает верхнюю сборку 407 дискретного позиционирования, сборку 408 кумулятивного перфорирования и нижнюю или базовую сборку 406 дискретного позиционирования. Сборка 408 кумулятивного перфорирования включает верхний корпус 424 форсунок и нижний корпус 426 форсунок, разнесенные в пространстве вдоль сборки 407 и имеющие по меньшей мере один центратор 428 (показано четыре), расположенный между корпусами 424 и 426 форсунок вдоль сборки 408 кумулятивного перфорирования. Корпусы 424 и 426 форсунок определяют совокупность форсунок 425 в них и в гидравлическом соединении с центральным каналом 430, обозначенным по длине гидравлического инструмента 400. Центраторы 428 включают корпус 432 центратора, содержащий по меньшей мере одно ребро 434, выступающее из него. Ребро или ребра 434 центраторов 428 используются для сохранения радиального выравнивания инструмента 400 и сборки 408 кумулятивного перфорирования внутри ствола скважины и обеспечения таким образом минимального радиального расстояния между обсадной колонной, такой как обсадная колонна 110, и форсунками 425, по мере движения сборки кумулятивного перфорирования и транспортера в требуемое местоположение внутри ствола 102 скважины и/или пласта 114 ствола скважины.
В гидравлическом инструменте 400 корпуса 424 и 426 форсунок образуют четыре форсунки 425, разнесенные друг от друга приблизительно на 90 градусов вдоль окружности корпусов 424 или 426 форсунок. Корпусами 424 или 426 форсунок может определяться большее или меньшее число форсунок 425. Форсунки 425 разнесены друг относительно друга на заранее установленное расстояние 427, как показано стрелкой. Расстояние 427, определяемое форсунками 425 корпуса 424 форсунок, может отличаться от расстояния 427, определяемого форсунками 425 корпуса 426 форсунок. Чтобы обеспечить установку форсунок 425 разных размеров в качестве части корпусов 424 или 426 форсунок и/или обеспечить техническое обслуживание и/или замену форсунок 425, форсунки 425 могут быть съемными вставками, представляющими собой часть сборки 408 кумулятивного перфорирования, что будет понятно для специалистов в рассматриваемой области техники
Верхняя сборка 407 дискретного позиционирования включает наружную пустотелую оболочку или корпус 436, подвижно размещенный над внутренней оправкой 438. Внутренняя оправка 438 содержит канавку 440, сформированную на ее наружной поверхности. Канавка 440 выполнена в винтовом или спиральном направлении вдоль оси по наружной поверхности оправки 438. Шпилька или шпонка 441 выступает из внутренней поверхности корпуса 436 верхней сборки 407 дискретного позиционирования и входит в зацепление с поверхностью, определяемой канавкой 440 оправки 438. Две или большее число взаимодействующих канавок 440 и шпилек 441 могут быть выполнены как часть корпуса 436 и оправки 438 верхней сборки 407 дискретного позиционирования, как, например, не ограничиваясь указанным, канавка 440 и шпилька 441, выполненные на противоположных сторонах корпуса 436 и оправки 438. Оправка 438 выступает вовнутрь и определяет часть центрального канала 430 сборки 408 кумулятивного перфорирования и нижней сборки 406 дискретного позиционирования. Втулка 442 жестко закреплена в корпусе 436 ниже по ходу потока относительно шпильки 441 и смещена пружиной 444 сжатия или подобным ей устройством смещения. Пружина 444 расположена между втулкой 442 и перемещаемой по оси частью корпуса 436, как показано на Фиг.4a и 5a.
Подшипник 446 или аналогичное ему устройство располагается на оправке 438 рядом с нижней или базовой сборкой 406 дискретного позиционирования, чтобы обеспечить вращение внутренней оправки 438, сборки 407 дискретного позиционирования, сборки 408 кумулятивного перфорирования и базовой сборки 406 дискретного позиционирования. Подшипник 446 может быть выполнен как часть сборки 448 основания и расположен между верхней частью 450 основания и нижней частью 452 основания.
При эксплуатации инструмент 100 или 400 помещается в ствол скважины, а базовая сборка 406 дискретного позиционирования перемещается в осевом направлении в ствол 102 скважины и располагается в упор или в соединении с твердым основанием 116, где невозможно вертикальное или осевое перемещение инструмента 100 или 400. Приложение дополнительного направленного вниз осевого или внутрискважинного усилия к инструменту 100 и транспортеру 104, например, за счет наземного оборудования 118 или тому подобного сжимает пружину 444 и обеспечивает перемещение корпуса 436 внутри сборки 106 дискретного позиционирования. Перемещение корпуса 436 обеспечивает перемещение шпильки 436 вдоль канавки 440, прилагая усилие к оправке 438 и таким образом вращая ее, что вызывает вращение сборки 407 дискретного позиционирования, сборки 408 кумулятивного перфорирования и базовой сборки 406 дискретного позиционирования вокруг подшипника 446 базовой сборки 406, причем сборка 407 дискретного позиционирования, сборка 408 кумулятивного перфорирования и базовая сборка 406 дискретного позиционирования остаются неподвижными в осевом направлении, т.е. не перемещаются в осевом направлении внутри ствола 102 скважины. Специалисты в рассматриваемой области техники согласятся с тем, что аналогичные способы или устройства для преобразования возвратно-поступательного осевого движения или перемещения во вращательное движение или перемещение могут использоваться для вращения сборки 407 дискретного позиционирования, сборки 408 кумулятивного перфорирования и базовой сборки 406 дискретного позиционирования.
Для формирования паза или пазов в обсадной колонне или в обсадных колоннах 110 с использованием инструмента 100 абразивная или гидравлическая жидкость протекает из наземного оборудования 118 через транспортер 104 и выбрасывается из насадок 124 и 126 сборки 108 кумулятивного перфорирования. Для вращения сборки 108 кумулятивного перфорирования к инструменту 100 и транспортеру 104 прикладывается усилие. Абразивная жидкость выбрасывается из насадок 124 и 126 и будет формировать пазы 150 и 152 в обсадной колонне 110 по мере того, как сборка 108 кумулятивного перфорирования вращается сборками 106 и 107 дискретного позиционирования, как показано на Фиг.3, причем сборки 106 и 107 дискретного позиционирования, а также сборка 108 кумулятивного перфорирования остаются неподвижными в осевом направлении.
Для формирования паза или пазов в обсадной колонне или в обсадных колоннах 110 с использованием инструмента 400 абразивная или гидравлическая жидкость протекает из наземного оборудования 118 через транспортер 104 и выбрасывается из форсунок 425 сборки 408 кумулятивного перфорирования. Для вращения сборки 408 кумулятивного перфорирования к инструменту 400 и транспортеру 104 прикладывается осевое усилие. Абразивная жидкость выбрасывается из форсунок 425 и будет формировать пазы 160 и 162 в обсадной колонне 110 при вращении сборки 408 кумулятивного перфорирования за счет сборок 406 и 407 дискретного позиционирования, как показано на Фиг.7, причем сборки 406 и 407 дискретного позиционирования, а также сборка 408 кумулятивного перфорирования остаются неподвижными в осевом направлении.
В одном из вариантов воплощения инструмента 400 верхний корпус 424 форсунок может быть бездействующим, а нижний корпус 426 форсунок может быть действующим. В таком варианте воплощения форсунки 425 корпуса 424 форсунок блокируются втулкой 446, расположенной в корпусе 424 форсунок, и поэтому не находятся в гидравлическом соединении с центральным каналом или проходным отверстием 430. Втулка 446 удерживается на месте за счет нескольких срезных шпилек 450 и стопорных винтов 448, как это видно на Фиг.6. При блокировке втулкой 446 форсунок 425 корпуса 424 форсунок жидкость выбрасывается только из форсунок 425 корпуса 426 форсунок. Для приведения в действие верхнего корпуса 424 форсунок и отключения нижнего корпуса 426 форсунок в транспортер 104 и инструмент 400 с поверхности может быть сброшен шар 429. Шар 429 соединяется с седловой частью втулки 446, блокируя поток жидкости через центральный канал 430 и обеспечивая нарастание давления на верхней по ходу потока стороне шара 429 и в корпусе 424 форсунок. При достижении заранее установленного давления срезные шпильки 450 разрушаются или срезаются, что позволяет втулке 446 двигаться вниз в корпусе 424 форсунок для возможности открытия форсунок 425 корпуса 424 форсунок в центральный канал 430. Втулка 446 может входить в зацепление с поднятым упором внутри корпуса 424 форсунок, чтобы предотвратить дальнейшее перемещение вниз втулки 446 после срезания шпилек 450. Теперь возможно выполнение операции перфорирования через форсунки 425 корпуса 424 форсунок с использованием сборок 406 и 407 дискретного позиционирования, как подробно описано выше, а дальнейшее протекание гидравлической жидкости через центральный канал 430 прекращается за счет присутствия шара 429.
Специалисты в рассматриваемой области техники согласятся с тем, что величина осевого и вращательного перемещения инструментов 100 или 400 и, следовательно, размеры сформированных пазов 150 и 152 или 160 и 162 основываются на длине и ориентации канавки 440, выполненной во внутренней оправке и, таким образом, могут варьироваться в зависимости от требований в отношении обсадной колонны или обсадных колонн 110. Поэтому, если канавка 440 имеет малую осевую длину, то соответствующие пазы 150, 152, 160 или 162 будут соответственно короткими по длине и смогут поэтому образовывать скорее индивидуальные отверстия, чем вытянутые пазы, как показано на Фиг.3 и 7, которые рассмотрены ниже более подробно.
Во время работы инструмент 100 будет формировать конфигурацию пазов 101 в обсадной колонне, как показано на Фиг.3, а инструмент 400 будет формировать конфигурацию пазов 401 в обсадной колонне, как показано на Фиг.7. Инструмент 100 может использоваться преимущественно для создания горизонтальных сквозных пазов в обсадных колоннах, таких как концентрические обсадные колонны 110 и 110a, или три обсадные колонны, или подобные им, с формированием пазов 150, 152, 160 и 162, которые могут перекрывать практически полные 360° внутренней поверхности обсадной колонны или обсадных колонн 110 или 110a без разрезания или разделения обсадной колонны 110 или 110a на ее отдельные части.
После формирования пазов 101 или 401 жидкость, такая как жидкость глушения скважины, такая как цемент или подобная ему, может протекать из соответствующего наземного оборудования, такого как наземное оборудование 118, через транспортер или гибкую насосно-компрессорную трубу 104, через пазы 150 и 152 и в пространство 112 с целью уплотнения пространства 112 между обсадной колонной 104 и пластом 114. Преимущественно инструмент 100 или 400 извлекается из ствола 102 скважины до поступления цемента или жидкости глушения скважины. Цемент может содержать, не ограничиваясь указанным, цемент, известный под торговой маркой SqueezeCRETE и доступный от корпорации Шлюмбергер, или может содержать любую соответствующую жидкость глушения скважины.
На Фиг.8 проиллюстрирован способ работы, указанный в общем случае позицией 500. Твердое основание 116, такое как мостовая пробка, песчаная пробка, цементная пробка или подобное им, формируется на этапе 502 любым соответствующим способом. На этапе 504 инструмент 100 или 400 перемещается в ствол 102 скважины на транспортере 104. На этапе 506 инструмент 100 или 400 устанавливается в упор к твердому основанию 116. На этапе 508 инструмент 100 или 400 дискретно перемещается или вращается, а абразивная или гидравлическая жидкость протекает из наземного оборудования 118 через транспортер 104 и через насадки 124, 126 или через форсунки 425 для формирования пазов 150, 152, 160 или 162. На этапе 510 жидкость глушения скважины протекает из соответствующего наземного оборудования, такого как наземное оборудование 118, через пазы 150, 152, 160 и 162 для уплотнения пространства или кольцевого пространства 112 между обсадной колонной 104 и пластом 114 и/или зоны 113 между несколькими трубами обсадной колонны 110 и 110a и, таким образом, тампонирует или глушит ствол 102 скважины.
Приведенное выше описание было представлено со ссылками на определенные иллюстративные варианты воплощения изобретения. Для специалистов в рассматриваемой области техники и технологии, к которой относится настоящее изобретение, возможно осуществление модификаций и изменений в описанных конструкциях и способах работы в объеме настоящего изобретения. Соответственно, приведенное выше описание нельзя рассматривать как относящееся только к определенным конструкциям, описанным и представленным в сопроводительных чертежах. Вместе с тем, объем применения изобретения должен определяться прилагаемой формулой изобретения или ее эквивалентами.
Конкретные варианты воплощения изобретения, раскрытые выше, являются всего лишь иллюстративными, поскольку изобретение может быть усовершенствовано и практически применено различными, но эквивалентными способами, очевидными для специалистов в рассматриваемой области техники при использовании преимущества настоящего изобретения. Кроме того, в отношении подробностей конструкции или разработки, показанной здесь, не подразумевается никаких ограничений, кроме тех, что описаны в приведенной ниже формуле изобретения. Поэтому очевидно, что конкретные варианты воплощения изобретения, раскрытые выше, могут быть усовершенствованы или модифицированы, причем все подобные изменения рассматриваются в пределах объема и сущности изобретения. В частности, каждый диапазон значений (в виде «от приблизительно a до приблизительно б», или, что эквивалентно, «приблизительно от a до б», или, что эквивалентно, «приблизительно a-б»), раскрытый здесь, должен восприниматься как относящийся к множеству (множеству всех подмножеств) соответствующего диапазона значений. Соответственно, объем изобретения определен в приведенной ниже формуле изобретения.
1. Способ формирования пазов в обсадной колонне ствола скважины, содержащий следующие стадии:обеспечение, по меньшей мере, одного режущего инструмента, содержащего, по меньшей мере, сборку кумулятивного перфорирования и сборку дискретного позиционирования;перемещение режущего инструмента в ствол скважины посредством транспортера;останов перемещения режущего инструмента вдоль оси ствола скважины; иформирование пазов в обсадной колонне путем приведения в действие сборки дискретного позиционирования для формирования сборкой кумулятивного перфорирования пазов в обсадной колонне.
2. Способ по п. 1, дополнительно содержащий прохождение материала в пазы, сформированные в обсадной колонне, для уплотнения ствола скважины.
3. Способ по п. 2, в котором материал содержит цементный материал.
4. Способ по п. 2, дополнительно содержащий глушение ствола скважины за счет перемещения материала в обсадную колонну и, по меньшей мере, в кольцевое пространство, расположенное вокруг обсадной колонны.
5. Способ по п. 1, в котором останов перемещения режущего инструмента содержит формирование твердого основания в стволе скважины до перемещения сборки кумулятивного перфорирования в ствол скважины и соединение сборки дискретного позиционирования с твердым основанием.
6. Способ по п. 5, в котором твердое основание содержит, по меньшей мере, одну из следующих пробок: мостовую пробку, песчаную пробку, цементную пробку и их комбинации.
7. Способ по п. 1, в котором формирование пазов содержит формирование пазов в обсадной колонне без полного разделения обсадной колонны на ее отдельные части.
8. Способ по п. 1, в котором формирование пазов содержит вращение сборки кумулятивного перфорирования за счет возвратно-поступательного перемещения сборки дискретного позиционирования.
9. Способ по п. 8, который содержит обеспечение сборки дискретного позиционирования, содержащей наружную оболочку, внутреннюю оправку, расположенную внутри наружной оболочки, содержащей шпильку, которая входит в зацепление с винтовой канавкой, выполненной на наружной поверхности оправки, и подпружиненную втулку в наружной оболочке для удерживания оболочки в верхнем положении, при этом вращение сборки кумулятивного перфорирования содержит приложение осевого усилия к транспортеру и сжатие пружины и, таким образом, обеспечение перемещения наружной оболочки вниз, в то время как оправка остается по существу неподвижной, причем шпилька входит в зацепление с канавкой и вращает сборку кумулятивного перфорирования и сборку дискретного позиционирования при соответствующем перемещении.
10. Способ по п. 1, который содержит обеспечение наземного оборудования, содержащего источник гидравлической жидкости, сообщенный с режущим инструментом.
11. Способ по п. 1, в котором перемещение режущего инструмента содержит перемещение режущего инструмента в ствол скважины через гибкую насосно-компрессорную трубу.
12. Способ по п. 1, в котором формирование пазов содержит формирование пазов в обсадной колонне в заранее установленной конфигурации, которые по существу перпендикулярны оси режущего инструмента в стволе скважины.
13. Способ по п. 1, в котором формирование пазов содержит формирование пазов в нескольких концентрических обсадных колоннах.
14. Способ по п. 1, в котором обеспечивают режущий инструмент со сборкой кумулятивного перфорирования, содержащей первую и вторую форсунки, при этом формирование разов содержит формирование пазов с помощью первых форсунок, отключение первых форсунок, приведение в действие вторых форсунок и формирование пазов с помощью вторых форсунок.
15. Система для формирования пазов в обсаженном стволе скважины, содержащаяпо меньшей мере, один режущий инструмент, содержащий, по меньшей мере, сборку кумулятивного перфорирования и сборку дискретного позиционирования, транспортер для перемещения режущего инструмента в ствол скважины и наземное оборудование, соединенное по текучей среде через транспортер с, по меньшей мере, одним режущим инструментом, причем режущий инструмент выполнен с возможностью формирования множества отдельных пазов в обсадной колонне ствола скважины при приведении его в действие и отдельные пазы формируются путем вращения сборки кумулятивного перфорирования с помощью возвратно-поступательного перемещения сборки дискретного позиционирования.
16. Система по п. 15, в которой транспортер содержит гибкую насосно-компрессорную трубу.
17. Система по п. 15, в которой наземное оборудование содержит оборудование для гидравлической жидкости.
18. Система по п. 15, в которой сборка дискретного позиционирования содержит наружную оболочку, внутреннюю оправку, расположенную внутри наружной оболочки, содержащей шпильку, которая входит в зацепление с винтовой канавкой, выполненной на наружной поверхности оправки, и подпружиненную втулку в наружной оболочке для удерживания оболочки в верхнем положении, при этом приложение осевого усилия к транспортеру сжимает пружину, обеспечивая перемещение наружной оболочки вниз при по существу неподвижной оправке, причем шпилька входит в зацепление с канавкой и вращает сборку кумулятивного перфорирования и сборку дискретного позиционирования при соответствующем перемещении.
19. Система по п. 18, в которой режущий инструмент дополнительно содержит базовую сборку дискретного позиционирования для соединения с твердым основанием внутри ствола скважины и подшипник для обеспечения возможности вращения сборки кумулятивного перфорирования и сборки дискретного позиционирования.
20. Система по п. 15, в которой, по меньшей мере, один режущий инструмент содержит, по меньшей мере, пару корпусов форсунок для формирования пазов и, по меньшей мере, один центратор, расположенный между корпусами форсунок, при этом, по меньшей мере, пара корпусов форсунок имеет конфигурацию, обеспечивающую селективное отключение.
 
                         
                            


