PatentDB.ru — поиск по патентным документам

Иллюстрации к патенту 2570210

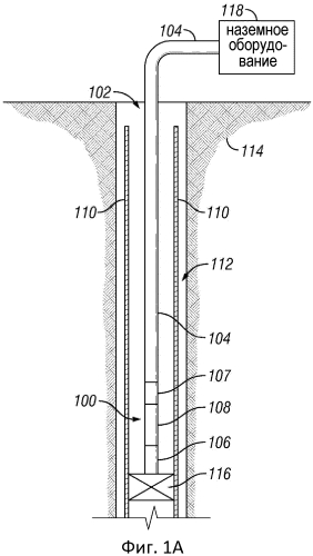
Способ формирования пазов в обсадной колонне ствола скважины

Способ формирования пазов в обсадной колонне ствола скважины (патент 2570210)