Система и способ для получения опережающих измерений в процессе операции бурения
Иллюстрации
Показать всеИзобретение относится к направленному бурению скважин, в частности к средствам каротажа удельного сопротивления пород в реальном времени. Техническим результатом является повышение точности и информативности о наборе слоев перед буровым долотом по мере перемещения компоновки низа бурильной колонны, что обеспечивает более точное управление направленным бурением. Предложены способ и система для получения опережающих измерений профиля, при этом способ включает в себя расположение излучателя энергии, такого как излучающая антенна, вблизи инструмента компоновки низа бурильной колонны. При этом один или несколько приемников энергии, таких как приемные антенны, располагают по длине компоновки низа бурильной колонны. Затем излучают энергию для выполнения опережающих сканирований относительно инструмента компоновки низа бурильной колонны. Образуют данные графика опережающего просмотра с осью x, являющейся функцией времени относительно положения инструмента компоновки низа бурильной колонны. Строят график опережающего просмотра и отображают его на дисплейном устройстве. На основании моделей геологической среды по графику опережающего просмотра можно прослеживать оцененные пластовые значения. Оцененные пластовые значения отображают ниже линии изменения во времени положения инструмента, которая является частью графика опережающего просмотра. Причем оцененные пластовые значения на графике опережающего просмотра могут быть основаны на инверсиях данных об удельном сопротивлении из опережающих сканирований. 3 н. и 17 з.п. ф-лы, 12 ил.
Реферат
Предпосылки
Геологическое сопровождение бурения горизонтальных и искривленных скважин было разработано много лет назад, когда измерения, такие как гамма-каротаж и каротаж удельного сопротивления стали возможными в реальном времени. В большей части применений ограничиваются использованием корреляции характерных особенностей на каротажной диаграмме и сравнением откликов на каротажных диаграммах из обновляемых пользователем геологических моделей с принимаемыми в реальном времени данными, по которым прослеживают подземные слои позади бурильного инструмента, такого как буровое долото. Эти данные в реальном времени, по которым прослеживают подземные слои после операции бурения, не являются наилучшим средством оценивания подземных слоев, которые находятся перед буровым долотом.
Иначе говоря, как понятно обычному специалисту в соответствующей области техники, при обычных буровых работах не используют так называемые опережающие измерения или сканирования для прогнозирования пластов, которые могут обнаруживаться перед долотом и/или инструментом.
Краткое изложение
Предложены способ и система для получения опережающих измерений профиля, при этом способ включает в себя расположение излучателя энергии, такого как излучающая антенна, вблизи инструмента компоновки низа бурильной колонны. Один или несколько приемников энергии, таких как приемные антенны, располагают по длине компоновки низа бурильной колонны. Затем излучают энергию для выполнения опережающих сканирований относительно инструмента компоновки низа бурильной колонны. Образуют данные графика модели опережающего просмотра с осью x, являющейся функций времени относительно положения инструмента компоновки низа буровой колонны.
Строят график модели опережающего просмотра и отображают его на дисплейном устройстве. По графику модели опережающего просмотра можно прослеживать оцененные пластовые значения на основании моделей геологической среды. Оцененные пластовые значения отображают ниже линии изменения во времени положения инструмента, которая является частью графика модели опережающего просмотра. Оцененные пластовые значения на графике модели опережающего просмотра могут быть основаны на инверсиях данных об удельном сопротивлении из опережающих сканирований.
Инверсии могут содержать инверсии методом Монте-Карло. Между тем, измеряемые пластовые значения из графика модели опережающего просмотра могут быть отображены выше линии изменения во времени положения инструмента на графике модели опережающего просмотра. Может быть отображен необязательный график распределения, содержащий оцененные пласты, образованный при опережающих сканированиях так, что график распределения соответствует одному положению инструмента при прослеживании в соответствии с линией изменения во времени положения инструмента на графике модели опережающего просмотра. Один или несколько сигналов тревоги могут быть образованы на основании данных графика модели опережающего просмотра при обнаружении пластов, имеющих определенный уровень вероятности.
Этим кратким изложением обеспечивается введение в набор концепций, которые дополнительно рассматриваются ниже в подробном описании. Это краткое изложение не предназначено для идентификации ключевых или существенных признаков заявленного объекта изобретения и не предназначено для использования в качестве средства для ограничения объема заявленного объекта изобретения.
Краткое описание чертежей
На чертежах различных видов одинаковые позиции относятся к аналогичным деталям, если особо не указано иное. В случае позиций с буквенным обозначением, таких как «102А» или «102В», буквенные обозначения позволяют различать две аналогичные детали или два элемента, имеющихся на одной фигуре. Буквенные обозначения при позициях могут опускаться, когда предполагается, что позицией охватываются все детали, имеющие одинаковые позиции на всех фигурах.
На чертежах:
фиг. 1А - структурная схема системы для получения опережающих измерений профиля в процессе операции бурения;
фиг. 1В - вид бурильной системы на месте расположения скважины, которая образует часть системы, показанной на фиг. 1А;
фиг. 2А - графическое изображение пользовательского интерфейса, содержащего график отношения анизотропий и график опережающего моделирования;
фиг. 2В - диаграмма, иллюстрирующая схему визуального кодирования, которую можно использовать для графика модели опережающего просмотра из фиг. 2А;
фиг. 2С - вид пользовательского интерфейса с графиком, на котором изображено распределение всех оцененных пластов, образованное в соответствии с опережающими измерениями в процессе операции бурения, который однозначно связан с графиком модели опережающего просмотра и изображением, показанным относительно длины бурильного инструмента;
фигуры 2D, 2E и 2F - диаграммы, иллюстрирующие дополнительные графики, на которых представлено распределение всех оцененных пластов, построенные в соответствии с набором опережающих измерений в процессе операции бурения;
фиг. 2G - структурная схема совокупности некоторых элементов на базе компьютера для получения опережающих измерений в процессе операции бурения;
фиг. 2Н - вид прибора каротажа удельного сопротивления, способного выполнять опережающие измерения;
фиг. 3 - блок-схема последовательности действий, иллюстрирующая способ получения опережающих измерений профиля в процессе операции бурения; и
фиг. 4 - блок-схема последовательности действий, иллюстрирующая подспособ или подпрограмму из фиг. 3 для образования данных графика опережающего моделирования с осью x, являющейся функцией положения бурильного инструмента в процессе операции бурения.
Подробное описание
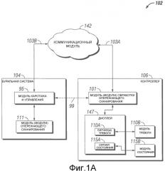
Сначала обратимся к фиг. 1А, при этом на фиг. 1А представлена структурная схема системы 102 для получения опережающих измерений профиля в процессе операции бурения. Система 102 включает в себя контроллер 106, устройство 111 опережающего сканирования и модуль (модули) 101 обработки опережающего сканирования. Дальнейшие подробности относительно устройства 111 опережающего сканирования будут описаны ниже в связи с фигурами 2А-2Н.
Кроме того, система 102 включает в себя бурильную систему 104, которая имеет модуль 95 каротажа и управления. Контроллер 106 также содержит дисплей 147 для представления информации о сигналах 110А тревоги и информации о состоянии 115А, которая выдается модулем 110В сигналов тревоги и модулем 115В состояния. Дисплей 147 соединен с модулем (модулями) 101 обработки опережающего сканирования. Контроллер 106 может быть соединен с бурильной системой 104 через посредство коммуникационной сети 142.
Контроллер 106 и бурильная система 104 могут быть связаны с коммуникационной сетью 142 по линиям 103 связи. Многие элементы системы, показанной на фиг. 1А, связаны по линиям 103 связи с коммуникационной сетью 142.
Линии 103, показанные на фиг. 1А, могут содержать проводные или беспроводные соединения или линии. Беспроводные линии включают в себя, но без ограничения ими, радиочастотные (РЧ) линии, инфракрасные линии, акустические линии и другие беспроводные среды. Коммуникационная сеть 142 может представлять собой глобальную сеть (ГС), локальную сеть (ЛС), Интернет, телефонную коммутируемую сеть общего пользования (ТКСОП), пейджинговую сеть или сочетание их. Коммуникационная сеть 142 может быть образована трансляционными радиочастотными приемопередатчиками, установленными на мачтах (непоказанных). Однако обычный специалист в соответствующей области техники должен признать, что вдобавок к трансляционным радиочастотным приемопередатчикам, установленным на мачтах, устройства связи других видов, предназначенные для образования коммуникационной сети 142, охватываются объемом этого раскрытия.
Бурильная система 104 и контроллер 106 системы 102 могут иметь радиочастотные антенны, так что с каждого элемента можно организовывать беспроводные линии 103 связи с коммуникационной сетью 142 через посредство установленных на мачтах радиочастотных приемопередатчиков (непоказанных). В качестве варианта может устанавливаться прямая связь контроллера 106 и бурильной системы 104 из системы 102 с коммуникационной сетью 142 по проводному соединению. Как показано пунктирной линией 99, в отдельных случаях контроллер 106 может находиться в прямой связи с бурильной системой 104 или контроллер 106 может находиться в непрямой связи с бурильной системой 104 при использовании коммуникационной сети 142.
Модуль (модули) 101 обработки опережающего сканирования может содержать программное обеспечение или аппаратное обеспечение (или то и другое). Модуль (модули) 101 обработки опережающего сканирования может генерировать сигналы 110А тревоги, связанные с профилями подземного пласта, которые могут воспроизводиться на дисплее 147. Сигналы 110А тревоги могут быть визуальными по характеру, но, как понятно обычному специалисту в соответствующей области техники, они также могут быть звуковыми сигналами тревоги.
Дисплей 147 может представлять собой монитор или другое визуальное устройство. Дисплей 147 может быть частью отдельного автономного портативного устройства, которое соединено с модулем 95 каротажа и управления бурильной системы 104. Как понятно обычному специалисту в соответствующей области техники, модуль 95 каротажа и управления может содержать аппаратное обеспечение или программное обеспечение (или то и другое) для непосредственного управления компоновкой низа бурильной колонны 100.
На фиг. 1В на месте расположения скважины показана бурильная система 104, которая образует часть системы 102, показанной на фиг. 1А. Место расположения скважины может находиться на суше или в море. В этой системе 104 ствол 11 скважины образуют в подземных пластах путем вращательного бурения способом, который известен обычному специалисту в соответствующей области техники. Как будет описано в дальнейшем, в вариантах осуществления системы 104 также может использоваться направленное бурение. Бурильная система 104 содержит модуль 95 каротажа и управления, рассмотренный выше в связи с фиг. 1А.
Бурильная колонна 12 подвешена в стволе 11 скважины и имеет компоновку 100 низа бурильной колонны (КНБК), которая включает в себя буровое долото 105 на нижнем конце. Наземная система включает в себя платформу и узел 10 буровой вышки, расположенный над стволом 11 скважины, при этом узел 10 включает в себя роторный стол 16, ведущую трубу 17, буровой крюк 18 и вертлюг 19. Бурильная колонна 12 вращается с помощью роторного стола 16, приводимая в действие непоказанными механизмами, с которым находится в зацеплении ведущая труба 17 на верхнем конце бурильной колонны. Бурильная колонна 12 подвешена на буровом крюке 18, прикрепленном к талевому блоку (также непоказанному) через ведущую трубу 17 и вертлюг 19, что позволяет бурильной колонне 12 вращаться относительно бурового крюка 18.
Как известно обычному специалисту в соответствующей области техники, в качестве варианта систему верхнего привода можно использовать вместо ведущей трубы 17 и роторного стола 16 для вращения бурильной колонны 12 с поверхности. Бурильная колонна 12 может быть собрана из множества трубных сегментов 125 и/или утяжеленных бурильных труб, соединенных на резьбе торец к торцу.
В варианте осуществления из фиг. 1В наземная система также включает в себя промывочную жидкость или буровой раствор 26, сохраняемый в колодце 27, образованном на месте расположения скважины. Насос 29 нагнетает буровой раствор 26 внутрь бурильной колонны 12 через отверстие в вертлюге 19, приводя к протеканию бурового раствора, как показано направленной стрелкой 8, вниз по бурильной колонне 12. Буровой раствор выходит из бурильной колонны 12 через отверстия в буровом долоте 105 и затем возвращается, как показано направленной стрелкой 9, вверх через область кольцевого пространства между наружной стороной бурильной колонны и стенкой ствола скважины. Как понятно обычному специалисту в соответствующей области техники, в этой системе буровым раствором 26 смазывается буровое долото 105 и переносятся обломки выбуренной породы на поверхность, когда он возвращается в колодец 27 для очистки и повторного использования.
В показанном варианте осуществления компоновка 100 низа бурильной колонны может включать в себя модуль 120 каротажа во время бурения (КВБ), модуль 130 измерений в процессе бурения (ИПБ), систему управления вращением и двигатель 150, а также буровое долото 105. Как известно обычному специалисту в соответствующей области техники, модуль 120 каротажа во время бурения помещают в утяжеленную бурильную трубу специального типа, и он может содержать один или множество каротажных приборов известных видов.
Кроме того, должно быть понятно, что можно использовать более одного модуля 120 каротажа во время бурения и/или модуля 130 измерений в процессе бурения, например, представленных позициями 120А и 120В. (Везде ссылки на модуль при позиции 120А также могут охватывать модуль при позиции 120В.) Модуль 120 каротажа во время бурения обладает потенциальными возможностями измерения, обработки и сохранения информации, а также связи с наземным оборудованием. В оборудовании из фиг. 1В первый модуль 120А каротажа во время бурения и второй модуль 120В каротажа во время бурения могут включать в себя приборы направленного измерения удельного сопротивления. Как должен признать обычный специалист в соответствующей области техники, пространственную компоновку и порядок следования модулей 120 каротажа во время бурения относительно других частей компоновки 100 низа бурильной колонны (КНБК) можно изменять. Как будет описано ниже в связи с фиг. 2Н, эти модули 120 каротажа во время бурения могут выполнять операции опережающих сканирований. При выполнении опережающих сканирований модули 120 каротажа во время бурения могут образовывать устройство 111 опережающего сканирования, показанное на фиг. 1А.
Как известно обычному специалисту в соответствующей области техники, модуль 130 измерений в процессе бурения также помещают в утяжеленную бурильную трубу специального типа, и он может содержать один или несколько устройств для измерения характеристик бурильной колонны 12 и бурового долота 105. Модуль 130 измерений в процессе бурения может также включать в себя установку (непоказанную) генерирования электрической энергии для компоновки 100 низа бурильной колонны.
Эта установка может включать в себя забойный турбинный генератор, приводимый в движение потоком бурового раствора 26, при этом обычному специалисту в соответствующей области техники понятно, что могут использоваться другие системы электропитания и/или батарейные системы. В варианте осуществления модуль 130 измерений в процессе бурения включает в себя один или несколько измерительных приборов следующих видов: устройство измерения нагрузки на долото, устройство измерения вращающего момента, устройство измерений вибрации, устройство измерения ударов, устройство измерения прихвата и проскальзывания, устройство измерения направления и устройство измерения угла наклона.
Приведенные выше примеры транспортировки скважинного каротажного прибора на кабеле и на бурильной колонне не следует толковать как ограничение видов транспортировки, которые могут использоваться для скважинного каротажного прибора. Можно использовать любое другое транспортировочное средство, известное специалисту в данной области техники, включая, но без ограничения ими, тросовый канат (одножильный кабель), колонну гибких труб, скважинный трактор и эксплуатационную насосно-компрессорную колонну.
Прибор направленного каротажа во время бурения (КВБ) с отсчетом глубины может включать в себя группу датчиков, которая будет описана более подробно ниже в связи с фиг. 2Н. Как понятно обычному специалисту в соответствующей области техники, группа датчиков может содержать излучающие антенны и приемные антенны. Антенны могут работать на стандартных рабочих частотах 2 МГц и 400 кГц, а также на частоте 100 кГц, что понятно обычному специалисту в соответствующей области техники.
Кроме того, прибор 120 может включать в себя магнитометры и акселерометры, которые могут выдавать для прибора опорные данные об ориентации по направлению. В дополнение к возможности определения направления прибор 120 может обеспечивать получение измерений на относительно большей глубине, чем большая часть обычных приборов 120 каротажа удельного сопротивления во время бурения. Прибор 120 может обнаруживать падение, анизотропию и границы пласта.
Осуществляемая по существу в реальном времени двунаправленная телеметрия по бурильной колонне в сочетании с возможностями описанного прибора направленного каротажа удельного сопротивления улучшает характеристику геонавигации за счет повышения количества данных на поверхности, а также скорости и точности управления направленным бурением.
В приборах 120 каротажа во время бурения из системы 120 могут выделяться наведенные электрические токи, создаваемые перед буровым долотом 105. Эти наведенные электрические токи перед буровым долотом 105 генерируются прибором 120, который также называется излучателем 420 (на фиг. 2Е), прилегающим или находящимся довольно близко к буровому долоту 105 (находящимся на расстоянии около 5 футов (1,5 м) от бурового долота 105), и анализируются на множестве приемников 425С, 425В и 425А (см. фиг. 2Е), которые, как показано на фиг. 2Е, могут быть расположены на расстоянии около тридцати футов (9,1 м), около шестидесяти футов (18,3 м) и около ста футов (30,5 м). При такой конфигурации антенн можно в реальном времени отслеживать прогнозную близость кровли коллектора с глубиной исследования до около сотни футов (30,5 м) и прекращать работу до вхождения бурового долота 105 в любые потенциально проблематичные области пласта.
В системе 102 принимаются значения удельного сопротивления, имеющегося перед буровым долотом 105, и используются инверсии для образования значений положения инструмента (см. линии 250 изменения во времени положения на фиг. 2А) и удельного сопротивления в разрезе слоев 270, в котором поясняются измеренные значения удельного сопротивления. Эта система 102 опережающего просмотра очень отличается от обычных систем. Как отмечалось ранее, в обычных системах не используются опережающие измерения или сканирования, а вместо этого просматриваются данные, собираемые позади компоновки 100 низа бурильной колонны, для прогнозирования свойств пластов, которые могут быть обнаружены перед буровым долотом 105, что понятно обычному специалисту в соответствующей области техники.
Кроме того, энергию других видов вдобавок к радиочастотной энергии можно использовать для получения опережающих измерений. Например, энергия других видов может включать в себя, но без ограничения ею, акустическую энергию. Эта акустическая энергия может распространяться при использовании частот от около 0,5 кГц до около 8,0 кГц. Энергия других видов, конкретно не указанных, включена в объем этого раскрытия.
На фиг. 2А представлено графическое изображение пользовательского интерфейса 200А, содержащего график 205 отношения анизотропий и график 210А модели опережающего просмотра, которые образованы на основании опережающих сканирований, выполненных устройством 111 опережающего сканирования. Как отмечалось ранее, устройство опережающего сканирования может содержать любой прибор 120 каротажа во время бурения, если прибор 120 осуществляет опережающие сканирования относительно бурового долота 105. В частности конфигурацией антенн прибора 120 каротажа во время бурения могут обеспечиваться измерения при различных глубинах исследования.
Инверсией этих опережающих измерений можно получать контраст удельного сопротивления пласта (модель слоистого пласта), который полностью соответствует измерению на каждой глубине замера (ГЗ) относительно компоновки 100 низа бурильной колонны. Для улучшения результатов инверсию обычно выполняют относительно диапазона (окна) измерений на глубинах замера.
При бурении компоновкой 100 низа бурильной колонны в направлении представляющей интерес области, такой как нефтеносная или сланцевая, точность вида спереди (относительно бурового долота 105) повышается, поскольку буровое долото 105 подходит ближе к представляющей интерес области. Большее количество информации становится доступным по мере приближения компоновки 100 к профилю и/или другим представляющим интерес областям. Как отмечалось выше, опережающие сканирования или опережающие измерения, выполняемые устройством 111 опережающего сканирования, могут содержать электромагнитные (ЭМ) измерения удельного сопротивления, что понятно обычному специалисту в соответствующей области техники.
На основании измерений устройством опережающего сканирования можно выявлять различные слои представляющих интерес областей, в которых каждый слой (ниже бурового долота 105) может иметь отличающееся удельное сопротивление вследствие различных химических и физических составов отдельных слоев, измеряемых перед буровым долотом 105. Как понятно обычному специалисту в соответствующей области техники, каждый слой может иметь полное горизонтальное удельное сопротивление (RH).
При использовании пользовательского интерфейса 200А можно выбирать различные разрешения, чтобы можно было намного легче обнаруживать детали измерений удельного сопротивления. Дисплей 200А позволяет наблюдать измерения вертикального удельного сопротивления (RV) и дисплей 200А позволяет оперативно изменять граничные условия, чтобы улучшать измерения удельного сопротивления. Как понятно обычному специалисту в соответствующей области техники, при использовании этого дисплея 200А можно видеть глубину погружения инструмента (компоновки 100 низа бурильной колонны) или фактическую глубину замера или другие дополнительные глубины.
На графике 210А модели опережающего просмотра из пользовательского интерфейса 200А в вертикальном направлении дан вид слоев 270 перед буровым долотом 105. В горизонтальном направлении или по оси x на графике 210А модели опережающего просмотра дано вертикальное снижение бурового долота 105 в зависимости от времени в процессе бурения слоев 270.
Линией 250 обозначается примерное положение бурового долота 105 по мере движения вперед через слои 270. Линию 250В можно назвать линией 250В изменения во времени положения бурового долота. Каждая точка 245В линии 250В изменения во времени положения бурового долота соответствует одному положению во времени (по оси x) относительно измеряемого вертикального расстояния по оси y графика 210А модели опережающего просмотра.
По мере продвижения компоновки 100 низа бурильной колонны через слои 270 представляющие интерес области перед буровым долотом 105 могут становиться более определенными и более ясными, поскольку расстояние между буровым долотом 105 и границей представляющих интерес слоев 270 сокращается. Вид спереди слоев 270, обеспечиваемый графиком 210А модели опережающего просмотра, позволяет оператору принимать решения относительно операции бурения, такие как прекращение операции бурения или измерение угла наклона или атаки относительно представляющих интерес областей.
Информация на графике 210А опережающего просмотра по мере перемещения слева направо представляет собой все более и более точную информацию об одном и том же наборе слоев. Поэтому каждый визуально кодированный столбец 240В относится к одному и тому же представляющему интерес слою (то есть, к одному и тому же пласту), причем при перемещении каждого столбца 240В направо на графике 210А точность повышается, поскольку компоновка 100 низа бурильной колонны продвигается все ближе и ближе к пласту через слои, представленные данными 270. По существу, каждый столбец 240В данных на графике 210А относится к одному и тому же пласту, но дает дополнительную информацию по сравнению с каждым столбцом, находящимся слева от конкретного рассматриваемого столбца 240В.
В варианте осуществления схемы визуального кодирования можно использовать для усиления различий между измерениями удельного сопротивления, отображаемыми на графике 210А опережающего просмотра. Такие схемы визуального кодирования могут включать в себя использование затенения градаций серого, цветового кодирования и использование различных графических символов и других аналогичных схем визуального кодирования.
В цветном варианте осуществления на графике 210А опережающего просмотра могут регистрироваться каротажные измерения удельного сопротивления, в которых определенными цветами представлены различные уровни измерений удельного сопротивления. Например, красный цвет может означать измерения повышенного удельного сопротивления, тогда как голубой цвет означает измерения низкого или пониженного удельного сопротивления. На фиг. 2А показан вариант осуществления с тоновым визуальным кодированием, но обычный специалист в соответствующей области техники должен признать, что цветовым кодированием можно легко заменить тоновое визуальное кодирование, представленное на этой фигуре.
По оси x графика 210А опережающего просмотра могут иметься около 86 точек (хотя только 66 точек показаны на фиг. 2А), которыми задаются столбцы 240В, продолжающиеся вверх и вниз относительно линии 250В изменения во времени положения, и они могут проходить параллельно оси y. Точки, показанные по оси x, могут быть рядом соответствующих чисел, что может признать обычный специалист в соответствующей области техники. Каждый столбец 240В может представлять измерения, регистрируемые и вычисляемые в бурильной системе 102. Как понятно обычному специалисту в соответствующей области техники, большее или меньшее количество столбцов 240В данных можно использовать без отступления от объема этого раскрытия.
Что касается столбца 240В, то данные 265 выше линии 250В изменения во времени положения представляют фактические данные, измеренные прибором 120 каротажа во время бурения, тогда как данные 270 ниже линии представляют данные, оцененные на основании моделей пластов, полученных на основании опережающих измерений прибором 120 каротажа во время бурения. В частности, данные 270, характеризующие пласты ниже линии 250В, представляют собой данные, оцененные на основании инверсий измерений удельного сопротивления, полученных приборами 120 каротажа в процессе бурения, что понятно обычному специалисту в соответствующей области техники.
На основании данных 270 ниже линии 250В изменения во времени положения можно прогнозировать вид слоев, через которые буровое долото 105 может проходить, когда оно достигает слоев. Точки, образующие линию 250В изменения во времени положения на левой стороне, являются точками старых данных, тогда как точки на правой стороне дисплея 200А являются точками более новых данных, собираемых устройством 111 опережающего сканирования, которое может содержать приборы 120 каротажа во время бурения.
Истинный отсчет для пласта представлен на дальней правой стороне дисплея 200А дальним правым столбцом 230В1 на графике 210А модели пласта. График 210А опережающего просмотра можно охарактеризовать как отображение прослеживания, поскольку на нем представлены данные за прошедший период, ранее вычисленные при измерениях удельного сопротивления. По мере приближения компоновки 100 низа бурильной колонны к реальному подземному пласту повышается точность измерений и соответствующих инверсий. Можно видеть, что графиком 210А опережающего просмотра представляется объект прослеживания, что позволяет оператору и/или системе определять (оценивать) качество инверсии по мере приближения к кровле коллектора.
По мере того, как кровля коллектора становится более детализированной, компоновка 100 низа бурильной колонны приближается к слою, оцениваемому с использованием опережающих измерений удельного сопротивления. В анизотропных случаях, когда инверсию выполняют относительно горизонтального удельного сопротивления (RH) и вертикального удельного сопротивления (RV), график 210А опережающего просмотра, который представляет собой отображения прослеживания RH, можно воспроизводить одновременно с графиком 205 отношения анизотропий, на котором показано RV/RH и который будет описан более подробно ниже.
Графиком 205 отношения RV/RH оператору предоставляется лучшая концепция фактической глубины и формы представляющей интерес области (которая может быть признаком пласта при обнаружении). Схемы визуального кодирования, такого как тоновое или цветное, могут помочь оператору понять качество данных, которые прослеживаются и вычисляются системой 102 при опережающих сканированиях.
На каждом из графиков 210А-210С опережающего просмотра, показанных на фигурах 2А-2С, данные выше каждой точки линии 250 изменения во времени положения содержат данные 265, которые точно измерены приборами/модулями 120 каротажа во время бурения, тогда как данные 270 ниже линии 250 представляют области, сканируемые перед буровым долотом 105, свойства которых определяют и вычисляют на основании теоретических принципов, в которых можно использовать инверсии, такие как инверсии методом Гаусса-Ньютона или Монте-Карло. Фактически, источником измерений, вычисляемых для каждой точки на линии 250 изменения во времени положения, служит излучатель 420 (см. фиг. 2Н), который в этом примере расположен приблизительно на 5 футов (1,5 м) выше бурового долота 105. Обычному специалисту в соответствующей области техники понятно, что другие расстояния между буровым долотом 105 и излучателем могут быть эффективными и при этом будут находиться в объеме этого раскрытия.
В варианте осуществления из фиг. 2А для столбцов, которые имеют светлый оттенок или белый цвет на дальней левой части графика 210А опережающего просмотра, эти более светлые оттенки могут означать, что качество инверсии данных об удельном сопротивлении является низким, а точность невысокой. По мере перехода по столбцам данных вправо на графике 210А опережающего просмотра, при котором компоновка 100 низа бурильной колонны становится ближе к пласту или представляющей интерес области, качество данных повышается, на что указывается столбцами 240, которые содержат более темные теневые сегменты, а также светлые теневые сегменты, при этом темные теневые сегменты расположены выше или поверх светлых теневых сегментов (см. в основном в областях 253 на фиг. 2А).
В этих столбцах 240, имеющих темные теневые элементы и светлые теневые элементы в многоуровневой компоновке (такой как в области 253), темные теневые элементы могут указывать на представляющую интерес область высокого удельного сопротивления, которая по всей вероятности находится в пласте. При этом светлые теневые элементы могут указывать на представляющую интерес область низкого удельного сопротивления, которая по всей вероятности отсутствует в пласте.
В левой части дисплея 200А имеется график 205 отношения анизотропий, который можно использовать для тонового визуального представления данных для пробуриваемых слоев 260. Как понятно обычному специалисту в соответствующей области техники, измерениями анизотропии обеспечивается отношение вертикального удельного сопротивления к горизонтальному удельному сопротивлению.
Вертикальное удельное сопротивление обычно больше, чем горизонтальное удельное сопротивление, и поэтому отношение вертикального удельного сопротивления к горизонтальному удельному сопротивлению больше единицы. Если горизонтальное удельное сопротивление и вертикальное удельное сопротивление равны друг другу, то сканируемый или оцениваемый слой характеризуется как изотропный.
Аналогично графику 210А опережающего просмотра график 205 отношения анизотропий также может иметь линию 250 изменения во времени положения, которая прямо соответствует линии 250В изменения во времени положения из графика 210А модели пласта. Данные 260 ниже линии 250В изменения во времени положения могут представлять слои, пробуриваемые компоновкой 100 низа бурильной колонны, тогда как данные 255 могут представлять слои, которые пройдены компоновкой 100 низа бурильной колонны и точно измерены модулями 120 каротажа во время бурения.
Что касается идентификации целевых сред, таких как нефтяные или газовые, то обычно горизонтальное удельное сопротивление считают более важным из этих двух параметров удельного сопротивления. Однако, как понятно обычному специалисту в соответствующей области техники, параметр вертикального удельного сопротивления в большей части случаев необходим для определения параметра горизонтального удельного сопротивления.
Теперь обратимся к меньшему прямоугольному графику 215 на нижней левой стороне дисплея 200А, который может обеспечивать данные о падении пласта. Падением пласта оцениваются слои пласта на основании углового сканирования в противоположность прямому продольному измерительному (180°) сканированию относительно бурового долота 105, предусмотренному для графика 205 отношения анизотропий и графика 210А опережающего просмотра. Горизонтальная ось x графика 215 согласована с осью x графика 205 отношения анизотропий. Например, столбец 240А графика 205 отношения анизотропий можно продолжить до графика 215 и осуществить пересечение с отсчетом падения пласта на графике 215 в точке 275.
На дальнем правом, меньшем прямоугольном графике 220, расположенном ниже графика 210А опережающего просмотра, можно представлять несоответствие в данных или погрешности при вычислениях инверсии, используемых для данных 270 ниже линии 250В изменения во времени положения. Как понятно обычному специалисту в соответствующей области техники, параметры, связанные с инверсией, трудно вычислять, поскольку имеется тенденция к возникновению погрешностей и допускается изменение граничных условий и оценок.
Аналогично соответствию между графиком 205 отношения анизотропий и левым, меньшим графиком 215 ось x правого, меньшего графика 220 может быть непосредственно согласована с осью x графика 210 опережающего просмотра. Например, столбец 240В графика 210А опережающего просмотра можно продолжить до графика 220 и осуществить пересечение с отсчетом несоответствия графика 220 в точке 280.
График 210А опережающего просмотра можно использовать для вертикальной скважины или искривленной скважины, в которой компоновка 100 низа бурильной колонны в конечном счете пересекает представляющий интерес пограничный слой. На основании графика 210 опережающего просмотра можно прогнозировать свойства слоев до пересечения слоев компоновкой 100 низа бурильной колонны.
Пользовательский интерфейс 200А может предоставлять оператору различные дополнительные возможности, которые можно выбирать. Например, оператор может выбирать кнопку 267А графика распределения на пользовательском интерфейсе 200А, чтобы осуществлять построение графика 400А распределения, показанного на фиг. 2С. Дополнительные подробности относительно графика 400А распределения будут описаны ниже в связи с фиг. 2С.
Теперь обратимся к фиг. 2В, на которой представлена диаграмма, иллюстрирующая схему визуального кодирования, которую можно использовать на графике 210А опережающего моделирования из фиг. 2А. Схема визуального кодирования согласно этому варианту осуществления содержит кодированные цветом столбцы С1-С5 и 230В2. Столбцом 225В дается ключ цветового кодирования или цветовая шкала. Многие части графика 210В опережающего моделирования соответствуют частям графика 210А опережающего моделирования из фиг. 2А.
Схема цветового кодирования представлена буквами, поскольку только черно-белые изображения могут быть представлены в этом раскрытии. Обычному специалисту в соответствующей области техники понятно, что реальные цвета, представляемые цветовыми кодами, могут быть представлены на обычном цветном дисплее, таком как дисплей 147 вычислительного устройства 106, которое будет описано ниже в связи с фиг. 2G.
В варианте осуществления, показанном на фиг. 2В, буквой “G” представлен зеленый цвет; буквой “R” представлен красный цвет; буквой “P” представлен пурпурный цвет; буквой “T” представлен желтовато-коричневый цвет; буквой “Y” представлен желтый цвет; буквой “B” представлен голубой цвет; буквами “Br”
 
                         
                            


