PatentDB.ru — поиск по патентным документам

Иллюстрации к патенту 2576043

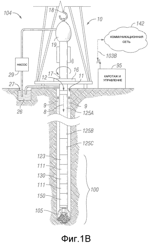
Система и способ для получения опережающих измерений в процессе операции бурения

Система и способ для получения опережающих измерений в процессе операции бурения (патент 2576043)