Способ присоединения столбика губной помады к раздаточному устройству губной помады и соответствующая машина
Иллюстрации
Показать всеИзобретение относится к способу присоединения столбика губной помады к раздаточному устройству губной помады и соответствующей машине. Способ присоединения столбика (2) губной помады к раздаточному устройству (3), причем столбик губной помады содержит дальний конец, предназначенный для губ, а раздаточное устройство содержит приемник (19) с отверстием (29) для вставки, ответным ближнему концу столбика (2). Способ включает в себя этап перемещения, на котором отверстие (29) для вставки и ближний конец (2а) столбика (2) подводят вплотную друг к другу, так что отверстие (29) для вставки по существу становится закупоренным. Способ включает этап установки, на котором столбик устанавливают в приемник (19) посредством создания отрицательного давления внутри приемника (19) при помощи вакуумного насоса (31). Обеспечивается исключение деформации столбика помады. 3 н. и 9 з.п. ф-лы, 4 ил.
Реферат
Область техники, к которой относится изобретение
Изобретение относится к способам и машинам для присоединения столбика губной помады к раздаточному устройству губной помады.
Уровень техники
Столбик губной помады обычно состоит из пасты косметического продукта, который может быть нанесен пользователем путем прижатия его к губам. Конец столбика, который располагают на губах, в общем, имеет форму, соответствующую губам. Противоположный конец столбика часто находится внутри приемника раздаточного устройства. Приемник иногда называют "гильзой", столбик губной помады называют "карандашом", а процесс присоединения карандаша внутри гильзы называют "установкой" карандаша.
В случае если столбик губной помады сделан из мягкой пасты, его установка внутри гильзы требует надавливания на тот его конец, который предназначен для губ пользователя. Прикладываемая при установке сила может деформировать этот конец, что нежелательно.
В случае если столбик губной помады сделан из твердой пасты, положение столбика губной помады относительно раздаточного устройства после вставки может измениться, что нежелательно.
В связи с этим, в документе DE 900544 описан процесс нагнетания потока сжатого воздуха для установки столбика в предназначенное ему место.
Раскрытие изобретения
Задача изобретения состоит в устранении по меньшей мере одного из вышеуказанных недостатков.
Поставленная задача решена в способе присоединения столбика губной помады к раздаточному устройству, причем столбик содержит дальний конец, предназначенный для губ, при этом раздаточное устройство содержит приемник, у которого имеется отверстие для вставки, приспособленное для того, чтобы соответствовать ближнему концу столбика. Согласно изобретению способ содержит этап перемещения, на котором к отверстию для вставки подносят ближний конец столбика, так что отверстие для вставки по существу становится закупоренным, и этап установки, на котором столбик устанавливают в приемник, благодаря отрицательному давлению, созданному внутри приемника вакуумным насосом.
Из-за отрицательного давления сила, которая должна действовать на конец столбика, прикладываемый к губам, может быть уменьшена или даже устранена. Вместо того чтобы на нее давили, столбик губной помады частично или полностью втягивают посредством отрицательного давления, созданного в приемнике. Удержание столбика в приемнике осуществляют посредством регулирования отверстия для вставки. Таким образом, можно изготавливать столбики губной помады из более мягкой пасты, чем та, что используется с обычными способами соединения, или изготавливать столбики губной помады, имеющие хрупкие контурные концы.
Приемник, преимущественно, содержит дно, к которому посредством всасывания прикладывают карандаш.
Способ преимущественно содержит этап формования, на котором формируют столбик губной помады, этап установки, перед которым выполняют этап извлечения из формы области у ближнего конца столбика.
Преимущественно столбик подают в оболочке, имеющей деформируемую стенку (например, оболочка является частью формы для столбика), и одновременно внутри приемника создают отрицательное давление, причем вакуумным насосом создают отрицательное давление на оболочке, чтобы извлечь из нее столбик.
Преимущественно используют такой приемник, который имеет внутреннюю область, сообщающуюся с внешним пространством через отверстие для вставки и через входное отверстие, причем кольцеобразная стенка приемника проходит между отверстием для вставки и входным отверстием.
Способ содержит:
- этап ограничивания внешней области приемника, которая включает в себя входное отверстие, причем камеру присоединяют к кольцеобразной стенке по существу герметично, при этом отверстие для вставки оставляют снаружи камеры, и
- этап создания отрицательного давления внутри камеры, так чтобы это отрицательное давление распространялось на внутреннюю область через входное отверстие.
Кольцеобразная стенка, преимущественно, имеет такой же внутренний профиль, что и отверстие для вставки, приспособленный для того, чтобы соответствовать столбику, чтобы столбик оставался выровненным относительно оси вставки.
В одном варианте этап установки включает в себя этап регулирования положения столбика губной помады в приемнике раздаточного устройства путем создания внутри приемника положительного или отрицательного давления относительно атмосферного давления.
Другим объектом изобретения является способ сборки раздаточного устройства губной помады, содержащий этап предварительной сборки приемника с приводным механизмом раздаточного устройства, один из вышеупомянутых способов присоединения столбика губной помады и последующего закрепления столбика губной помады, этап сборки приводного механизма с декоративным корпусом.
Декоративный корпус, преимущественно, можно собирать вдали от машины присоединения столбика губной помады. Это снижает риск того, что декоративный корпус будет поцарапан.
Еще одним объектом изобретения является машина для присоединения столбика губной помады к раздаточному устройству, причем столбик содержит дальний конец, предназначенный для губ, а раздаточное устройство содержит приемник, у которого имеется отверстие для вставки, отрегулированное для приема ближнего конца столбика.
Машина содержит:
- механизм перемещения для перемещения ближнего конца столбика к отверстию для вставки, так что отверстие для вставки по существу становится закупоренным, и
- устройство для создания такого отрицательного давления внутри приемника, чтобы установить столбик внутри приемника.
Устройство создания отрицательного давления в приемнике, преимущественно, содержит камеру, соединенную с вакуумным насосом, и устройство для установления по существу герметичного соединения камеры с приемником раздаточного устройства.
В варианте, относящемся к сборке раздаточных устройств, содержащих приводной механизм, в камере может размещаться, по меньшей мере, часть приводного механизма.
В варианте, касающемся сборки раздаточных устройств, содержащих приводной механизм, оснащенный корпусом, в котором перемещают приемник из убранного положения в выступающее положение, упомянутый корпус приспособлен для того, чтобы соответствовать приемнику в выступающем положении; при этом упомянутая машина содержит устройство для установления по существу герметичного соединения камеры с корпусом. Таким образом, по существу герметичное соединение между приемником и камерой охватывает корпус приводного механизма, соответствующий приемнику, и включает в себя по существу герметичное соединение камеры с корпусом механизма.
Машина, преимущественно, содержит установку формования столбика губной помады, имеющую съемный ограничитель для формования ближнего конца столбика и управляемый рычаг для извлечения съемного ограничителя.
Установка формования, преимущественно, содержит стенку из деформируемого материала, ограничивающую полость формы, внешнюю полость, окружающую деформируемую стенку, и средство создания вакуума во внешней полости.
Краткое описание чертежей
Изобретение станет более понятным при обращении к изложенному ниже подробному описанию нескольких вариантов осуществления, приведенных в качестве не ограничивающих примеров и проиллюстрированных на сопровождающих чертежах.
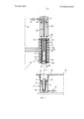
На фиг.1 показана машина для присоединения столбика губной помады к раздаточному устройству в начальном положении, после того, как был сформирован столбик, вид в продольном сечении;
на фиг.2 показана машина, изображенная на фиг.1, после отсоединения ограничителя от конца столбика, вид в продольном сечении;
на фиг.3 показана машина, изображенная на фиг.1, где представлен переход столбика губной помады из установки формования в раздаточное устройство, вид в продольном сечении;
на фиг.4 показана машина, изображенная на фиг.1, в конце цикла работы, вид в продольном сечении.
Осуществление изобретения
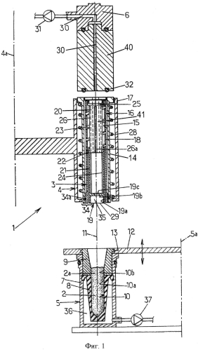
Как показано на фиг.1, машина 1 для присоединения столбика 2 губной помады к раздаточному устройству 3 включает в себя верхнюю установку 4, которая удерживает раздаточное устройство 3, и установку 5 формования, где формируют столбик 2 губной помады, а также привод, от которого показана только головка 6.
Установка 5 формования содержит раму 7, в которой расположена оболочка, имеющая стенку 8 из деформируемого материала, такого как эластомер, в частности, силикон.
Ограничитель 9 также содержится в раме 7 над деформируемой стенкой 8. Ограничитель 9 и деформируемая стенка 8 образуют полость 10 формы, в которую заливают косметический продукт, из которого будет состоять столбик 2 губной помады. Косметический продукт заполняет всю внутреннюю полость 10а деформируемой стенки 8, а также заполняет несколько миллиметров отверстия 10b в ограничителе 9.
Машина 1, преимущественно, может содержать несколько верхних установок 4, установленных на машине с возможностью поворота вокруг оси 4а, и несколько установок 5 формования, установленных на машине с возможностью поворота вокруг оси 5а, параллельной оси 4а и находящейся на некотором расстоянии от нее. Таким образом, можно ввести раздаточное устройство 3 в верхнюю установку 4 до того, как упомянутая установка будет выровнена по оси 11 с одной из установок 5 формования.
Извлекающий рычаг 12 может перемещаться вдоль оси, чтобы извлечь ограничитель 9 из рамы 7 и тем самым освободить верхний конец 2а столбика 2 губной помады.
Как показано на фиг.1 и 2, извлекающий рычаг 12 может представлять собой диск, вращающийся вокруг оси 5а и способный перемещаться вдоль этой оси, чтобы поднять ограничитель 9 за его бурт 13. Извлекающий рычаг 12 может быть повернут настолько, чтобы позволить отверстию 27 диска обеспечить свободный доступ к верхнему концу 2а столбика 2 губной помады.
Установка 5 формования также содержит внешнюю полость 36, проходящую снаружи оболочки, имеющей деформируемую стенку 8, и соединенную с вакуумным насосом 37.
Теперь будет описана верхняя установка 4. Она оснащена удерживающей головкой 14, сдвигаемой вдоль оси внутри держателя 17 под действием головки 6 привода и возвратной пружины 28. У удерживающей головки 14 имеется корпус, в котором находится приводной механизм 16 раздаточного устройства 3. Головка 6 привода может быть оборудована ограничителем 40, который позволяет верхней установке 4 настраивать различную высоту приводного механизма 16.
Приводной механизм 16 содержит корпус 18 раздаточного устройства, приемник 19 и приводную ступицу 20. Приемник 19 содержит кольцеобразную стенку 19а и дно 19b, в котором расположено отверстие 19с. Приемник 19 также содержит заднюю стенку 21, имеющую радиальное внешнее зубчатое колесо 22, перемещающееся в винтовой канавке 23 корпуса 18 раздаточного устройства. Винтовая канавка 23 может представлять собой сквозной паз, пересекающий стенку корпуса 18, или может представлять собой глухой паз. Задняя стенка 21 также содержит ребра 24, проходящие продольно вдоль задней стенки 21 и выступающие радиально во внутрь от задней стенки 21. Приводная ступица 20 имеет круговой задний паз 25, взаимодействующий с корпусом 18 раздаточного устройства, так чтобы иметь возможность вращательного движения, но при этом быть фиксированной относительно корпуса 18 раздаточного устройства. Приводная ступица 20 также содержит продольные пазы 26, ответные продольным ребрам 24 задней стенки 21. Таким образом, когда приводная ступица 20 вращается, приемник 19 двигается по спирали вдоль винтовой канавки 23. Это позволяет кольцеобразной стенке 19а и дну 19b изменять свое положение из "выступающего", показанного на фигурах, на "убранное" положение.
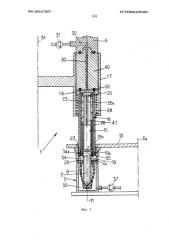
Как показано на фиг.3, верхняя установка вместе с установкой 5 формования образуют механизм 4-5 для перемещения отверстия 29 для вставки и ближнего конца 2а столбика 2 вплотную друг к другу, так чтобы отверстие 29 для вставки по существу было закупорено. Фактически, опускают головку 6 привода и регулировочный ограничитель 40, надавливают на верхнюю часть удерживающей головки 14 и ведут вниз, пока не сожмется возвратная пружина 28.
Головка 6 привода и регулировочный ограничитель 40 содержат канал 30, соединенный с вакуумным насосом 31, а тороидальное уплотнительное кольцо 32 окружает канал 30.
В одном варианте уплотнительное кольцо 32 может обеспечивать герметичное уплотнение между регулировочным ограничителем 40 и удерживающей головкой 14. Удерживающая головка 14, перекрытая ограничителем 40, образует камеру 15, содержащую основную часть механизма 16 и, в частности, основную часть приемника 19.
Удерживающая головка 14 содержит устройство 34 для установления по существу герметичного соединения камеры 15 с приемником 19. Соединительное устройство 34 содержит тороидальное уплотнение 34а, проходящее между удерживающей головкой 14 и корпусом 18 раздаточного устройства, а также проходит между кольцеобразной стенкой 19а приемника 19 и корпусом 18 раздаточного устройства 3. Таким образом, отрицательное давление, созданное вакуумным насосом 31, распространяется на камеру 15 через канал 30. Отрицательное давление в камере 15, в свою очередь, распространяется через винтовые канавки 23 и паз 26а в приводной ступице 20 на отверстие 19с.
В другом варианте механизм 16 похож на герметичную трубку с центральным отверстием 41. Затем, уплотнительное кольцо 32 прижимают к верхней части приводного механизма 16. В этом случае, камера 15, принимающая основную часть приемника 19, состоит из герметичного корпуса 18. Аналогично вышеупомянутому варианту, отрицательное давление в канале 30 распространяется через центральное отверстие 41 приводного механизма 16 на отверстие 19с.
В любом из этих вариантов кольцеобразная стенка 19а приемника 19 имеет круглый свободный конец, ограничивающий отверстие 29 в приемнике 19, предназначенное для вставки столбика 2 в приемник 19. Головка 6 привода, удерживающая головка 14 и приводной механизм 16 с резервуаром 19, находящимся в "выступающем" положении, опускают до тех пор, пока отверстие 29 не будет находиться вплотную к верхнему концу 2а столбика 2 губной помады. Это положение соответствует положению для перехода столбика 3 из установки 5 формования в приемник 19.
Когда удерживающая головка 14 находится в переходном положении, верхний конец 2а столбика 2 губной помады изолирует от внешней части область 35 внутри приемника 19, которая сообщается с вакуумным насосом 31 через отверстие 19с.
Вакуумный насос 37 установки 5 формования создает отрицательное давление во внешней полости 36. Деформируемая стенка 8 оболочки отходит от столбика 2 губной помады и освобождает столбик 2. Таким образом, отрицательное давление, созданное в области 35 внутри приемника 19, направляет столбик 2 губной помады внутрь. Всасывание столбика губной помады может осуществляться до тех пор, пока она не упрется в дно 19b приемника 19.
Отрицательные давления, созданные в приемнике 19 и внешней полости 36, могут быть установлены одно перед другим, и при этом в любом порядке, но имеется по меньшей мере один период, в который одновременно отрицательное давление в приемнике 19 оказывает всасывающее действие на столбик 2, а отрицательное давление во внешней полости 36 освобождает столбик 2, позволяя тем самым перейти из установки 5 в раздаточное устройство 3.
Как показано на фиг.4, удерживающая головка 14 поднята в положение, в котором раздаточное устройство 3, к которому присоединили столбик 2 губной помады, может быть отделено от верхней установки 4.
Понятно, что изобретение может быть реализовано с использованием установки 5 любого типа, которая может удерживать столбик 2 губной помады, освобождать конец 2а столбика и освобождать столбик 2 губной помады, когда в отверстие 29 для вставки приемника 19 по существу заделан конец 2а.
К приводному механизму 16, преимущественно, можно присоединить декоративный корпус (не показан), насаживая его на приводную ступицу 20. Этот последний этап способа сборки раздаточного устройства губной помады может быть выполнен вдали от машины 1 присоединения столбика губной помады, описанной выше. Это предотвращает царапины и допускает управление запасами по требованию.
Способ использования машины 1 для присоединения столбика губной помады особенно предпочтителен для столбиков 2 губной помады, состоящих из мягкой косметической пасты. Он также может использоваться с косметическими пастами обычной твердости, но имеющими особенно хрупкий контур там, где столбик касается губ.
В одном варианте способа присоединения удерживающую головку 14 можно опускать до тех пор, пока отверстие 29 приемника 19 не окажется на одном уровне с силиконовой стенкой 8, или до тех пор, пока конец 2а столбика 2 губной помады не достигнет дна 19с приемника 19. Можно включать вакуумный насос 31 только тогда, когда обычная установка будет деформировать столбик 2 губной помады, в частности контур конца, который прикладывают к губам.
В другом варианте машина 1 может быть использована для регулирования положения столбика губной помады в приемнике 19 раздаточного устройства путем создания в приемнике 19 положительного или отрицательного давления относительно атмосферного давления. В этом варианте канал 30 или камера 15 также может быть соединена с генератором сжатого воздуха (не показан) через управляемый трехходовой клапан.
Машина 1 может быть использована с любым приводным механизмом, имеющим отверстие 19с, выходящее в область 35 внутри приемника и не перекрываемое при начале ввода столбика 2.
Машина присоединения и формования карандаша может содержать одну верхнюю установку 4 и/или одну установку формования.
В одном варианте вакуумный насос 31 может быть соединен непосредственно с камерой 15.
1. Способ присоединения столбика (2) губной помады к раздаточному устройству (3), причем столбик содержит дальний конец, предназначенный для губ, а раздаточное устройство содержит приемник (19) с отверстием (29) для вставки, ответным ближнему концу столбика (2), причем способ содержит:- этап перемещения, на котором отверстие (29) для вставки и ближний конец (2а) столбика (2) подводят вплотную одно к другому для закупоривания отверстия (29) для вставки, и- этап установки, на котором столбик устанавливают в приемник (19) посредством создания отрицательного давления внутри приемника (19) при помощи вакуумного насоса (31).
2. Способ по п.1, содержащий этап формования, на котором формируют столбик (2) губной помады, и этап установки, перед которым выполняют этап извлечения области ближнего конца (2а) столбика (2) из формы.
3. Способ по п.1, в котором столбик удерживают внутри деформируемой стенки (8) и, одновременно с созданием отрицательного давления внутри приемника, освобождают столбик от деформируемой стенки (8) посредством другого вакуумного насоса (37).
4. Способ по п.1, в котором используют приемник (19), который имеет внутреннюю область (35), сообщающуюся с внешним пространством через отверстие (29) для вставки и через отверстие (19с), при этом кольцеобразная стенка (19а) приемника проходит между отверстием (29) для вставки и отверстием (19с), причем указанный способ содержит:- этап ограничения внешней области приемника, которая включает в себя отверстие (19с), причем камеру (15) присоединяют к кольцеобразной стенке по существу герметично, при этом отверстие (29) для вставки оставляют снаружи камеры (15), и- этап создания отрицательного давления внутри камеры (15) с возможностью распространения этого отрицательного давления во внутреннюю область (35) через отверстие (19с).
5. Способ по п.1, в котором этап установки включает в себя этап регулирования положения столбика (2) губной помады в приемнике (19) раздаточного устройства путем создания внутри приемника (19) положительного или отрицательного давления относительно атмосферного давления.
6. Способ сборки раздаточного устройства (3) губной помады, содержащий этап предварительного соединения приемника (19) с приводным механизмом (16) раздаточного устройства (3), этап присоединения столбика (2) губной помады по п.1 и после присоединения столбика губной помады этап соединения приводного механизма с декоративным корпусом.
7. Машина для присоединения столбика (2) губной помады к раздаточному устройству (3), причем столбик содержит дальний конец, предназначенный для губ, а раздаточное устройство содержит приемник (19), имеющий отверстие (29) для вставки, ответное ближнему концу столбика (2), причем указанная машина содержит:- механизм (4-5) перемещения, выполненный с возможностью перемещения отверстия (29) для вставки и ближнего конца (2а) столбика (2), подводя их вплотную одно к другому, с обеспечением по существу закупоривания отверстия (29) для вставки, и- устройство, содержащее вакуумный насос и выполненное с возможностью создания отрицательного давления внутри приемника, чтобы установить столбик (2) внутри приемника (19).
8. Машина по п.7, в которой устройство создания отрицательного давления в приемнике содержит камеру (15), соединенную с вакуумным насосом (31), и устройство (34) для установления по существу герметичного соединения камеры (15) с приемником (19) раздаточного устройства (3).
9. Машина по п.8, выполненная с возможностью сборки указанного раздаточного устройства, содержащего приводной механизм (16), причем камера (15) выполнена с возможностью приема, по меньшей мере, части приводного механизма (16).
10. Машина по п.8, выполненная с возможностью сборки раздаточного устройства, содержащего приводной механизм (16), снабженный корпусом (18), в котором приемник (19) выполнен с возможностью осевого перемещения из убранного положения в выступающее положение, причем указанный корпус (18) является ответным приемнику (19) в выступающем положении, при этом машина содержит устройство (34а) для установления по существу герметичного соединения камеры (15) с корпусом (18).
11. Машина по п.7, содержащая установку (5) формования столбика (2) губной помады, имеющую съемный ограничитель (9), выполненный с возможностью формования ближнего конца (2а) столбика (2), и управляемый рычаг (12), выполненный с возможностью извлечения съемного ограничителя (9).
12. Машина по п.11, в которой установка (5) формования содержит стенку (8) из деформируемого материала, ограничивающую полость (10) формы, внешнюю полость (36), окружающую деформируемую стенку (8), и средство (37) создания вакуума во внешней полости (36).



