PatentDB.ru — поиск по патентным документам

Иллюстрации к патенту 2587558

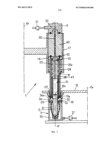
Способ присоединения столбика губной помады к раздаточному устройству губной помады и соответствующая машина

Способ присоединения столбика губной помады к раздаточному устройству губной помады и соответствующая машина (патент 2587558)