Дистанционные системы управления обувной стельки с подогревом

Иллюстрации

Показать все

Дистанционная система управления стельки с подогревом, в которой предложены адресные данные, определяющие конкретные стельки для нагрева. С момента начала процесса нагрева создают периодически повторяемые сигналы управления для нагрева стелек. 13 з.п. ф-лы, 4 ил.

Реферат

ОБЛАСТЬ ТЕХНИКИ

[0001] Настоящее изобретение относится к стелькам для обуви с подогревом на дистанционном управлении и к усовершенствованному способу управления такими стельками с подогревом, который обеспечивает более надежные средства обеспечения получения желаемой пользователем температуры.

УРОВЕНЬ ТЕХНИКИ

[0002] Настоящее изобретение относится к нагревающим обувным стелькам и к усовершенствованию способности получения желаемой температуры через беспроводные сигналы управления. Стельки с подогревом предназначены для того, чтобы помочь пользователю пережить холодную погоду посредством обеспечения дополнительного нагрева в случае, когда естественного тепла тела недостаточно или когда требуется дополнительный нагрев для большего комфорта. Когда конечность тела начинает замерзать, в теле происходит естественная физиологическая реакция вазоконстрикции, при которой нервная система ограничивает приток крови к замерзшей конечности в попытке сохранить тепло в остальном теле. Хорошо известно, что обморожение и другие повреждения, вызванные холодом, в первую очередь происходят в пальцах рук и ног вследствие вазоконстрикции, и поддержание тепла в этих конечностях поможет их гарантированному жизнеобеспечению или, по меньшей мере, более комфортному пребыванию вне помещения.

[0003] Стельки с подогревом являются ключевым компонентом для предотвращения повреждений в холодную погоду и хорошо известны охотникам и туристам как стандартные средства спасения при нахождении в лесах и лесонасаждениях. Однако существует проблема в управлении такими стельками, поскольку часто температуру стельки требуется регулировать с учетом различных условий и уровней комфорта. Стандартные способы регулирования температуры требуют от пользователя необходимости снимать свою обувь, чтобы получить доступ к стельке с целью проведения желаемых регулировок. Помимо того, что эта процедура требует много времени, вынимание ступни пользователя из обуви для обеспечения доступа к стельке выставляет ступню в холод. Указанная процедура регулирования без сомнения понижает температуру ступни еще больше, увеличивая таким образом риск повреждения.

[0004] Однако разработан улучшенный способ управления, который использует ручную систему дистанционного управления, использующую внешний по отношению к стельке передающий блок и приемный блок, расположенный в узле стельки внутри обуви. В этом случае пользователь осуществляет желаемую регулировку нагрева посредством выбора настроек нагрева на ручном дистанционном блоке, которые потом передаются по беспроводной связи на приемный блок, расположенный внутри узла стельки с подогревом. Хотя этот улучшенный способ управления являются усовершенствованием, требования к конструкции для надлежащего размещения стельки с подогревом приводят к неоптимальным условиям для беспроводного управления, что будет показано в последующем обсуждении.

[0005] Стельки с подогревом помещают в обувь нижней поверхностью по отношению к нижней части обуви, а верхней поверхностью по отношению к ступне пользователя во время использования. Размещение антенны внутри стельки осуществляют параллельно поверхности земли, а также ступне, расположенной над ней. Тем не менее, недостатком в уровне техники является ограничительное размещение антенны, что как правило запрещает прием информации, передаваемой из ручного блока в приемный блок вследствие эффекта заземления сигнала, возникающего на нижней части и на ступне пользователя, расположенной поверх антенны. Этот эффект заземления часто является достаточно мощным, чтобы задерживать информацию от передающего к приемному блоку, и следовательно, препятствует любому регулированию нагрева.

[0006] Дополнительно, особенно важно для преодоления потерь сигнала учитывать расположение радиочастотного приемника внутри обуви, находящейся в соприкосновении с землей. Известные радиоуправляемые стельки содержат проволочную антенну, расположенную вдоль средней линии стельки. Это вызывает недостатки, потому что оказывается влияние на силу сигнала. Изобретатели пришли к пониманию, что большая часть передаваемого сигнала блокируется землей и не достигает антенны приемника, расположенной в стельке. Ступни и тело пользователя также способны блокировать сигнал. Одним усовершенствованием данного изобретения является размещение антенны приемника в положении, более выгодном для приема сигнала, например, рядом с внешним краем стельки. С такой антенной прием существенно улучшается.

[0007] Настоящее изобретение содержит устройство стельки с подогревом для управления желаемой температурой стельки, которое использует частоты радиосвязи с улучшенной системой передачи. Настоящее изобретение использует стандартную частоту 433 МГц, однако также может быть использовано с другими частотами, такой как общеупотребительная частота 2,4 ГГц.

[0008] Как было описано выше, производство такого изделия как стелька требует, чтобы само по себе устройство было относительно плоским и подходило к стандартной обуви. Это требование вынуждает, чтобы необходимый источник питания, способы управления и средства связи располагались в пределах обуви и лежали в горизонтальной плоскости параллельно поверхности земли. Хотя такое ограничение пространства достигают при хорошей практике проектирования, радиосвязь страдает в основном от горизонтальной ориентации антенны, ее близости к земле и человека, стоящего над ней. Кроме того, передача на описанных выше частотах диктуется органами управления и является ограниченной передачей только до нескольких секунд в час, таким образом, понятие непрерывной передачи будет запрещено даже при энергетическом потенциале.

[0009] Настоящее изобретение также раскрывает систему и способ связи, которые помогают обеспечивать более эффективную передачу команд пользователя благодаря обеспечению множества передач через конкретные промежутки времени. Посредством дискретных рассчитанных по времени передач, выполняемых после того, как пользователь начал управление температурой, увеличивают вероятность передач, совпадающих с теми моментами, когда пользователь делает шаг и поднимает ступню. Рассчитанный по времени сигнал управления может быть подан пультом дистанционного управления или может управляться микропроцессором внутри стельки. При отсутствии соприкосновения ступни с землей расстояние между горизонтально расположенной внутри стельки антенной и поверхностью земли значительно возрастает, что приводит к увеличению диапазона приема для стельки. Вторичным явлением, имеющим место, когда ступня находится в воздухе, является снятие давления человека, который носит эту обувь, со стельки, уменьшение давления на пеноматериал между антенной и человеком на некоторое измеряемое значение. Это уменьшение давления является небольшим, однако способствует повышению успеха передачи, таким образом обеспечивая более надежный опыт использования.

[0010] Например, хорошо известно, что взрослый человек ходит со скоростью 3 мили/ч (4,8 км/ч), что равняется 4 футам/с (1,2 м/с) с длиной шага около восемнадцати дюймов (45 см). Такой шаг и темп предполагают совершение примерно 2,6 шагов каждую секунду.

[0011] Поскольку люди имеют по две ноги и чередуют их при ходьбе, то отсюда следует, что каждая ступня поднимается над землей каждые 1,3 секунды или примерно один раз в секунду.

[0012] Знание того, что каждая ступня находится над землей один раз в секунду почти на секунду, обеспечивает более надежную связь посредством осуществления передач во время нахождения ступни в воздухе, а не на поверхности земли. Передачи каждые пол секунды будут гарантировать совпадение передаваемого по радио сигнала с одновременным нахождением ступни в воздухе, доставляя, таким образом, назначенную команду к устройству стельки. Другие временные периоды могут быть выбраны в соответствии с превалирующим государственным регулированием.

[0013] Для лыжников и сноубордистов, использующих настоящее изобретение, положение ступни также меняется от чисто горизонтального к несколько вертикальной ориентации, например, когда лыжник использует края или сноубордист меняет позиции. Более того, операция нагрева может происходить, пока пользователь находится на подъемнике, что также меняет ориентацию подошвы.

[0014] Осуществляемая периодически передача последовательности кодированных сигналов через короткие промежутки времени после начала процесса нагрева стельки позволяет пользователю эффективнее передавать стельке инструкций по нагреву.

[0015] Настоящее изобретение включает пару стелек с электрическим подогревом с батарейным питанием, которые находятся в радиосвязи с радиочастотным передатчиком в виде брелока. Батарейка представляет собой литиевую ионную полимерную батарейку и снабжена собственной обычной защитной схемой. Передатчик посылает кодированный сигнал, который будет получен и декодирован уникальной парой стелек. Стельки имеют переключатель «вкл/выкл». Этот переключатель может быть поставлен в положение «вкл» перед тем, как стельку помещают в обувь.

[0016] Когда переключатель находится в положении «вкл», стелька не вырабатывает тепла, а радиочастотная система в стельке готова к принятию команд от передатчика в виде брелока. Каждая стелька имеет переключатель «вкл/выкл» и может иметь уникальный код, позволяющий нагреваться выбранным стелькам. Когда оба переключателя включены, обе стельки будут отвечать передатчику в виде брелока. Пользователь может использовать передатчик в виде брелока для выбора между режимами "без нагрева", "средний нагрев" и "сильный нагрев", нажимая на подходящую кнопку на передатчике в виде брелока. Могут быть использованы настройки, отличные от дискретных.

[0017] Когда на передатчике, выполненном в виде брелока, выбрана настройка нагрева, радиочастотный приемник в стельке определяет сигнал и, если он предназначен для определенной стельки, активирует в ней этот процесс. Микропроцессор измеряет температуру возле нагревателя, и если температура слишком низкая для выбранной настройки, ток от батарейки течет к нагревателю до тех пор, пока термистор не достигнет заданной температуры. Термистор создает сигнал, который посылают в микропроцессор. Микропроцессор контролирует протекание тока для достижения и поддержания заданной температуры до тех пор, пока пользователь не выберет другую настройку. Могут быть использованы другие способы управления нагревом в стельке.

КРАТКОЕ ОПИСАНИЕ ЧЕРТЕЖЕЙ

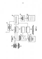
[0018] Фиг. 1 показывает блок-схему передающего блока.

[0019] Фиг. 2 показывает блок-схему электрической схемы внутри стельки.

[0020] Фиг. 3A и 3B показывают частичные виды стельки в разрезе, показывающие расположение антенны в соответствии с настоящим изобретением и предшествующим уровнем техники.

ОСУЩЕСТВЛЕНИЕ ИЗОБРЕТЕНИЯ

[0021] На Фиг. 1 изображена блок-схема передатчика 10 согласно настоящему изобретению. Передатчик включает интегральную схему S14010, соединенную с множеством нажимных кнопок 12, 14 и 16. Нажимные кнопки создают сигналы, чтобы вызвать в стельке, соответственно, сильный, средний нагрев и отсутствие нагрева. Пользователь выбирает нажимную кнопку для активации, чтобы управлять температурой стельки.

[0022] Светодиод 18 может быть соединен с передатчиком для указания на то, что передатчик осуществляет передачу и/или он включен и способен осуществить передачу. Антенна 19, соединенная с передатчиком беспроводным образом, передает электронные сигналы, возникающие в передатчике 10, на электрическую схему в стельке.

[0023] Передатчик 10 декодирует команду пользователя путем определения того, какая из нажимных кнопок выбрана, и обеспечивает возбуждение четырех пакетов информации или электрических сигналов, при этом каждый пакет содержит данные и адрес. Продолжительность пакета составляет, например, 120 мс, и все четыре пакета занимают примерно 512 мс для передачи. Чтобы убедится, что команда получена должным образом, последовательность из четырех пакетов повторяют каждые 5 секунд в течение следующей минуты в общей сложности до 20 пакетов. Это находится в пределах норм Федеральной комиссии связи (США).

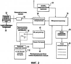
[0024] На Фиг. 2 показана электрическая схема, расположенная в стельке. Передаваемые пакеты данных принимаются и декодируются с помощью приемника 24, соединенного с микроконтроллером 26. Декодированный сигнал посылают для обработки в микроконтроллер, который создает сигнал управления для органа 28 управления нагревателя, чтобы получить условия желаемой температуры для стельки. Дополнительно, адресные данные определяют стельку, управление которой необходимо осуществить. Орган 28 управления нагревателя соединен с узлом 30 нагревателя, расположенным в стельке, для нагрева стельки до желаемой температуры. Узел нагревателя также содержит устройство для измерения температуры, такое как термистор, для определения в реальном времени температуры стельки с подогревом для определения необходимости дополнительного нагрева под управлением микроконтроллера 26.

[0025] Источником питания микроконтроллера 26 и узла 30 нагревателя является литиевая ионная полимерная батарея 32 напряжением 4,2 В, имеющая внутреннюю защитную схему 34.

[0026] Литиевую батарею 32 перезаряжают с использованием внешнего зарядного устройства 22 постоянного тока, соединенного с входными гнездами 36, расположенными внутри стельки. Таким образом, управление зарядкой осуществляется вне стельки. Ограничитель 38 напряжения соединен с выходом внешнего источника зарядки, чтобы гарантированно поддерживать напряжение, подаваемое для перезарядки батареи 32, ниже заданного уровня. Зарядка батареи осуществляется с помощью внешнего зарядного устройства для управления напряжением и током, подаваемых на батареи, а ограничитель 38 напряжения обеспечивает точное управление напряжением для оптимальной зарядки батареи. Предложен светодиод 23 с внешним зарядным устройством 22 постоянного тока для отображения статуса батареи, так что можно определить, когда батарея достаточно заряжена, и внешнее зарядное устройство может быть отключено от стелек. Схема 42 регулятора напряжения 3B предложена для обеспечения правильной работы микроконтроллера и узла нагревателя. Схема управления для системы, показанная на Фиг. 2, содержит регулятор 42 напряжения, предназначенный для управления напряжением на микроконтроллере 36.

[0027] Расположение защитной схемы 34 внутри батареи является усовершенствованием по сравнению с расположением защитной схемы снаружи литиевой батареи. Расположение защитной схемы внутри литиевой батареи является важным потому, что при коротком замыкании в батарее опасность будет предотвращена благодаря наличию в ней защитной схемы. При удаленном от литиевой батареи расположении защитной схемы невозможно предотвратить повреждения батареи от такого короткого замыкания.

[0028] При обычном использовании пользователь устанавливает переключатель 44 «вкл/выкл» в стельке в положение «вкл», чтобы напряжение батареи могло осуществлять управление размещенной в ней электрической схемой. Микроконтроллер 26 получает командный сигнал от радиочастотного приемника 24 и декодирует информацию, чтобы выяснить совпадает ли уникальный адрес с адресом стельки. Если такое совпадение установлено, микроконтроллер на основе командного сигнала затем определяет желаемые настройки нагрева. Как только настройка нагрева декодирована, микроконтроллер 26 подает регулятору 28 нагрева команду на включение нагревателя и поддержание необходимого заданного нагрева. Это продолжается до тех пор, пока пользователь не переключит переключатель «вкл/выкл» в положение «выкл» или пока не разрядится батарея. Дополнительно в передатчике имеется регулятор нагрева (Без нагрева), который также может выключать нагревательный элемент.

[0029] Настоящее изобретение содержит пару стелек с электрическим подогревом с батарейным питанием, которые связаны по радио с радиочастотным передатчиком 8 в виде брелока (см. Фиг. 1). Передатчик 10 отправляет кодированный сигнал, который может быть получен и декодирован с помощью уникальной пары стелек. Когда переключатель в стельке включен, стелька не вырабатывает тепла, а радиочастотная система в стельке готова к принятию команд от передатчика в виде брелока. Каждая стелька имеет свой переключатель «вкл/выкл». Когда включены оба переключателя, обе стельки могут ответить R/F передатчику в виде брелока в зависимости от адресных данных. Пользователь может использовать передатчик 8 в виде брелока для выбора между режимами "без нагрева", "средний нагрев" и "сильный нагрев", нажимая на подходящую кнопку на передатчике 8 в виде брелока.

[0030] Когда настройки нагрева выбраны на передатчике 8 в виде брелока, радиочастотный приемник 24 в стельке определяет сигнал и активирует микропроцессор 26. Микропроцессор 26 распознает состояние термистора, измеряющего температуру и расположенного возле нагревателя, и, если температура слишком низкая для выбранной настройки, ток от батарейки 32 протекает к нагревателю 30 до тех пор, пока термистор не достигнет заданной температуры.

Затем микропроцессор 26 уменьшает протекание тока, чтобы поддерживать заданную температуру. Температура поддерживается до тех пор, пока пользователь не выберет другую настройку.

[0031] Особенно важно учитывать расположение радиочастотного приемника внутри обуви, находящейся в соприкосновении с землей, для преодоления потерь сигнала. Известные радиоуправляемые стельки содержат проволочную антенну 40, расположенную вдоль средней линии стельки (см. Фиг. 3). Это является проблематичным, потому что не достаточно мощности сигнала. Большая часть передаваемого сигнала блокируется землей и не достигает антенны приемника, расположенной в стельке. Ступни и тело пользователя также способны блокировать сигнал. Антенна 42 приемника настоящего изобретения расположена возле внешнего края стельки (см. Фиг. 3a).

[0032] Когда пользователю требуется перезарядка батарей, стельки могут быть вынуты из обуви, а переключатели выключены. В качестве альтернативы зарядные гнезда могут быть доступны с внешней стороны обуви при соответствующей водонепроницаемой защите зарядных гнезд.

[0033] Следует понимать, что предпочтительный вариант реализации был описан с целью лучшей иллюстрации принципов изобретения и его практического применения, чтобы тем самым позволить специалисту в данной области техники использовать изобретение в различных вариантах реализации и с различными модификациями, подходящими для конкретного предусмотренного использования.

1. Система для дистанционного регулирования температуры стельки с подогревом, содержащая: электронную схему и нагревательный элемент, размещенные в стельке, причем указанная электронная схема содержит приемник, выполненный с возможностью приема беспроводных передаваемых сигналов, микропроцессор, связанный с указанным приемником и указанным нагревательным элементом, дистанционный передатчик, выполненный с возможностью передачи начального беспроводного сигнала управления на приемник при получении команды на регулирование температуры указанного нагревательного элемента, причем указанный передатчик также выполнен с возможностью автоматической передачи, после передачи начального сигнала управления, двух и более дополнительных беспроводных сигналов управления на приемник через периодические промежутки времени, при этом начальный беспроводной сигнал управления и каждый дополнительный беспроводной сигнал управления дает указание микропроцессору на выполнение одинаковой полученной команды и на регулирование температуры указанного нагревательного элемента.

2. Система по п. 1, в которой дополнительные беспроводные сигналы управления инициированы начальным беспроводным сигналом управления.

3. Система по п. 2, в которой указанный один сигнал управления включен с помощью переключателя в передатчике.

4. Система по п. 3, в которой указанный переключатель однократно нажат для начала процесса нагрева.

5. Система по п. 1, в которой обеспечена возможность периодической передачи дополнительных беспроводных сигналов управления в течение пяти минут или меньше.

6. Система по п. 5, в которой обеспечена возможность периодической передачи дополнительных беспроводных сигналов управления в течение двух минут или меньше.

7. Система по п. 5, в которой обеспечена возможность создания дополнительных беспроводных сигналов управления приблизительно каждые пятнадцать секунд.

8. Система по п. 1, в которой стелька содержит батарею, соединенную с электронной схемой.

9. Система по п. 8, в которой электронная схема в стельке дополнительно содержит ограничитель напряжения, соединенный с указанной батареей.

10. Система по п. 1, дополнительно содержащая антенну, связанную с указанной электронной схемой, причем антенна расположена на периферии стельки.

11. Система по п. 1, в которой начальные и дополнительные беспроводные сигналы управления содержат уникальные идентификационные данные стельки.

12. Система по п. 11, в которой уникальные идентификационные данные стельки содержат последовательность данных, соответствующую по меньшей мере одной стельке, подлежащей нагреву.

13. Система по п. 8, в которой ионная литиевая полимерная батарея содержит схемы безопасности, расположенные между полюсами батареи и соединительными проводами.

14. Система по п. 13, в которой батарея дополнительно содержит входные гнезда, выполненные с возможностью соединения с перезаряжающими источниками вне указанной стельки.