PatentDB.ru — поиск по патентным документам

Иллюстрации к патенту 2597584

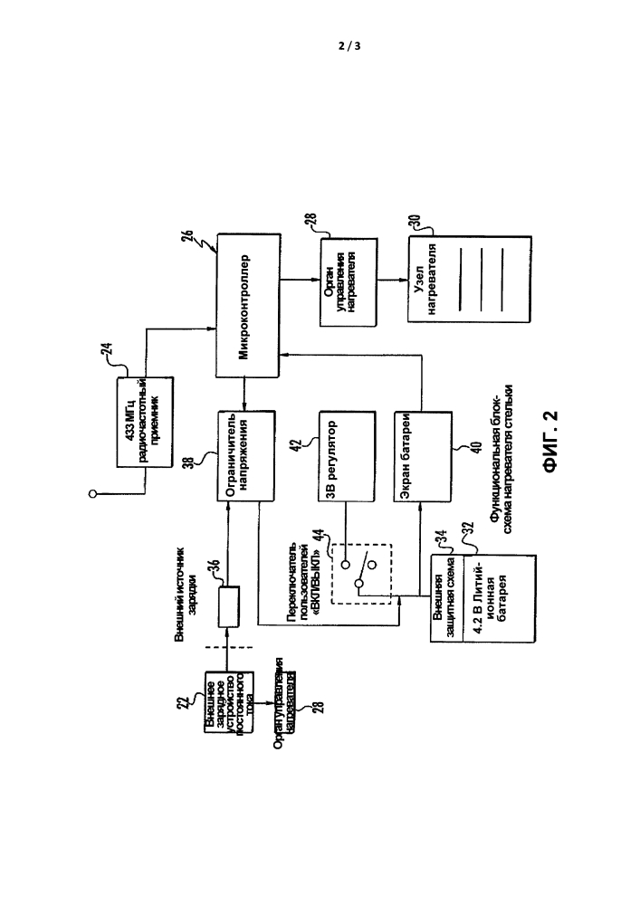
Дистанционные системы управления обувной стельки с подогревом

Дистанционные системы управления обувной стельки с подогревом (патент 2597584)