Элемент генератора, его применение и способ установки статора

Иллюстрации

Показать все

Изобретение относится к области электротехники, в частности к генераторам электричества. Технический результат - усовершенствование конструкции статора генератора. Генератор электричества содержит статор, имеющий основу, включающую кольцо или тор и множество штифтов или выступов, отходящих наружу от кольца или тора, предназначенных для жесткой установки основы статора на монтажной опоре статора, а также обмотки проводников, намотанные вокруг указанных кольца или тора. Генератор содержит также монтажную опору статора, включающую плиту основания, цапфу, прикрепленную к плите основания или выполненную заодно с ней и отходящую от нее, по меньшей мере, с одной стороны, и монтажные средства, выступающие по периферии от плиты основания, по меньшей мере, с одной стороны. Монтажные средства содержат монтажные отверстия, каждое из которых предназначено для приема одного элемента из указанного множества штифтов или выступов основы статора для жесткой установки основы статора на монтажной опоре статора. 3 н. и 14 з.п. ф-лы, 7 ил.

Реферат

Область техники, к которой относится изобретение

Изобретение относится к области генераторов электричества.

Уровень техники

Электрогенераторы хорошо известны в уровне техники. Многие генераторы содержат, по меньшей мере, один ротор и, по меньшей мере, один статор для привода постоянных магнитов в непосредственную связь со статором, содержащим обмотки проводников, причем движение магнитов относительно обмоток возбуждает ток в проводниках.

Генераторы приспособлены для использования с ветряными машинами, такими как ветряные мельницы и ветряные турбины. Примеры таких устройств описаны в WO 2007/121563, дата публикации 01.11.2007, US 12/334,333, дата подачи 12.12.2008 и US 61/289,738, дата подачи 23.12.2009. Все эти документы включены в данное описание в качестве ссылки.

Как описано в упомянутых патентных документах, некоторые генераторы, приспособленные для использования в ветряных турбинах, могут содержать, по меньшей мере, один стационарный или закрепленный статор, содержащий обмотки проводников, и один или большее число роторов, содержащих один или большее число постоянных магнитов. Вращение ротора(роторов) вызывает проход постоянных магнитов в непосредственной близости к обмоткам проводников статора(статоров), и возбуждение тока в проводниках.

В данной области существует постоянная потребность в совершенствовании конструкции статора и компонентов для изготовления генераторов, особенно пригодных для использования в ветряных турбинах. Массовое производство ветряных турбин, например, для ограниченных территорий или для обеспечения электричеством индивидуальных домов потребует дальнейшей оптимизации компонентов ветряных турбин и производственных методов.

Раскрытие изобретения

Задачей изобретения, по меньшей мере, в выбранных примерах осуществления, является создание компонента для генератора, простого в изготовлении и при монтаже в генераторе.

В определенных примерах осуществления предусмотрено изготовление основы статора для использования в качестве компонента генератора, при этом основа статора для использования в качестве компонента генератора содержит кольцо или тор для намотки на него обмоток проводников для образования статора; и два или большее число штифтов или выступов, отходящих наружу от кольца или тора для жесткого соединения статора с другими компонентами генератора.

В других определенных примерах осуществления предусмотрено изготовление кольца или тора статора, содержащего описанные и/или показанные здесь монтажные средства.

В других определенных примерах осуществления предусмотрено изготовление статора, содержащего описанную или показанную основу статора и обмотки проводников, намотанные вокруг кольца или тора статора.

В других определенных примерах осуществления предусмотрена описанная и показанная монтажная опора статора, содержащая плиту основания; цапфу, прикрепленную или выполненную заодно с плитой основания и отходящую от нее, по меньшей мере, с одной стороны; и монтажные средства, выступающие по периферии от плиты основания, по меньшей мере, с одной стороны и содержащие монтажные отверстия для приема штифта или выступа основы статора для жесткой установки основы статора на монтажной опоре статора.

В других определенных примерах осуществления предусмотрен генератор, содержащий описанный или показанный статор; описанную или показанную монтажную опору статора для жесткого крепления статора, чтобы жестко удерживать статор в фиксированном положении относительно монтажной опоры статора, причем каждый штифт или выступ основы статора проходит через монтажное отверстие в монтажных средствах монтажной опоры статора; один или большее число роторов, расположенных, по меньшей мере, на одной стороне от статора и установленных с возможностью вращения вокруг цапфы относительно статора и монтажной опоры статора вокруг оси, по существу совпадающей с главной осью статора.

В других определенных примерах осуществления предусмотрен способ изготовления описанного и показанного генератора, в котором обеспечивают описанную и показанную монтажную опору; на цапфе монтажной опоры статора факультативно устанавливают с возможностью вращения первый ротор, содержащий, по меньшей мере, один постоянный магнит, так что первый ротор может вращаться вблизи плиты основания монтажной опоры; жестко закрепляют описанный и показанный статор посредством помещения каждого штифта или выступа в отверстие монтажных средств монтажной опоры статора, при этом первый ротор, при его наличии, может вращаться между плитой основания монтажной опоры и статором; на цапфе монтажной опоры статора факультативно устанавливают с возможностью вращения второй ротор, содержащий, по меньшей мере, один постоянный магнит, так что второй ротор может вращаться вблизи статора на его стороне, противоположной положению плиты основания монтажной опоры, при этом способ включает, по меньшей мере, один из указанных факультативных этапов.

Определения

Основа статора: термин относится к базовой конструкции статора без обмоток или других компонентов или электрических подсоединений. В характерном случае она содержит кольцо или тор из материала, пригодного для статора. Основа статора может быть изготовлена из любого материала, но предпочтительными являются немагнитные материалы или материалы с низкими ферромагнитными свойствами, в том числе, но не ограничительно, нержавеющая сталь, алюминий, выбранные металлы и сплавы или полимеры, композиционные материалы, такие как углеродные композиционные материалы, стекло или эпоксидные материалы и эпоксидные композиционные материалы и т.д. Материалы низкой плотности или низкой массы иногда бывают предпочтительнее, чем плотные или тяжелые материалы.

Штифт: в данном контексте термин относится к любому выступу или шипу, выступающему наружу от основы статора для того, чтобы способствовать сборке основы статора с другими компонентами генератора. Любой штифт или выступ может быть выполнен из любого материала, но предпочтительными являются немагнитные материалы или материалы с низкими ферромагнитными свойствами, в том числе, но не ограничительно, нержавеющая сталь, алюминий, выбранные металлы и сплавы или полимеры, композиционные материалы, такие как углеродные композиционные материалы, стекло или эпоксидные материалы и эпоксидные композиционные материалы и т.д. Штифт или выступ может быть выполнен заодно с основой статора, - например, сформован в форме для кольца или тора статора, - или альтернативно он может быть прикреплен или приклеен к кольцу или тору статора, например, с помощью любых крепежных средств. В необязательном порядке он может быть установлен в выемке или в сквозной проточке, проходящей через кольцо или тор.

Растущие потребности в электричестве наблюдаются как в развитых странах, так и в развивающемся мире. Часто желательно генерирование электричества в небольших масштабах, например, для снабжения электроэнергией дома, фермы или местности путем преобразования энергии от имеющихся источников в полезную электрическую мощность. Таким образом, существует растущая потребность в широкомасштабном производстве генераторов для удовлетворения этих нужд.

Авторами была поставлена задача улучшить конструкцию и работу генератора путем разработки усовершенствованных компонентов генератора. Для этого при проявлении немалой изобретательности ими были разработаны компоненты, статоры и монтажные устройства статоров, описанные далее. Хотя, по меньшей мере, в выбранных примерах осуществления они предназначены для использования с ветряными турбинами, в конечном счете использование генераторов не ограничивается этой областью, и генераторы и их компоненты могут использоваться для преобразования любой механической силы, пригодной для привода генераторов.

Некоторые примеры осуществления относятся к основе статора в качестве компонента генератора. Выражение «основа статора» относится к любой конструкции, которая образует базу для статора до его дополнения обмотками, или другими компонентами, или электрическими подсоединениями. Так, например, в простом виде основа статора может представлять собой кольцо или тор из любого пригодного для использования в статоре материала, на который могут быть намотаны обмотки. Таким образом, в соответствии с выбранными примерами выполнения основа статора может содержать кольцо или тор для намотки на него обмоток проводников для образования статора; и два или большее число штифтов или выступов, отходящих наружу от кольца или тора для жесткого соединения основы статора с другими компонентами генератора. В необязательном порядке это могут быть три или большее число штифтов или выступов, расположенных радиально симметрично по окружности кольца или тора. Увеличение числа штифтов может улучшать фиксацию и соединение основы статора с другими компонентами генератора, как будет ясно из последующего описания.

Штифты или выступы могут иметь любую форму, конфигурацию или поперечное сечение, но в наиболее практичном и простом выполнении они имеют вид цилиндрических металлических выступов, отходящих от кольца или тора. Эти выступы имеют круглое поперечное сечение, так что они простым образом вставляются в другие компоненты генератора, например, для фиксации положения статора относительно роторов.

Независимо от формы или конфигурации штифтов или выступов они могут быть выполнены заодно с кольцом или тором, - например, предусмотрены в форме для формования кольца или тора. Альтернативно они могут быть прикреплены с помощью любых средств к основному кольцу или тору статора после его изготовления. Так, например, штифты или выступы могут быть приварены или приклеены к наружной поверхности кольца или тора или заварены, или заклеены в проточке, проходящей через кольцо или тор.

В качестве необязательного варианта каждый штифт или выступ может содержать открытую часть (видимую после того, как штифт или выступ прикреплен к кольцу или тору) и скрытую часть, которая закрепляется в выемке или в сквозной проточке, проходящей через кольцо или тор. При этом в необязательном варианте скрытая часть может иметь ширину или диаметр меньше, чем открытая часть. Это может облегчать установку каждого штифта или выступа на кольце или торе, так как диаметр или размер выемки или проточки в кольце или торе может быть ограничен таким образом, что только скрытая часть штифта или выступа (которая имеет меньший размер или диаметр по сравнению с открытой частью) может входить в выемку или проточку для образования сопряжения между штифтом / выступом и кольцом / тором.

В необязательном варианте скрытая часть каждого штифта или выступа может быть приварена к кольцу или тору с противоположной, внутренней стороны кольца или тора от открытой части, особенно в том случае, когда скрытая часть доступна со стороны внутренней поверхности в сквозной проточке, проходящей через кольцо или тор.

Однако каждый штифт или выступ может быть прикреплен к кольцу или тору с помощью любых средств, в том числе резьбовых соединений, фрикционной установки или способом клепки (включая быстрое соединение гайками или заклепочное соединение).

Каждый выступ может иметь размеры в зависимости от потребности, но в выбранных примерах выполнения он может выступать из кольца или тора на 1, 2, 5, 10, 20 или 30 см или больше, в зависимости от применения.

При любом выполнении описанной основы статора статор может быть образован, по меньшей мере, путем намотки обмоток проводников вокруг частей кольца или тора статора. В характерном случае такие обмотки могут быть намотаны без помехи открытым штифтам или выступам для их ввода в другие компоненты генератора, как это будет понятно из описания или из чертежей.

Далее, примеры выполнения относятся также к монтажной опоре для статора, которая содержит плиту основания; цапфу, прикрепленную или выполненную заодно с плитой основания и отходящую от нее, по меньшей мере, с одной стороны; и монтажные средства, выступающие по периферии от плиты основания, по меньшей мере, с одной стороны и содержащие монтажные отверстия для приема штифта или выступа основы статора для жесткой установки основы статора на монтажной опоре.

Таким образом, монтажная опора статора образует средства для встраивания описанной основы статора или статора в генератор по изобретению. Благодаря соединению или взаимодействию штифтов или выступов основы статора с монтажными средствами статор жестко закреплен в своем положении и, по меньшей мере, в значительной степени предотвращается его поворотное движение относительно монтажной опоры и других компонентов.

В необязательном варианте монтажные средства могут содержать любой выступ(выступы), обод или другие выступающие части на одной стороне на окружной периферии плиты основания, в которых может быть выполнено, по меньшей мере, одно монтажное отверстие для приема штифта или выступа статора, чтобы удерживать статор в фиксированном положении на расстоянии от плиты основания. Так, например, если монтажные средства содержат обод, отходящий от плоского тела плиты основания (или выполненный заодно с ней), то в нем могут быть выполнены два или большее число отверстий в виде сквозных проточек, проходящих через обод, при этом в характерном случае ось каждого отверстия проходит в направлении наружу от цапфы, в необязательном варианте перпендикулярно оси цапфы.

Альтернативно монтажные средства могут содержать две или большее число монтажных стоек, отходящих от периферии плиты основания, в необязательном варианте на равных расстояниях от цапфы. Так, например, монтажные стойки могут быть прикреплены к плите основания по круговой схеме вокруг цапфы, так что статор может удерживаться в своем положении концентрично цапфе с помощью штифтов, проходящих в отверстия монтажных стоек.

Однако эти примеры выполнения монтажных средств не являются ограничительными, и описанные здесь монтажные средства могут содержать любой элемент, отходящий от плиты основания и снабженный монтажным отверстием для приема штифта или выступа статора для удержания статора в его положении.

В необязательном варианте монтажные средства или монтажные стойки выполнены подвижными в осевом направлении относительно плиты основания, чтобы регулировать положение каждого отверстия относительно плиты основания, так что в при установке на монтажной опоре положение основы статора может быть отрегулировано относительно плиты основания или относительно ротора или роторов, установленных с возможностью вращения на цапфе.

В следующих примерах выполнения предусмотрен генератор, содержащий описанный или показанный статор; описанную или показанную монтажную опору статора для жесткого крепления статора, чтобы жестко удерживать статор в фиксированном положении относительно монтажной опоры статора, причем каждый штифт или выступ основы статора проходит через монтажное отверстие в монтажных средствах монтажной опоры статора; один или большее число роторов, расположенных, по меньшей мере, на одной стороне от статора и установленных с возможностью вращения вокруг цапфы относительно статора и монтажной опоры статора вокруг оси, по существу совпадающей с главной осью статора.

В необязательном варианте генератор содержит два ротора, установленных с возможностью вращения на противоположных сторонах от статора, так что постоянные магниты каждого ротора возбуждают ток в проводниках ротора, когда ротор вращается вокруг цапфы относительно статора. Таким образом, генератор может содержать два ротора с заключенным между ними неподвижным статором, но с соответствующим зазором для индукции тока в обмотках проводников статора при вращении вокруг цапфы роторов и их постоянных магнитов.

Описанный генератор может взаимодействовать с любыми средствами, компонентами или устройствами для получения или использования механической силы для вращения роторов, вызывающего генерирование тока. Так, например, роторы могут быть непосредственно соединены с лопастями ветряной или водяной турбины для использования кинетической энергии ветрового или водного потока для привода роторов во вращение. Дальнейшие примеры осуществления охватывают все такие устройства и турбины. Так, определенные примеры осуществления предусматривают ветряную турбину, содержащую описанный генератор и одну или большее число взаимодействующих с ветром поверхностей, которые перемещаются под действием ветрового потока, при этом взаимодействующие с ветром поверхности функционально соединены с роторами для обеспечения вращения роторов и генерирования электричества.

Краткое описание графических материалов

Далее со ссылками на прилагаемые чертежи будут описаны примеры осуществления изобретения, которые только иллюстрируют существенные и необязательные признаки и не ограничивают объема защиты изобретения, определенного пунктами формулы изобретения.

фиг.1А изображает пример выполнения основы статора,

фиг.1В изображает пример выполнения статора,

фиг.2 изображает пример выполнения монтажной опоры статора,

фиг.3 изображает пример выполнения генератора в разобранном виде,

фиг.4 изображает пример выполнения генератора в сборе,

фиг.5 иллюстрирует пример осуществления способа изготовления

генератора,

фиг.6 иллюстрирует пример осуществления способа генерирования электричества с использованием генератора.

Осуществление изобретения

На фиг.1А показан пример выполнения основы статора, которая обозначена в целом позицией 10 и содержит кольцо или тор 11 и множество штифтов или выступов 12. Хотя штифты или выступы 12 показаны равномерно разнесенными и отходящими наружу от кольца или тора 11, их расположение может быть нерегулярным. На фиг.1А этого не показано, но в необязательном варианте выполнения штифты 12 могут отходить от кольца или тора 11 как наружу, так и внутрь. В качестве примера штифты или выступы 12 могут быть прикреплены к кольцу или тору 12 в сквозных проточках, просверленных в торе или выполненных в нем при формовании, так что штифты или выступы выходят из обеих точек каждой проточки. Далее, хотя штифты или выступы 12 показаны в виде цилиндров круглого поперечного сечения, они могут быть любой формы или конфигурации с постоянным или переменным профилем поперечного сечения.

На фиг.1В показана та же основа 10 статора, что и на фиг.1А за исключением того, что вокруг кольца или тора 11 намотаны проводники 13, оставляющие по существу открытыми штифты или выступы 12, которые выступают за намотанные проводники. При этом образован статор, обозначенный в целом позицией 14. Хотя на фиг.1В этого не показано, статор описанного типа может дополнительно содержать оболочку какого-либо вида (например, пластмассовую или пленочную оболочку), намотанную или укрепленную поверх проводников 13 для того, чтобы способствовать удержанию обмоток на основе 10 статора. Дополнительные компоненты могут включать проводник или пучки проводников (также не показаны), отходящие от проводников 13 для передачи электрического тока, генерируемого в проводниках 13, в другое место или к аккумуляторному устройству.

На фиг.2 показан пример выполнения монтажной опоры статора, обозначенной в целом позицией 20. Монтажная опора статора содержит плиту 21 основания и отходящую по существу от центра плиты основания цапфу 22, которая может быть выполнена заодно с плитой 21 основания или прикреплена к ней. Далее, монтажная опора содержит монтажные средства. В данном примере они выполнены в виде монтажных стоек 23, каждая из которых отходит от плиты 21 основания на той же стороне, что и цапфа 22. Каждая монтажная стойка 23 имеет приемное отверстие 24 для штифта или выступа. Каждое приемное отверстие 24 расположено таким образом, что при установке статора 14 на монтажной опоре 20 статора в него входит один штифт или выступ 12 статора 14, как это будет ясно из последующего описания. В необязательном варианте каждая монтажная стойка 23 содержит средства осевого перемещения (не показаны), которые обеспечивают возможность осевого перемещения каждой монтажной стойки для изменения расстояния от приемного отверстия 24 до плиты 21 основания (например, каждая монтажная стойка может быть соединена с плитой 21 основания винтовым соединением). Причины для этого предпочтительного признака будут пояснены дальше.

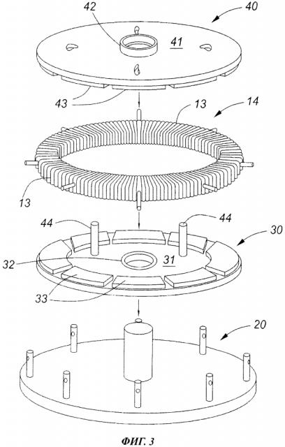
На фиг.3 показан пример выполнения генератора. На фиг.3 показан ротор, обозначенный в целом позицией 30 и содержащий инерционное колесо 31 с подшипником 32 в центре. Часть ротора образована комплектом постоянных магнитов 33, расположенных в целом по окружности в наружной области ротора. Диаметр ротора 30 меньше диаметра монтажной опоры 20 ротора (или, по меньшей мере, расстановка и расположение монтажных стоек 23 позволяет вместить между ними ротор 30), так что подшипник 32 ротора может быть помещен на цапфе 22 близко к плите основания монтажной опоры 20 для вращения вокруг цапфы без помех со стороны монтажных стоек 23.

На фиг.3 (а также на фиг.4, показывающей генератор в сборе) также показана установка на монтажной опоре 20 статора 14, содержащего основу 10 статора и обмотки проводников 13. В этом примере осуществления статор 14 прикрепляют к монтажной опоре 20 путем ввода штифтов или выступов 12 статора 14 в приемные отверстия 24 монтажных стоек 23 монтажной опоры 20 статора. При этом монтажные стойки расположены по существу в соответствии с положениями подлежащего установке статора. Таким путем статор 14 и монтажная опора 20 статора эффективно запираются в своем положении, так что не имеют возможности перемещаться или поворачиваться относительно друг друга. Как показано на фиг.3 и 4, ротор 30 эффективно заключен между плитой 21 основания монтажной опоры 20 статора и нижней стороной статора 14. Регулировка монтажных стоек 24 с помощью винтовых соединений (не показаны) с плитой 21 основания позволяет немного поднимать или опускать статор 14 относительно монтажной опоры статора, так что зазор между постоянными магнитами 33 ротора 30 и проводниками 13 статора 14 может быть отрегулирован для оптимальной работы генератора во время вращения ротора 30.

На фиг.3 показано также дополнение генератора вторым ротором, обозначенным в целом позицией 40. Для целей этого примера осуществления ротор 40 по существу идентичен ротору 30 и содержит инерционное колесо 41 с подшипником 42 и комплект постоянных магнитов 43, расположенных на периферии инерционного колеса 41. Однако в отличие от ротора 30 ротор 40 устанавливают на цапфе 33 монтажной опоры 20 статора в перевернутом положении по отношению к ротору 30. При этом постоянные магниты 43 обращены к статору 14 таким образом, что во время вращения ротора 40 между постоянными магнитами 43 и проводниками 13 имеется небольшой зазор.

На фиг.4 генератор по фиг.3 показан в сборе. Следует отметить, что статор 14 эффективно заключен между роторами 30 и 40, при этом роторы 30 и 40 могут вращаться вокруг цапфы 22 на подшипниках 32 и 42. Однако монтажная опора 20 и статор 14 эффективно скреплены друг с другом с помощью штифтов или выступов 12 и монтажных стоек 23. Вращение роторов 30 и 40 и, в частности, близкий проход постоянных магнитов 33 и 43 вблизи проводников 13 статора возбуждает в проводниках 13 полезный электрический ток.

Роторы 30 и 40 могут свободно вращаться на своих подшипниках на цапфе 22 относительно друг друга. Так, например, при практическом использовании лопасти ветряной турбины могут быть функционально соединены с роторами непосредственно или с помощью промежуточных средств таким образом, что роторы вращаются в противоположных направлениях, когда лопасти подвергаются воздействию ветрового потока. Однако в других примерах осуществления может быть желательно вращение роторов 30 и 40 в одном направлении при воздействии ветрового потока на лопасти турбины и связанный с ними генератор. Даже если роторы вращаются в одном направлении, тем не менее они имеют свободу вращения относительно друг друга, так что они могут, например, при работе генератора вращаться с различными скоростями.

Однако в следующем, другом примере осуществления роторы могут быть соединены друг с другом, так что при работе генератора они должны вращаться в одном направлении с одинаковой скоростью. Это может быть желательно для повышения вращательной инерции, что может способствовать запуску ветряной турбины в ветровом потоке или предотвращать остановку турбины при спаде ветрового потока. Соответственно, на фиг.3 показаны средства для соединения роторов 30 и 40, так что они вращаются вокруг цапфы 22 в одном направлении и с одинаковой скоростью. Показаны распорные элементы 44, предназначенные для прохода через зазор между инерционными колесами 31 и 41 роторов 30 и 40 и для болтового или другого жесткого соединения инерционных колес. При этом, хотя инерционные колеса 31 и 41 могут свободно вращаться, особенно под действием внешней механической силы, например, получаемой от лопастей ветряной турбины, они зафиксированы от относительного вращения и должны вращаться вокруг цапфы 22 вместе в одном направлении и с одинаковой скоростью.

В примере по фиг.3 показаны два распорных элемента, прикрепленных к инерционным колесам 31 и 41 на тех же сторонах, что и постоянные магниты 33 и 43, но ближе к центру инерционного колеса и к цапфе 22. При этом распорные элементы 44 проходят через кольцо или тор статора 14 и при работе генератора вращаются во внутреннем пространстве кольца или тора статора, не мешая физическим соединениям между статором 14 и монтажной опорой 20 посредством штифтов 12 и монтажных стоек 23. В зависимости от желания может использоваться один или множество распорных элементов 44. Следует заметить, что на фиг.4 распорные элементы 44 закрыты другими компонентами и не видны.

Хотя в примерах выполнения по фиг.1-4 показаны генератор и его компоненты, которые включают один статор и два ротора, в рамках изобретения возможны другие примеры выполнения с использованием одного статора и одного ротора или множества статоров и множества роторов в одном генераторе. В любом из этих примеров выполнения множество роторов или некоторые из них могут быть соединены друг с другом посредством описанных распорных элементов.

Далее, показанный на чертежах генератор может содержать дополнительные компоненты, не показанные в целях простоты и наглядности показанных компонентов. Так, например, проводники или пучки проводников могут отходить от статора для передачи электрического тока от проводников 13 к месту использования или аккумулирования электроэнергии.

Следующие примеры осуществления иллюстрируют способ изготовления описанного и/или показанного генератора в соответствии с фиг.5. Как показано на схеме, способ включает этапы: на этапе 100 обеспечивают описанную и/или показанную монтажную опору статора; на факультативном этапе 101 на цапфе монтажной опоры статора устанавливают с возможностью вращения первый ротор, содержащий, по меньшей мере, один постоянный магнит, так что первый ротор может вращаться вблизи плиты основания монтажной опоры; на этапе 102 жестко закрепляют описанный и/или показанный статор, посредством того, что каждый штифт или выступ помещают в отверстие монтажной стойки монтажной опоры статора, при этом первый ротор, при его наличии, может вращаться между плитой основания монтажной опоры и статором; на факультативном этапе 103 на цапфе монтажной опоры статора устанавливают с возможностью вращения второй ротор, содержащий, по меньшей мере, один постоянный магнит, так что второй ротор может вращаться вблизи статора на его стороне, противоположной положению плиты основания монтажной опоры, при этом способ включает, по меньшей мере, один из указанных факультативных этапов.

В необязательном варианте осуществления способ включает оба факультативных этапа с получением генератора, показанного в качестве примера на фиг.4.

Следующий способ проиллюстрирован в качестве примера осуществления на фиг.6. Способ включает: на этапе 110 изготавливают описанный и/или показанный генератор; на этапе 111 функционально подсоединяют каждый ротор к источнику механической энергии для привода во вращение каждого ротора

В необязательном порядке этап подсоединения включает этапы: каждый ротор соединяют с лопастью ветряной турбины непосредственно или с помощью промежуточных средств; открывают лопасть(лопасти) турбины для воздействия на нее ветрового потока для обеспечения приводного движения лопасти(лопастей) и вращения каждого ротора.

Приложенные чертежи предназначены для иллюстрации описанных выбранных признаков. К чертежам даны пояснения по конструктивным особенностям основы статора, статора, монтажных средств для них и генератора по изобретению. Однако описаны лишь примеры осуществления для иллюстрации предпочтительных или необязательных признаков изобретения. Изобретение не ограничивается ни данными примерами осуществления, ни пунктами формулы изобретения, его сфера действия охватывает также другие примеры осуществления и признаки как описанные и проиллюстрированные, так и производные от них.

1. Генератор электричества, содержащий:статор, имеющий:основу, которая содержиткольцо или тор,и множество штифтов или выступов, отходящих наружу от кольца или тора, предназначенных для жесткой установки основы статора на монтажной опоре статора;и обмотки проводников, намотанные вокруг указанных кольца или тора;и монтажную опору статора, содержащую:плиту основания;цапфу, прикрепленную к плите основания или выполненную заодно с ней и отходящую от нее, по меньшей мере, с одной стороны;и монтажные средства, выступающие по периферии от плиты основания, по меньшей мере, с одной стороны и содержащие монтажные отверстия, каждое из которых предназначено для приема одного элемента из указанного множества штифтов или выступов основы статора, для жесткой установки основы статора на монтажной опоре статора.

2. Генератор по п. 1, отличающийся тем, что монтажные средства содержат две или более монтажных стоек, отходящих от периферии плиты основания, причем в каждой стойке выполнено одно монтажное отверстие из указанных монтажных отверстий.

3. Генератор по п. 2, отличающийся тем, что каждая из указанных двух или более монтажных стоек отходит от плиты основания на равных расстояниях от цапфы.

4. Генератор по п. 3, отличающийся тем, что указанные две или более монтажные стойки выполнены подвижными в осевом направлении относительно плиты основания, чтобы регулировать положение каждого монтажного отверстия каждой из указанных двух или более монтажных стоек относительно плиты основания, так что при установке на монтажной опоре положение основы статора становится отрегулированным относительно плиты основания или относительно ротора или роторов, установленных с возможностью вращения на цапфе.

5. Генератор по п. 1, также содержащий один или более роторов, расположенных, по меньшей мере, на одной стороне от статора и установленных с возможностью вращения вокруг цапфы относительно статора и монтажной опоры статора вокруг оси, по существу совпадающей с главной осью статора,при этом монтажная опора статора предназначена для жесткого крепления статора, чтобы жестко удерживать статор в фиксированном положении относительно монтажной опоры статора, причем каждый элемент из указанного множества штифтов или выступов основы статора проходит через монтажное отверстие в монтажных средствах монтажной опоры статора.

6. Генератор по п. 5, в котором указанные один или более роторов включают в себя два ротора, установленных с возможностью вращения на противоположных сторонах от статора, причем каждый из этих роторов имеет по меньшей мере один постоянный магнит, возбуждающий ток в обмотках проводников статора, когда указанные два ротора вращаются вокруг цапфы относительно статора.

7. Генератор по п. 5, отличающийся тем, что содержит одну или более взаимодействующих с ветром поверхностей, которые перемещаются под действием ветрового потока, при этом указанные одна или более взаимодействующие с ветром поверхности функционально соединены с указанными одним или более роторами для обеспечения вращения этих одного или более роторов и генерирования электричества.

8. Генератор по п. 1, отличающийся тем, что указанное множество штифтов или выступов включает три или более штифтов или выступов, расположенных радиально симметрично на окружности кольца или тора.

9. Генератор по п. 1, отличающийся тем, что указанное множество штифтов или выступов выполнено в виде цилиндрических выступов, отходящих от кольца или тора.

10. Генератор по п. 1, отличающийся тем, что каждый элемент из указанного множества штифтов или выступов приварен к кольцу или тору.

11. Генератор по п. 1, отличающийся тем, что каждый элемент из указанного множества штифтов или выступов содержит открытую часть и скрытую часть, закрепленную в выемке или в сквозной проточке, проходящей через кольцо или тор, причем скрытая часть имеет ширину или диаметр меньше, чем открытая часть.

12. Генератор по п. 11, отличающийся тем, что скрытая часть каждого элемента из указанного множества штифтов или выступов приварена к кольцу или тору на внутренней, противоположной стороне кольца или тора относительно открытой части.

13. Генератор по п. 1, отличающийся тем, что каждый элемент из указанного множества штифтов или выступов завинчен, заклепан или вклеен в выемку или в сквозную проточку, проходящую через кольцо или тор.

14. Способ изготовления генератора, включающий этапы, на которых:обеспечивают монтажную опору статора, содержащую:плиту основания;цапфу, прикрепленную к плите основания или выполненную заодно с ней и отходящую от нее, по меньшей мере, с одной стороны;и монтажные средства, выступающие по периферии от плиты основания, по меньшей мере, с одной ее стороны и содержащие монтажные отверстия, каждое из которых предназначено для приема одного элемента из множества штифтов или выступов основы статора для жесткой установки основы статора на монтажной опоре статора;жестко закрепляют статор, имеющий:основу, которая содержиткольцо или тор,и множество штифтов или выступов, каждый из которых отходит наружу от кольца или тора;и обмотки проводников, намотанные вокруг указанных кольца или тора;причем указанный этап жесткого закрепления статора включает помещение каждого штифта или выступа основы статора в монтажное отверстие монтажных средств монтажной опоры статора,и выполнение по меньшей мере одного из следующих этапов, на которых:на цапфе монтажной опоры статора устанавливают с возможностью вращения первый ротор, содержащий, по меньшей мере, один постоянный магнит, так что первый ротор может вращаться вблизи плиты основания монтажной опоры статора;на цапфе монтажной опоры статора устанавливают с возможностью вращения второй ротор, содержащий, по меньшей мере, один постоянный магнит, так что второй ротор может вращаться вблизи статора на его стороне, противоположной положению плиты основания монтажной опоры статора.

15. Способ по п. 14, в котором указанное выполнение включает выполнение обоих указанных этапов, на которых:на цапфе монтажной опоры статора устанавливают с возможностью вращения первый ротор, содержащий, по меньшей мере, один постоянный магнит, так что первый ротор может вращаться вблизи плиты основания монтажной опоры статора;на цапфе монтажной опоры статора устанавливают с возможностью вращения второй ротор, содержащий, по меньшей мере, один постоянный магнит, так что второй ротор может вращаться вблизи статора на его стороне, противоположной положению плиты основания монтажной опоры статора.

16. Способ генерирования электричества, включающий этапы:обеспечивают генератор, содержащий:статор, имеющий:основу, которая содержит кольцо или тор,и множество штифтов или выступов, отходящих наружу от кольца или тора, предназначенных для жесткой установки основы статора на монтажной опоре статора;и обмотки проводников, намотанные вокруг указанных кольца или тора;монтажную опору статора, содержащую:плиту основания;цапфу, п