PatentDB.ru — поиск по патентным документам

Иллюстрации к патенту 2601949

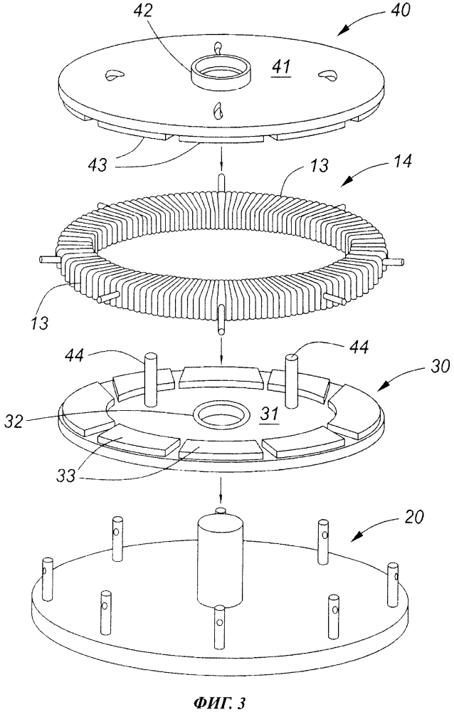
Элемент генератора, его применение и способ установки статора

Элемент генератора, его применение и способ установки статора (патент 2601949)