Стрелковое легкое оружие с автоматизированной электронно-оптической системой прицеливания и способ прицеливания
Иллюстрации
Показать всеИзобретение относится к оружейной технике. Стрелковое легкое оружие с автоматизированной электронно-оптической системой прицеливания содержит цевье с прикладом, ствол, установленный на цевье с возможностью углового изменения его положения в двух взаимно перпендикулярных плоскостях посредством пьезоэлектрического исполнительного механизма, расположенного между стволом и цевьем в средней зоне цевья, и механизма крепления ствола к цевью к передней зоне цевья. Оружие также содержит установленное с возможностью углового изменения положения относительно ствола в двух взаимно перпендикулярных плоскостях электронно-оптическое устройство с лазерным дальномером и датчиками углового положения относительно ствола и блок управления, выполненный с возможностью ручного и/или автоматизированного ввода данных о величине углов между осью ствола и оптической осью электронно-оптического устройства, расстоянии до цели, скорости и направлении ветра, температуре и влажности, баллистических параметрах боеприпасов, соединенный с электронно-оптическим устройством и исполнительным механизмом. Исполнительный механизм установлен с помощью пружинного механизма и выполнен в виде пьезоэлектрических активаторов, размещенных в крепежной скобе и обеспечивающих перемещение ствола по азимуту и углу места. Электронно-оптическое устройство состоит из оптической системы, светочувствительной матрицы и экрана. Также заявлен способ автоматизированного электронно-оптического прицеливания, по которому вводят в блок управления по меньшей мере один из следующих параметров: расстояние до цели, скорость и направление ветра, температура и влажность, баллистические параметры боеприпасов, полученный с помощью электронно-оптического датчика видеосигнал обрабатывают, определяют по нему контуры по меньшей мере одной цели и соответствующую ему метку прицеливания, осуществляют предварительное прицеливание. Затем рассчитывают корректирующие углы между направлением выстрела по метке прицеливания и расчетной точкой попадания выстрела, после чего формируют управляющий сигнал на пьезоэлектрические активаторы исполнительного механизма, преобразующие полученный сигнал в угловое смещение ствола относительно цевья по крайней мере в одной плоскости. После совпадения положения расчетной точки попадания выстрела с меткой прицеливания производят выстрел. Технический результат: повышение точности и быстроты прицеливания, в том числе с использованием системы автоматизации процессов формирования точки прицеливания. 2 н. и 1 з.п. ф-лы, 3 ил.
Реферат
Изобретение относится к оружейной технике, в частности к прицелам и устройствам с применением электронных средств, и может быть использовано в стрелковом оружии. Известен оптический прицел на охотничьих ружьях и стрелковом оружии, содержащий оптическое устройство с лазерным дальномером, установленное на оружии, механизм перемещения прицельной марки по горизонтали и вертикали (патент РФ N2294511, кл. F41G 3/00, опубл. 20.03.2004 г.) - прототип.
Конструкция такого прицела не может обеспечить высокую точность прицеливания; не учитываются расстояния до цели, положение стрелкового оружия, влияние окружающей среды (поперечный ветер, температура воздуха, атмосферное давление), что снижает вероятность поражения цели.
Известно устройство для автоматизированного прицеливания и выстрела из стрелкового оружия, состоящее из оборудования, размещаемого в экипировке стрелка, и оборудования, размещаемого на стрелковом оружии, которое связано между собой с помощью двух приемопередатчиков или с помощью кабелей (патент РФ N2294511, кл. F41G 1/42, опубл. 27.02.2007 г.). Оборудование, размещаемое на стрелковом оружии, содержит оптико-электронный датчик, датчик крена оружия, лазерный дальномер, аналого-цифровой преобразователь напряжения в последовательный код, передатчик первого приемопередатчика информации, приемник второго приемопередатчика информации, первый электронный ключ, блок питания и электромагнит с якорем. Технический результат, достигаемый при осуществлении изобретения, выражается в повышении точности и быстродействия прицеливания и выстрела, дальности эффективной стрельбы. Реализация используемого принципа срабатывания электронного спускового механизма при совпадении прицельной марки с целью приводит к непредсказуемым задержкам момента выстрела, что является недопустимым в большинстве случаев применения стрелкового оружия.
Технический результат от использования предложенного технического решения заключается в повышении точности и быстроты прицеливания, в том числе с использованием системы автоматизации процессов формирования точки прицеливания. Заявленный технический результат достигается благодаря предложенному устройству и способу.
Стрелковое легкое оружие с автоматизированной электронно-оптической системой прицеливания содержит электронно-оптическую систему с экраном и лазерным дальномером, установленным на оружии, механизм перемещения прицельной марки по горизонтали и вертикали и исполнительный механизм. При этом ствол оружия установлен на цевье с возможностью углового изменения его положения в двух взаимно перпендикулярных плоскостях посредством пьезоэлектрического исполнительного механизма, расположенного между стволом и цевьем в средней зоне цевья, и механизма крепления ствола к цевью к передней зоне цевья. Электронно-оптическое устройство с лазерным дальномером и датчиками углового положения установлено с возможностью углового изменения его положения относительно ствола в двух взаимно перпендикулярных плоскостях (соответствующего перемещению прицельной марки по горизонтали и вертикали). Оружие дополнительно оснащено блоком управления, выполненным с возможностью ручного и/или автоматизированного ввода данных о величине углов между осью ствола и оптической осью электронно-оптического устройства, расстоянии до цели, крене оружия, скорости и направлении ветра, температуре и влажности, баллистических параметрах боеприпасов и т.п., и соответствующими датчиками. Исполнительный механизм установлен с помощью пружинного механизма и выполнен в виде пьезоэлектрических активаторов, размещенных в крепежной скобе и обеспечивающих перемещение ствола по азимуту и углу места. Электронно-оптическое устройство включает оптическую систему и электронно-оптический датчик, а также в зависимости от варианта исполнения может конструктивно включать блок управления и экран отображения поля зрения прицела. В других вариантах исполнения блок управления может быть в отдельном корпусе включен в экипировку стрелка, а экран может быть вынесен на отдельную консоль либо закреплен на шлеме. В этом случае соединение частей электронно-оптической системы производится по проводным линиям связи либо по радиоканалу короткого радиуса действия.
В качестве электронно-оптического датчика может быть использована светочувствительная матрица либо термочувствительная матрица.
Способ автоматизированного электронно-оптического прицеливания включает то, что в блок управления поступает в автоматическом режиме либо вводят вручную по меньшей мере один из следующих параметров: расстояние до цели, скорость и направление ветра, температура и влажность, крен оружия, углы установки электронно-оптического устройства относительно ствола, баллистические параметры боеприпасов. На основании этих данных вычисляют координаты расчетной точки попадания выстрела (РТПВ) и отображают на экране, принимая в расчет угловое положение электронно-оптического устройства относительно ствола (положение прицельной марки). Преимущественно при использовании способа видеосигнал, полученный с помощью электронно-оптического датчика, обрабатывают, определяют по нему контуры по меньшей мере одной цели и соответствующую ей метку прицеливания (МП), формируют визуально выделенную зону предела автоматизированного прицеливания и отображают на экране электронно-оптического устройства (ЭОУ) поле зрения прицела с выделенной зоной предела автоматизированного прицеливания. После чего осуществляют предварительное прицеливание, совмещая вручную изменением положения оружия с доступной точностью выбранную МП с зоной предела автоматизированного прицеливания (по возможности - с РПТВ), и рассчитывают корректирующие углы между направлением выстрела по метке прицеливания (МП) и расчетной точкой попадания выстрела (РТПВ). Затем формируют управляющий сигнал на пьезоэлектрические активаторы исполнительного механизма, преобразующие полученный сигнал в угловое смещение ствола относительно цевья по крайней мере в одной плоскости. После совпадения положения расчетной точки попадания выстрела (РТПВ) с меткой прицеливания (МП) производят выстрел.
Управление напряжением на пьезоэлектрических активаторах может производиться как непрерывно, так и начиная с момента окончания выполнения предварительного прицеливания.
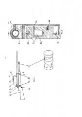
На фиг. 1 представлено стрелковое оружие с автоматизированной электронно-оптической системой прицеливания.
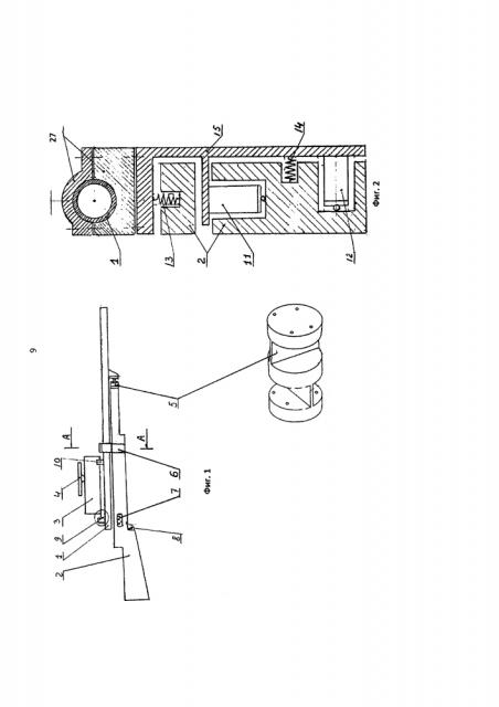
На фиг. 2 - разрез А-А.
На фиг. 3 - блок-схема автоматизированной электронно-оптической системой прицеливания.
1 - ствол;
2 - цевье;
3 - электронно-оптическое устройство;
4 - лазерный дальномер;
5 - устройство крепления ствола к цевью;
6 - исполнительное устройство, изменяющее угловое положение ствола относительно цевья;
7 - интерфейс для ручного ввода данных;
8 - спусковой крючок;
9 - устройство крепления электронно-оптического устройства к стволу;
10 - устройство регулировки положения электронно-оптического устройства относительно ствола;
11 - пьезоэлектрический активатор для перемещения ствола по вертикали;
12 - пьезоэлектрический активатор для перемещения ствола по горизонтали;
13 - пружина возврата ствола по вертикали;
14 - пружина возврата ствола по горизонтали;
15 - крепежная скоба (корпус исполнительного устройства 6);
16 - оптическая система;
17 - матрица светочувствительная;
18 - блок управления;
19 - экран;
20 - исполнительное устройство регулировки положения электронно-оптического устройства по горизонтали;
21 - исполнительное устройство регулировки положения электронно-оптического устройства по вертикали;
22 - климатический датчик (ветер, температура, влажность);
23 - датчик положения ЭОУ относительно ствола по углу места;
24 - датчик положения ствола ЭОУ относительно ствола по азимуту;
25 - датчик крена оружия;
26 - исполнительное устройство выполнения выстрела;
27 - зажим крепления исполнительного устройства 6 к стволу.
Автоматизированная электронно-оптическая система прицеливания (АЭОСП) устанавливается на легком стрелковом оружии и включает закрепленное на стволе 1 с помощью устройства крепления 9 электронно-оптическое устройство (ЭОУ) 3. Установка ЭОУ выполнена с возможностью изменения углового положения в двух плоскостях. Пьезоэлектрический исполнительный механизм 10 выполнен для перемещения второй точки крепления электронно-оптического устройства 3 к стволу 1 по горизонтали и вертикали. Механизм крепления 5 ствола 1 к цевью 2 установлен в передней зоне цевья. Автоматизированная электронно-оптическая система прицеливания (АЭОСП) содержит оптическую систему 16, лазерный дальномер 4, электронно-оптический датчик (светочувствительную матрицу) 17, экран 19, блок управления 18 (БУ), выполненный с возможностью ручного (с помощью интерфейса ручного ввода данных 7) и/или автоматизированного ввода данных о величине углов между осью ствола и оптической осью электронно-оптического устройства, расстоянии до цели, крене оружия, скорости и направлении ветра, температуре и влажности, баллистических параметрах боеприпасов и т.п., и пьезоэлектрический исполнительный механизм.
Пьезоэлектрический исполнительный механизм состоит из крепежной скобы 15 (жестко соединенной со стволом 1); установленных на ней пьезоэлектрического активатора 11, обеспечивающего перемещение по углу места, и пьезоэлектрического активатора 12, обеспечивающего перемещение по азимуту; и пружин 13 и 14, фиксирующих крепежную скобу 15 относительно цевья 2 на опорных площадках.
Блок управления 18 дополнительно получает данные и управляющие сигналы от:
- лазерного дальномера 4;
- датчиков ветра, температуры и влажности воздуха 22;
- датчиков положения ЭОУ относительно ствола по азимуту 24 и углу места 23;
- датчика крена оружия 25;
- спускового крючка 8.
Автоматизированная электронно-оптическая система прицеливания (АЭОСП) работает следующим образом:
Блок управления 18 производит обработку сигнала электронно-оптического датчика 17, учитывая при этом введенные (с лазерного дальномера 4 и датчиков 22-25 либо вручную) в блок управления данные о расстоянии до цели, о крене оружия, о скорости и направлении ветра, температуре и влажности, о баллистических параметрах боеприпасов, рассчитывает направление на расчетную точку попадания выстрела (РТПВ). По результатам обработки также формируются контуры целей и метки прицеливания для каждой цели, находящейся в поле зрения прицела, затем контуры целей и метки накладываются на растровое изображение поля зрения, которое отображается на экране 19. На экране также отображается РТПВ, как правило - в виде перекрестия линий.
Специальный интерфейс для ручного ввода данных 7 (кнопочный либо сенсорный) позволяет стрелку выбрать цель по ее контуру, закрепить за ней порядковый номер, произвести точную установку метки прицеливания относительно контура. Блок управления 18 также формирует на экране 19 визуально выделенную зону предела автоматизированного прицеливания. По положению МП относительно этой зоны стрелок может оценить возможность захвата данной МП автоматизированной системой прицеливания. При необходимости, изменяя положение цевья 2, стрелок добивается попадания выбранной МП в зону предела автоматизированного прицеливания, тем самым производит предварительное прицеливание на выбранную цель/группу целей. Далее стрелок включает автоматизированную систему прицеливания (также она может быть включена постоянно). При этом блок управления 18 формирует управляющие напряжения, которые прикладываются к пьезоэлектрическим активаторам. Активаторы преобразуют приложенное напряжение в линейное перемещение в плоскости, перпендикулярной направлению ствола, что приводит к угловому смещению ствола относительно цевья по крайней мере в одной плоскости (вертикальной либо горизонтальной), так, чтобы в этом новом положении РТПВ совпала с МП. В дальнейшем, при случайных/непроизвольных перемещениях цевья, автоматизированная система прицеливания изменяет приложенные к активаторам напряжения так, чтобы РТПВ совпадала с МП. В момент, определяемый стрелком, он производит выстрел с помощью нажатия на спусковой крючок 8. Сигнал поступает на блок управления 18, который с помощью исполнительного устройства выполнения выстрела 26 инициирует выстрел. Блок управления 18 также формирует управляющие сигналы для изменения с помощью исполнительных устройств 20, 21, входящих в исполнительный механизм 10, углов установки ЭОУ 3 относительно ствола 1 так, чтобы РПТВ находилась вблизи центра экрана 19, что эквивалентно установке прицельной марки для механических прицелов. Эта процедура требует меньшего быстродействия исполнительных устройств и может быть выполнена, например, однократно в момент выбора цели.
Групповое прицеливание: при подготовке выстрела стрелок может с помощью блока управления 18 и интерфейсных устройств ручного ввода привязать несколько МП к нескольким объектам в поле зрения ЭОУ, присвоив им порядковые номера. В этом случае при производстве последовательных выстрелов в ручном или автоматическом режиме будет производиться последовательное наведение РТПВ на МП (групповая стрельба). Групповая автоматическая стрельба производится при нажатом спусковом крючке 8. Блок управления 18 инициирует последующие за первым выстрелы в зависимости от момента достижения необходимой точности наведения на очередную метку прицеливания.
Коррекция при стрельбе на сложных трассах: может быть произведена в режиме групповой стрельбы с первой трассирующей пулей. В этом случае желателен выбор трассирующего состава со светимостью в ближнем ИК диапазоне (при использовании в качестве электронно-оптического датчика светочувствительной матрицы) либо среднем ИК диапазоне (для термочувствительной матрицы), с тем чтобы минимизировать эффект демаскировки. В этом случае траектория полета первой (трассирующей) пули будет отслежена и обработана АЭОСП, и для последующих выстрелов будут внесены необходимые поправки.
1. Стрелковое легкое оружие с автоматизированной электронно-оптической системой прицеливания, содержащее:- цевье с прикладом;- ствол, установленный на цевье с возможностью углового изменения его положения в двух взаимно перпендикулярных плоскостях посредством пьезоэлектрического исполнительного механизма, расположенного между стволом и цевьем в средней зоне цевья, и механизма крепления ствола к цевью к передней зоне цевья;- установленное с возможностью углового изменения положения относительно ствола в двух взаимно перпендикулярных плоскостях электронно-оптическое устройство с лазерным дальномером и датчиками углового положения относительно ствола;- блок управления, выполненный с возможностью ручного и/или автоматизированного ввода данных о величине углов между осью ствола и оптической осью электронно-оптического устройства, расстоянии до цели, скорости и направлении ветра, температуре и влажности, баллистических параметрах боеприпасов, соединенный с электронно-оптическим устройством и исполнительным механизмом;при этом исполнительный механизм установлен с помощью пружинного механизма и выполнен в виде пьезоэлектрических активаторов, размещенных в крепежной скобе и обеспечивающих перемещение ствола по азимуту и углу места,а электронно-оптическое устройство состоит из оптической системы, светочувствительной матрицы и экрана.
2. Способ автоматизированного электронно-оптического прицеливания, по которому вводят в блок управления по меньшей мере один из следующих параметров: расстояние до цели, скорость и направление ветра, температура и влажность, баллистические параметры боеприпасов, полученный с помощью электронно-оптического датчика видеосигнал обрабатывают, определяют по нему контуры по меньшей мере одной цели и соответствующую ему метку прицеливания, осуществляют предварительное прицеливание, рассчитывают корректирующие углы между направлением выстрела по метке прицеливания и расчетной точкой попадания выстрела, после чего формируют управляющий сигнал на пьезоэлектрические активаторы исполнительного механизма, преобразующие полученный сигнал в угловое смещение ствола относительно цевья по крайней мере в одной плоскости, и после совпадения положения расчетной точки попадания выстрела с меткой прицеливания производят выстрел.
3. Способ по п. 2, по которому производят обработку видеосигнала с выделением контуров целей, формированием для каждой цели метки прицеливания, формированием зоны предела автоматизированного прицеливания, отображают изображение со сформированными метками прицеливания и визуально выделенной зоной предела автоматизированного прицеливания на экране электронно-оптического устройства, осуществляют предварительное прицеливание путем совмещения выбранной метки прицеливания с зоной предела автоматизированного прицеливания, после чего активируют подачу управляющего сигнала на пьезоэлектрические активаторы.

