PatentDB.ru — поиск по патентным документам

Иллюстрации к патенту 2605664

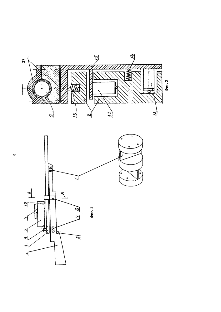
Стрелковое легкое оружие с автоматизированной электронно-оптической системой прицеливания и способ прицеливания

Стрелковое легкое оружие с автоматизированной электронно-оптической системой прицеливания и способ прицеливания (патент 2605664)