Устройство для нанесения металлической плёнки и способ нанесения металлической плёнки
Иллюстрации
Показать всеИзобретение относится к нанесению металлических пленок на поверхность проводящего слоя с рисунком, созданным на полимерной подложке. Устройство для нанесения металлической пленки содержит анод, полимерную подложку с поверхностью, на которой создается проводящий слой с рисунком, выполняющий функцию катода, твердоэлектролитную мембрану, содержащую ионы металла и размещаемую между анодом и полимерной подложкой, причем твердоэлектролитная мембрана контактирует с поверхностью проводящего слоя с рисунком при формировании металлической пленки, блок питания, электропроводный элемент, находящийся в контакте с проводящим слоем с рисунком при формировании металлической пленки так, что отрицательный электрод блока питания электрически соединен с проводящим слоем с рисунком, причем электропроводный элемент выполнен с возможностью отсоединения от проводящего слоя с рисунком, при этом ионы металла восстанавливаются для осаждения металла, образующего металлическую пленку на поверхности проводящего слоя с рисунком при подаче электрического напряжения. Изобретение обеспечивает возможность образования металлической пленки без образования лишних проводящих участков на подложке. 2 н. и 6 з.п. ф-лы, 10 ил., 3 пр.
Реферат
ПРЕДПОСЫЛКИ СОЗДАНИЯ ИЗОБРЕТЕНИЯ
1. Область изобретения
[0001] Изобретение относится к устройству для нанесения металлической пленки и способу нанесения металлической пленки. Более конкретно, изобретение относится к устройству для нанесения металлической пленки и способу нанесения металлической пленки, которыми может быть обеспечено надлежащее формирование металлической пленки на поверхности проводящего слоя с рисунком, созданного на полимерной подложке.
2. Уровень техники
[0002] Традиционно при изготовлении подложки электронной схемы и т.п. на поверхность подложки наносится металлическая пленка с целью создания металлического рисунка схемы. В качестве технологии создания такой металлической пленки, предлагаются, например, технология создания металлической пленки гальваническим покрытием, таким как процесс неэлектролитического гальванического покрытия, или технология создания металлической пленки, при которой металлическая пленка формируется методом физического осаждения из газовой фазы, таким как напыление, на поверхность полупроводниковой подложки из Si и т.п.
[0003] Однако при выполнении процесса гальванического покрытия, такого как неэлектролитическое гальваническое покрытие, после процесса гальванизации необходима промывка, и использованная вода затем должна утилизироваться. Также, при нанесении пленки на поверхность подложки методом физического осаждения из газовой фазы, таким как напыление, в покрытии из металлической пленки возникает внутреннее напряжение, поэтому имеется предел относительно того, какой толщины может быть пленка. В частности, при напылении пленка может формироваться только в высоком вакууме.
[0004] В свете вышесказанного, в Международной публикации WO 2013/125643, например, предлагается устройство для нанесения металлической пленки, содержащее положительный электрод (анод), твердоэлектролитную мембрану, размещенную между анодом и металлической подложкой, выполняющей функцию катода, и блок питания, подающий электрическое напряжение между анодом и катодом (т.е. металлической подложкой).
[0005] В данном устройстве для нанесения пленки ионы металла осаждаются на поверхности металлической подложки, так что металлическая пленка может формироваться на металлической подложке путем соприкосновения твердоэлектролитной мембраны, содержащей ионы металла, с поверхностью металлической подложки, а также приложения электрического напряжения между анодом и катодом (т.е., металлической подложкой) при помощи блока питания.
[0006] При использовании устройства для нанесения металлической пленки, описание которого дается в международной публикации WO 2013/125643, легко обеспечивается электрическое соединение подложки или ее поверхностного слоя с отрицательным электродом блока питания, так что подложка или ее поверхностный слой становится катодом, потому что до настоящего времени подложка или весь ее поверхностный слой делались из металла.
[0007] Однако при нанесении металлической пленки на поверхность Da проводящего слоя D с рисунком, созданного на поверхности Bа полимерной подложки B, как показано на ФИГ. 10А, проводящий слой D с рисунком должен быть электрически соединен с отрицательным электродом блока питания, так чтобы проводящий слой D с рисунком стал катодом.
[0008] Следовательно, например, создается удлиненный участок DL, на котором участок проводящего слоя D с рисунком удлиняется до наружной кромки Bc полимерной подложки B, как показано на ФИГ. 10В. Этот удлиненный участок DL приводится в контакт с металлическим основанием 40, которое электрически соединено с отрицательным электродом блока питания, и металлическая пленка формируется на поверхности проводящего слоя D с рисунком. После образования пленки удлиненный участок DL будет ненужным проводящим слоем с рисунком, поэтому этот удлиненный участок DL должен быть удален с полимерной подложки В.
СУЩНОСТЬ ИЗОБРЕТЕНИЯ
[0009] Таким образом, в качестве изобретения предлагаются устройство для нанесения металлической пленки и способ нанесения металлической пленки, обеспечивающие легкое формирование металлической пленки на поверхности проводящего слоя с рисунком, созданного на поверхности полимерной подложки, без образования ненужного проводящего слоя с рисунком.
[0010] Первый объект изобретения представляет собой устройство для нанесения металлической пленки, содержащее: анод; полимерную подложку с поверхностью, на которой создается проводящий слой с рисунком, выполняющий функцию катода; твердоэлектролитную мембрану, содержащую ионы металла и размещенную между анодом и полимерной подложкой, причем твердоэлектролитная мембрана контактирует с поверхностью проводящего слоя с рисунком при формировании металлической пленки; блок питания, подающий напряжение между анодом и проводящим слоем с рисунком; электропроводный элемент, находящийся в контакте как минимум с частью проводящего слоя с рисунком при формировании металлической пленки так, что отрицательный электрод блока питания электрически соединен с проводящим слоем с рисунком, причем электропроводный элемент выполнен с возможностью отсоединения от проводящего слоя с рисунком, при этом ионы металла восстанавливаются для осаждения металла, образующего металлическую пленку на поверхности проводящего слоя с рисунком во время подачи напряжения между анодом и проводящим слоем с рисунком.
[0011] В данном объекте изобретения металлическая пленка может формироваться на поверхности проводящего слоя с рисунком при подаче напряжения между анодом и проводящим слоем с рисунком, выполняющим функцию катода, при создании контакта электропроводного элемента с участком проводящего слоя с рисунком так, что отрицательный электрод блока питания, подающего напряжение, имеет электрическое соединение с проводящим слоем с рисунком. Также, использование отсоединяемого электропроводного элемента обеспечивает осаждение металла посредством восстановления ионов металла, содержащихся в твердоэлектролитной мембране, на поверхность проводящего слоя с рисунком, которая является поверхностью, на которой должна формироваться пленка, и металлическая пленка будет легко формироваться на этой поверхности без одновременного создания ненужного проводящего слоя с рисунком.
[0012] Выражение "электропроводный элемент... выполнен с возможностью отсоединения" в данном аспекте относится к электропроводному элементу, который находится в присоединенном состоянии при контакте с участком проводящего слоя с рисунком и может быть отсоединен от участка проводящего слоя с рисунком, с которым он контактирует.
[0013] В первом объекте изобретения электропроводный элемент может быть металлической пластиной, закрывающей полимерную подложку, и в электропроводном элементе может иметься сквозное отверстие, соответствующее форме рисунка проводящего слоя с рисунком. Дополнительно, электропроводный элемент может размещаться таким образом, чтобы сквозное отверстие располагалось над проводящим слоем с рисунком при формировании металлической пленки.
[0014] Выражение "сквозное отверстие, соответствующее форме рисунка проводящего слоя с рисунком" в данном аспекте относится к сквозному отверстию, имеющему, как минимум, ту же форму, что и проводящий слой с рисунком на полимерной подложке, выполненному в металлической пластине, и металлическая пластина накладывается на полимерную подложку. Электропроводный элемент предназначен для обеспечения контакта твердоэлектролитного элемента с проводящим слоем с рисунком через сквозное отверстие.
[0015] В вышеописанном объекте изобретения электропроводный элемент размещается между анодом и проводящим слоем с рисунком так, чтобы сквозное отверстие в электропроводном элементе занимало положение над проводящим слоем с рисунком при контакте электропроводного элемента с участком проводящего слоя с рисунком. Таким образом, ионы металла с твердоэлектролитной мембраны попадают на поверхность проводящего слоя с рисунком через сквозное отверстие в электропроводном элементе, при этом поверхность полимерной подложки прикрыта электропроводным элементом, поэтому металл может осаждаться на поверхности проводящего слоя с рисунком. В результате металл осаждается только в направлении толщины проводящего слоя с рисунком, поэтому металлическая пленка с четкими кромками может формироваться в нужной области (не выступая из проводящего слоя с рисунком, например).
[0016] В первом аспекте изобретения электропроводный элемент может быть присоединен к твердоэлектролитной мембране. В данном объекте изобретения электропроводный элемент вместе с твердоэлектролитной мембраной имеет возможность находиться в контакте с проводящим слоем с рисунком при формировании металлической пленки, поэтому металлическая пленка может формироваться более легко на поверхности проводящего слоя с рисунком.
[0017] В первом объекте изобретения металлическая пленка может быть изготовлена из меди, никеля, серебра или золота, а электропроводный элемент может быть изготовлен из алюминия, титана, молибдена, вольфрама или сплава, как минимум, двух из следующих металлов: алюминия, титана, молибдена и вольфрама. В соответствии с данным объектом изобретения, выбор одного из этих металлов в качестве металла, образующего электропроводный элемент, создает возможность недопущения осаждения металла на электропроводном элементе.
[0018] Второй объект изобретения представляет собой соответствующий способ нанесения металлической пленки. Способ нанесения металлической пленки в соответствии со вторым объектом изобретения заключается в выполнении формирования металлической пленки на поверхности проводящего слоя с рисунком, созданного на поверхности полимерной подложки, посредством осаждения металла на поверхность проводящего слоя с рисунком путем подачи электрического напряжения между анодом и проводящим слоем с рисунком, выполняющим функцию катода, и восстановления ионов металла в твердоэлектролитной мембране, в положении, когда твердоэлектролитная мембрана размещена между анодом и полимерной подложкой, чтобы контактировать с поверхностью проводящего слоя с рисунком, при этом процесс формирования металлической пленки включает в себя подачу напряжения между анодом и проводящим слоем с рисунком, в положении, когда электропроводный элемент, который выполнен с возможностью отсоединения от проводящего слоя с рисунком, контактирует, как минимум, с частью проводящего слоя с рисунком так, что отрицательный электрод блока питания, подающего напряжение, имеет электрическое соединение с проводящим слоем с рисунком.
[0019] В соответствии с данной конструкцией, подают напряжение между анодом и проводящим слоем с рисунком, выполняющим функцию катода, с созданием контакта электропроводного элемента с участком проводящего слоя с рисунком, так что отрицательный электрод блока питания, подающего напряжение, электрически соединен с проводящим слоем с рисунком. Соответственно, металлическая пленка может легко формироваться на поверхности проводящего слоя с рисунком без одновременного создания ненужного проводящего слоя с рисунком.
[0020] Во втором объекте изобретения электропроводный элемент может представлять собой металлическую пластину, закрывающую полимерную подложку, и в электропроводном элементе может иметься сквозное отверстие, соответствующее форме рисунка проводящего слоя с рисунком. Кроме того, металлическая пленка могут формировать при размещении электропроводного элемента таким образом, что сквозное отверстие находится точно над проводящим слоем с рисунком.
[0021] В соответствии с вышеуказанным объектом изобретения, ионы металла с твердоэлектролитной мембраны попадают на поверхность проводящего слоя с рисунком через сквозное отверстие в электропроводном элементе, при этом поверхность полимерной подложки закрыта электропроводным элементом, поэтому металл может осаждаться на поверхности проводящего слоя с рисунком. В результате металл осаждается только в направлении толщины проводящего слоя с рисунком, поэтому создается возможность формирования металлической пленки с четкими кромками.
[0022] Во втором объекте изобретения формирование металлической пленки может выполняться в положении, когда электропроводный элемент присоединен к твердоэлектролитной мембране. В соответствии с данным объектом изобретения электропроводный элемент вместе с твердоэлектролитной мембраной имеет возможность находиться в контакте с проводящим слоем с рисунком при формировании металлической пленки, поэтому металлическая пленка может формироваться более легко на поверхности проводящего слоя с рисунком.
[0023] Во втором объекте изобретения металлическая пленка может быть изготовлена из меди, никеля, серебра или золота, а электропроводный элемент может быть изготовлен из алюминия, титана, молибдена, вольфрама или сплава, как минимум, двух из следующих металлов: алюминия, титана, молибдена и вольфрама. В соответствии с данным аспектом, выбор одного из этих металлов в качестве металла для изготовления электропроводного элемента создает возможность предотвращения осаждения металла на электропроводном элементе.
[0024] Таким образом, объекты изобретения делают возможным легкое формирование металлической пленки на поверхности проводящего слоя с рисунком, созданного на поверхности полимерной подложки без образования ненужного проводящего слоя с рисунком.
КРАТКОЕ ОПИСАНИЕ ЧЕРТЕЖЕЙ
[0025] Признаки, преимущества и техническое и промышленное значение показательных вариантов осуществления изобретения описываются ниже со ссылками на прилагаемые чертежи, на которых одинаковыми цифрами обозначены одинаковые элементы, и где:
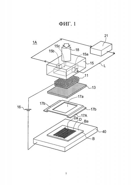
ФИГ. 1 представляет собой развернутую концептуальную схему, на которой показан рамочный формат устройства для нанесения металлической пленки в соответствии с первым примером осуществления изобретения;
ФИГ. 2 представляет собой вид в плоскости, на котором показано взаимное расположение проводящего слоя с рисунком, созданного на полимерной подложке, и электропроводного элемента;
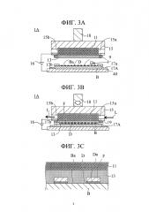
ФИГ. 3А представляет собой сечение, на котором показан рамочный формат устройства для нанесения пленки, представленного на ФИГ. 1, до формирования пленки;
ФИГ. 3В представляет собой сечение, на котором показан рамочный формат устройства для нанесения пленки, представленного на ФИГ. 1, при формировании пленки;
ФИГ. 3С представляет собой увеличенный фрагмент участка полимерной подложки на ФИГ. 3В, который находится вблизи проводящего слоя с рисунком;
ФИГ. 4 представляет собой развернутую концептуальную схему устройства для нанесения металлической пленки в соответствии со вторым примером осуществления изобретения;
ФИГ. 5 представляет собой вид в плоскости, на котором показано взаимное расположение проводящего слоя с рисунком, созданного на полимерной подложке, и электропроводного элемента;
ФИГ. 6А представляет собой сечение, на котором показан рамочный формат устройства для нанесения пленки, представленного на ФИГ. 4, до формирования пленки;
ФИГ. 6В представляет собой сечение, на котором показан рамочный формат устройства для нанесения пленки, представленного на ФИГ. 4, при формировании пленки;
ФИГ. 6С представляет собой увеличенный фрагмент участка полимерной подложки на ФИГ. 6В, который находится вблизи проводящего слоя с рисунком;
ФИГ. 7 представляет собой развернутую концептуальную схему устройства для нанесения металлической пленки в соответствии с третьим примером осуществления изобретения;
ФИГ. 8 представляет собой общий вид твердоэлектролитной мембраны, к которой прикреплен электропроводный элемент, с обратной стороны;
ФИГ. 9 представляет собой общий вид в рамочном формате измененного варианта твердоэлектролитной мембраны, к которой электропроводный элемент прикреплен в соответствии с третьим примером осуществления изобретения;
ФИГ. 10А представляет собой общий вид в рамочном формате соответствующей полимерной подложки, на которой создается проводящий слой с рисунком;
ФИГ. 10В представляет собой вид полимерной подложки с удлиненным участком для нанесения пленки с целью создания проводящего слоя с рисунком.
ПОДРОБНОЕ ОПИСАНИЕ ВАРИАНТОВ ОСУЩЕСТВЛЕНИЯ ИЗОБРЕТЕНИЯ
[0026] Ниже дается описание устройства для нанесения пленки, которое делает возможным надлежащее исполнение способа формирования металлической пленки в соответствии с тремя примерами осуществления изобретения.
[0027] Здесь и далее дается описание первого примера осуществления. ФИГ. 1 представляет собой развернутую концептуальную схему, на которой показан рамочный формат устройства 1А для нанесения металлической пленки в соответствии с первым примером осуществления изобретения. ФИГ. 2 представляет собой вид в плоскости, на котором показано взаимное расположение проводящего слоя D с рисунком, созданного на полимерной подложке B, и электропроводного элемента 17А.
[0028] Как показано на ФИГ. 1, устройство 1А для нанесения металлической пленки является устройством, осаждающим металл посредством восстановления ионов металла, и формирующим металлическую пленку, создаваемую осаждаемым металлом на поверхности Da проводящего слоя D с рисунком полимерной подложки В.
[0029] Примеры полимеров, которые могут применяться как полимер, формирующий полимерную подложку B, представляют собой термопластические полимеры, такие как эпоксидный полимер, АБС-пластик, AS-полимер, AAS-полимер, PS-полимер, сополимер этилена и винилацетата (EVA), полиметилметакрилат (РММА), полибутилентерефталат (РВТ), полиэтилентерефталатная смола (PET), полиэтиленсульфид (PPS), полиацетат (РА), полиоксиметилен (РОМ), PC-полимер, полипропилен (РР), РЕ-полимер, полимерный сплав, в том числе, эластомер и РР, модифицированный полифениленоксид (РРО), политетрафлюороэтилен (PTFE), этилентетрафторэтилен (ETFE) или термоотверждающаяся смола, такая как фенол, или полимер, в котором к эпоксидной смоле добавляется цианат.
[0030] Проводящий слой D с рисунком, имеющий заданный рисунок, создается на поверхности Ba полимерной подложки В. Проводящий слой D с рисунком является проводящим слоем, в котором обеспечивается адгезия частиц металла к поверхности Ba полимерной подложки B путем нанесения покрытия напылением или впечатыванием и т.п., что, в основном, известно. В качестве металла, образующего проводящий слой D с рисунком, могут применяться медь, никель, серебро или золото и т.п.
[0031] Устройство 1А для нанесения пленки содержит, как минимум, анод 11, изготовленный из металла, проводящий слой D с рисунком (полимерной подложки В), выполняющий функцию катода, твердоэлектролитную мембрану 13, размещенную на поверхности анода 11 между анодом 11 и проводящим слоем D с рисунком и блок питания 16, подающий напряжение между анодом 11 и проводящим слоем D с рисунком, выполняющим функцию катода. Хотя и не показанный на ФИГ. 1, уплотнительный элемент 19, такой как уплотнительное кольцо, размещен на наружной кромке твердоэлектролитной мембраны 13, как показано на ФИГ. 3А, описание которой дается ниже.
[0032] В данном примере осуществления изобретения устройство 1А для нанесения пленки также содержит корпус 15. Анод 11 находится внутри этого корпуса 15, из которого раствор, содержащий ионы металла, такого как медь, никель, серебро или золото и т.п. (здесь и далее, этот раствор именуется "металлический раствор") L, поступает к аноду 11. Точнее, вырезанный участок 15 с корпуса, в котором находится анод 11, выполнен на нижней стороне в корпусе 15, и анод 11 размещен в этом вырезанном участке 15 с корпуса.
[0033] В данном примере осуществления подающий канал 15а, по которому металлический раствор L поступает в корпус 15, выполнен сообщающимся с вырезанным участком 15с корпуса, на одной стороне вырезанного участка 15с корпуса, в корпусе 15. Также, выпускной канал 15b, по которому металлический раствор L изливается из корпуса 15, выполнен сообщающимся с вырезанном участком 15с корпуса с другой стороны вырезанного участка 15с корпуса.
[0034] Анод 11 изготовлен из пористого материала, пропускающего металлический раствор L, и по нему ионы металла поступают на твердоэлектролитную мембрану. В результате металлический раствор L, подаваемый из подающего канала 15а, перетекает через анод 11. Часть металлического раствора L, перетекающего через анод 11, вступает в контакт с твердоэлектролитной мембраной 13 от анода 11, и образующие пленку ионы металла поступают на твердоэлектролитную мембрану 13. Далее, металлический раствор L, прошедший через анод 11, изливается из выпускного канала 15b.
[0035] Пористый материал, из которого изготовлен анод 11, не имеет особых ограничений, при условии (1) он обладает коррозионной стойкостью в отношении металлического раствора L, (2) он обладает электропроводимостью, позволяющей использовать его в качестве анода, (3) металлический раствор L может проходить через него и (4) он может быть отжат прижимным блоком 18, описание которого дается ниже. Например, анод 11 предпочтительно образуется телом из пенистого металла в материале с низким электрическим перенапряжением кислорода, таком как окись платины или иридия, или телом пенистого металла, обладающего высокой коррозионной стойкостью, такого как титан, с покрытием из окиси платины или иридия. При использовании тела из пенистого металла пористость составляет предпочтительно 50-95% об., диаметр пор составляет приблизительно 50-600 μm, и толщина предпочтительно составляет приблизительно 0,1-50 мм.
[0036] Подающий канал 15а и выпускной канал 15b соединены с блоком подачи металлического раствора 21 трубопроводом. Блок подачи металлического раствора 21 подает металлический раствор L с заданной концентрацией ионов металла в подающий канал 15а корпуса 15 и принимает обратно металлический раствор L, который был использован для формирования пленки и излит из выпускного канала 15b. Таким образом, металлический раствор L может циркулировать внутри устройства 1А для нанесения пленки.
[0037] Твердоэлектролитная мембрана 13 не имеет особых ограничений при условии, что она может пропитываться ионами металла (т.е. иметь их в своем составе) путем обеспечения ее контакта с вышеописанным металлическим раствором L, и металл, получаемый из ионов металла, может осаждаться на поверхности Da проводящего слоя D с рисунком полимерной подложки B во время подачи напряжения. В качестве материала для твердоэлектролитной мембраны могут использоваться, например, фторсодержащий полимер, такой как Nafion (торговая марка) производства DuPont или аналоги, углеводородный полимер, полиамидная смола или полимер, выполняющий ионообменную функцию, такие как SELEMION™ (серии CMV, CMD, CMF) или аналогичные производства Asahi Glass Co., Ltd.
[0038] Альтернативно, металлический раствор L является жидкостью, содержащей металл для формирования металлической пленки согласно описанию выше, в ионном состоянии. Металл в металлическом растворе L представляет собой, например, медь, никель, серебро или золото, и металлический раствор L образуется, как минимум, одним из этих металлов, растворяемых (ионизируемых) в кислоте, такой как азотная кислота, фосфорная кислота, бутандикислота, фосфат никеля или пирофосфорная кислота. Например, если металлом является никель, то металлический раствор L будет раствором нитрата никеля, фосфата никеля, никелевой бутандикислоты, сульфата никеля или пирофосфата никеля и т.п.
[0039] В устройстве 1А для нанесения пленки имеется прижимной блок 18 в верхней части корпуса 15. Прижимной блок 18 является гидравлическим или пневматическим цилиндром, и он представляет собой механизм, который прижимает твердоэлектролитную мембрану 13 к поверхности Da проводящего слоя D с рисунком через анод 11. Металлическая пленка может формироваться на поверхности Da проводящего слоя D с рисунком тогда, когда твердоэлектролитная мембрана 13 равномерно прижимается к проводящему слою D с рисунком прижимным блоком 18.
[0040] Устройство 1А для нанесения пленки в соответствии с данным примером осуществления изобретения имеет в своем составе металлическое основание 40, на котором находится полимерная подложка B, и это металлическое основание 40 электрически соединено с отрицательным электродом блока питания 16. Положительный электрод блока питания 16 электрически соединен с анодом 11, встроенным в корпус 15. Кроме того, в устройстве 1А для нанесения пленки имеется электропроводный элемент 17А, который находится в контакте с частью (точнее, концевой частью) проводящего слоя D с рисунком при формировании металлической пленки так, чтобы обеспечивалось электрическое соединение отрицательного электрода блока питания 16 с проводящим слоем D с рисунком. Электропроводный элемент 17А находится в закрепленном положении при его соприкосновении с частью проводящего слоя D с рисунком при формировании пленки, и он может отсоединяться от той части проводящего слоя D с рисунком, с которой он находится в контакте. В данном примере осуществления электропроводный элемент 17А представляет собой элемент, размещаемый на полимерной подложке B так, чтобы у него имелся контакт с частью проводящего слоя D с рисунком, и он может отсоединяться от этой части проводящего слоя D с рисунком.
[0041] Здесь электропроводный элемент 17А является металлическим слоем, покрывающим полимерную подложку В. В электропроводном элементе 17А выполнено прямоугольное сквозное отверстие 17а, соответствующее размеру проводящего слоя D с рисунком, и на каждой стороне этого сквозного отверстия 17а имеется фланцевый участок 17b. Когда электропроводный элемент 17А размещен на поверхности Ba полимерной подложки B, область наружных кромок (помеченная на рисунке диагональными линиями) поверхности Ba полимерной подложки B закрыта электропроводным элементом 17А, и сквозное отверстие 17а выполнено таким образом, что проводящий слой D с рисунком доступен через сквозное отверстие 17а. Кроме того, сквозное отверстие 17а выполнено таким образом, что часть открывающей кромки, образующей сквозное отверстие 17а электропроводного элемента 17А, находится в контакте с концевой частью C проводящего слоя D с рисунком. В результате, электропроводный элемент 17А получает электрическое соединение с проводящим слоем D с рисунком.
[0042] Электропроводный элемент 17А изготовлен из металла, на котором легко формируется непроводящая пленка или химически стойкий металл. Более конкретно, если металлом, из которого создается металлическая пленка, является медь, никель, серебро или золото, металлом для изготовления электропроводного элемента 17A будет алюминий, титан, молибден, вольфрам или их сплавы. Выбор такого металла позволяет создавать металлическую пленку на поверхности Da проводящего слоя D с рисунком при формировании пленки и предотвращать формирование металлической пленки (т.е., осаждение металла, образующего пленку) на электропроводном элементе 17А или предотвращать растворение электропроводного элемента 17A.
[0043] Электропроводный элемент 17А представляет собой пластинообразную деталь толщиной не более 0,05 мм. Такая толщина электропроводного элемента 17А позволяет легко обеспечить контакт твердоэлектролитной мембраны 13 с проводящим слоем D с рисунком через сквозное отверстие 17а при формировании пленки. В данном примере осуществления изобретения используется электропроводный элемент в виде фольги, но может также использоваться прямолинейный или прямоугольный электропроводный элемент в той мере, в какой он может обеспечить электрическое соединение проводящего слоя D с рисунком с отрицательным электродом блока питания 16 без покрытия области формирования пленки на поверхности Da проводящего слоя D с рисунком.
[0044] При формировании пленки электропроводный элемент 17А размещается на поверхности Ba полимерной подложки B так, чтобы поверхность Da проводящего слоя D с рисунком полимерной подложки B была открыта, и пара фланцевых участков 17b находилась в контакте с металлическим основанием 40, как показано на ФИГ. 2. При таком размещении часть открывающей кромки, образующей сквозное отверстие 17а электропроводного элемента 17А, находится в контакте с концевой частью C проводящего слоя D с рисунком. В результате проводящий слой D с рисунком имеет электрическое соединение с отрицательным электродом блока питания 16 через металлическое основание 40 и электропроводный элемент 17А.
[0045] В данном примере осуществления электропроводный элемент 17А имеет электрическое соединение с отрицательным электродом блока питания 16 через металлическое основание 40, но электропроводный элемент 17А может также иметь прямое электрическое соединение с отрицательным электродом блока питания 16, и металлическое основание 40 может быть опущено, и вместо металлического основания может использоваться неэлектропроводное основание.
[0046] Теперь дадим описание способа нанесения пленки в соответствии с данным примером осуществления изобретения. На ФИГ. 3А, ФИГ. 3В и ФИГ. 3С дается иллюстрация способа нанесения пленки устройством 1А для нанесения металлической пленки, показанным на ФИГ. 1. ФИГ. 3А представляет собой сечение, на котором показан рамочный формат устройства 1А для нанесения пленки до формирования пленки, ФИГ. 3В представляет собой сечение, на котором показан рамочный формат устройства 1А для нанесения пленки при формировании пленки, и ФИГ. 3С представляет собой вид увеличенный фрагмент полимерной подложки В на ФИГ. 3В, который находится вблизи проводящего слоя D с рисунком.
[0047] Сначала, как показано на ФИГ. 3А, полимерную подложку B, на которой создается проводящий слой D с рисунком, размещают на металлическом основании 40, и электропроводный элемент 17А размещают на поверхности Ba полимерной подложки B способом, показанным на ФИГ. 2. В результате электропроводный элемент 17А находится в контакте с концевой частью C проводящего слоя D с рисунком, и два фланцевых участка 17b контактируют с металлическим основанием 40 так, чтобы отрицательный электрод блока питания 16, подающего напряжение, имел электрическое соединение с проводящим слоем D с рисунком.
[0048] Далее, как показано на ФИГ. 3В, твердоэлектролитную мембрану 13, размещаемую на поверхности анода 11, выполненного из пористого материала, приводят в контакт с поверхностью Da проводящего слоя D с рисунком полимерной подложки B через сквозное отверстие 17а электропроводного элемента 17А при помощи прижимного блока 18. В этом положении контакта твердоэлектролитную мембрану 13 далее прижимают к проводящему слою D с рисунком, созданному на полимерной подложке В.
[0049] В результате такого прижимания твердоэлектролитной мембраны 13 к проводящему слою D с рисунком обеспечивается равномерное прилегание твердоэлектролитной мембраны 13 к поверхности Da проводящего слоя D с рисунком. В данном примере осуществления изобретения пленку формируют во время прижимания твердоэлектролитной мембраны 13 к проводящему слою D с рисунком, при этом анод 11 дополнительно прижимают прижимным блоком 18, поэтому достигается более равномерная толщина металлической пленки F.
[0050] Блок подачи металлического раствора 21 приводят в действие при поддержании давления прижимным блоком 18. В результате металлический раствор L, отрегулированный на заданную концентрацию ионов металла, подают в подающий канал 15а корпуса 15, и металлический раствор L, пропущенный через анод 11 и излитый из выпускного канала 15b, поступает в устройство для нанесения пленки 1А из блока подачи металлического раствора 21. Таким образом, обеспечивают циркуляцию металлического раствора L между корпусом 15 и блоком подачи раствора 21. В это же время некоторое количество металлического раствора L, прошедшего через анод 11, вступает в контакт с твердоэлектролитной мембраной 13 и может направить пленкообразующие ионы металла сквозь твердоэлектролитную мембрану 13. Посредством перетекания металлического раствора L через анод 11 металлический раствор L входит в контакт с твердоэлектролитной мембраной 13 и передает, когда это необходимо, ионы металла на твердоэлектролитную мембрану, пропитывая твердоэлектролитную мембрану 13 ионами металла.
[0051] Далее, при помощи блока питания 16 подают напряжение между анодом 11 и проводящим слоем D с рисунком, выполняющим функцию катода. Как описано выше, электропроводный элемент 17А соединен с концевой частью C проводящего слоя D с рисунком, поэтому отрицательный электрод блока питания 16 имеет электрическое соединение с проводящим слоем D с рисунком. Следовательно, при подаче напряжения блоком питания 16 ионы металла, содержащиеся в твердоэлектролитной мембране 13, восстанавливаются на поверхности Da проводящего слоя D с рисунком, и тем самым вызывают осаждение металла на поверхности Da проводящего слоя D с рисунком. В результате, металлическая пленка F может формироваться на поверхности Da проводящего слоя D с рисунком, как показано на ФИГ. 3С. После формирования металлической пленки F электропроводный элемент 17А, находящийся в контакте с концевой частью C, снимают с концевой части C проводящего слоя D с рисунком (т.е. электропроводный элемент 17А удаляют с полимерной подложки В).
[0052] В данном примере осуществления изобретения возможно осаждение металла на поверхности Da проводящего слоя D с рисунком посредством восстановления ионов металла, находящихся в твердоэлектролитной мембране 13, и металлическая пленка F может легко формироваться на этой поверхности Da, без создания заново ненужного проводящего слоя с рисунком для установления электрического соединения отрицательного электрода блока питания 16, как в существующем уровне техники, при помощи электропроводного элемента 17А. Также, поскольку электропроводный элемент 17А приводят в контакт с концевой частью C проводящего слоя D с рисунком, металлическая пленка F может надлежащим образом формироваться на поверхности Da проводящего слоя D с рисунком.
[0053] Далее дадим описание второго примера осуществления изобретения. ФИГ. 4 представляет собой развернутую концептуальную схему устройства для нанесения металлической пленки в соответствии со вторым примером осуществления изобретения, и ФИГ. 5 представляет собой вид в плане, иллюстрирующий взаимное расположение проводящего слоя D с рисунком, созданного на полимерной подложке B, и электропроводного элемента 17В. Устройство 1В для нанесения пленки второго примера осуществления изобретения отличается от устройства 1А для нанесения пленки первого примера осуществления изобретения в конструкции электропроводного элемента 17В. Соответственно, конструкция, аналогичная первому примеру осуществления изобретения, будет обозначаться аналогичными ссылочными литерами, и подробного описания этой конструкции даваться не будет.
[0054] Как показано на ФИГ. 4, электропроводный элемент 17B устройства 1В для нанесения пленки в соответствии со вторым примером осуществления изобретения представляет собой металлическую пластину, которая накрывает полимерную подложку В. В электропроводном элементе 17В выполняют сквозное отверстие 17с, соответствующее форме рисунка проводящего слоя D с рисунком. Это сквозное отверстие 17с совмещают с проводящим слоем D с рисунком. Когда электропроводный элемент 17В размещают на полимерной подложке B так, чтобы сквозное отверстие 17с находилось против проводящего слоя D с рисунком, участок поверхности Ba полимерной подложки B, на котором проводящий слой D с рисунком не формируют (обозначен диагональными линиями на ФИГ. 5), закрыт электропроводным элементом 17B. То есть поверхность полимерной подложки В, где проводящий слой D с рисунком не формируют, закрыта электропроводным элементом 17B, а проводящий слой D с рисунком доступен через сквозное отверстие 17с.
[0055] Далее, как и в первом примере осуществления изобретения, сквозное отверстие 17с выполнено таким образом, что часть открытой кромки, образующей сквозное отверстие 17с электропроводного элемента 17В, находится в контакте с концевой частью C проводящего слоя D с рисунком. В результате электропроводный элемент 17B имеет возможность электрически контактировать с проводящим слоем D с рисунком при формировании пленки.
[0056] Как и в первом примере осуществления изобретения, два фланцевых участка 17b сформированы на каждой стороне электропроводного элемента 17В в соответстви



