PatentDB.ru — поиск по патентным документам

Иллюстрации к патенту 2615009

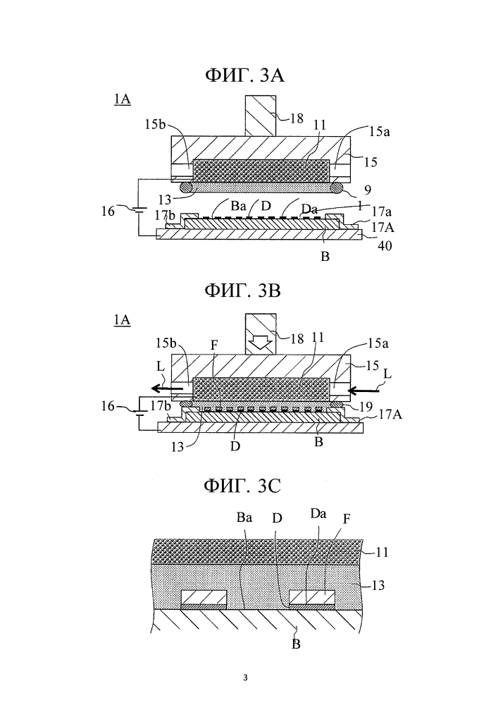
Устройство для нанесения металлической плёнки и способ нанесения металлической плёнки

Устройство для нанесения металлической плёнки и способ нанесения металлической плёнки (патент 2615009)