Устройство для обработки смеси ископаемого топлива с водой перед сжиганием в двигателях внутреннего сгорания

Иллюстрации

Показать все

Изобретение может быть использовано в системах топливоподачи энергетических установок, сжигающих ископаемое топливо, или топливных элементах. Предложено устройство для обработки смеси ископаемого топлива с водой, содержащее блок обработки смеси ископаемого топлива с водой, содержащий впускное отверстие (36), выпускное отверстие (38) и узел из двух или более труб (31) из немагнитного материала, имеющих круглое поперечное сечение, разные диаметры и расположенных концентрично, образуя множество промежуточных пространств и, таким образом, обеспечивая проточные каналы для смеси ископаемого топлива с водой между впускным отверстием (36) и выпускным отверстием (38). Внутренняя труба (32) и внешняя труба (33) электрически подсоединены к генератору (35) электрического тока, приспособленному для подачи импульсного тока, для обработки смеси ископаемого топлива с водой электромагнитным полем. 3 н. и 11 з.п. ф-лы, 5 ил.

Реферат

ОБЛАСТЬ ТЕХНИКИ, К КОТОРОЙ ОТНОСИТСЯ ИЗОБРЕТЕНИЕ

Настоящее изобретение относится к устройству для создания ископаемого топлива, содержащего объемы воды, для двигателей внутреннего сгорания в автомобилях, грузовиках и кораблях или другого использования двигателя для приведения в движение или получения энергии, а также бойлеров, топок, газовых турбин и других устройств, которые используют ископаемое топливо.

ПРЕДПОСЫЛКИ СОЗДАНИЯ ИЗОБРЕТЕНИЯ

В ряде публикаций описано смешивание воды с ископаемым топливом, таким как дизельное топливо. В патенте US №5156114 описан способ, включающий введение воздуха и водосодержащего топлива в систему введения топлива для двигателя. Упомянутое водосодержащее топливо содержит воду от примерно 20% до примерно 80% по объему от общего объема топлива и углеродсодержащее топливо из этанола, метанола, газолина, керосинового топлива, дизельного топлива, углеродсодержащего газообразного или жидкого топлива или их смесей, при этом введение и сжигание упомянутой топливно-воздушной смеси в камере или камерах сгорания в присутствии водорода создает катализатор для приведения в действие двигателя.

Известные проблемы, связанные со смешиванием воды с ископаемым топливом, включают, например, разделение смеси после смешивания, поскольку плотность двух компонентов разная. Другой проблемой смешивания воды с ископаемым топливом является большой размер частиц воды в эмульсированном топливе, что приводит к тому, что большие частицы воды поглощают тепловую энергию для испарения воды. Были предприняты попытки впрыскивания чистого кислорода вместе с топливом, что привело к повреждению топливных форсунок, топливного насоса и даже повреждению двигателя. Другими проблемами являются конденсация воды в полости цилиндра после работы и наличие частиц воды в масле картера двигателя, сниженная температура воспламенения топлива, увеличение плотности смешанного топлива, повышение давления в системе подачи топлива и промасливание системы подачи топлива. Это лишь некоторые из проблем, связанные с качеством смеси и с введением/впрыском в двигатель.

СУЩНОСТЬ ИЗОБРЕТЕНИЯ

Исходя из этого, целью данной заявки является создание устройства, обладающего улучшенными возможностями смешивания для улучшенного смешивания топлива с водой.

Данная цель достигается посредством создания устройства для обработки смеси ископаемого топлива с водой для использования в двигателях внутреннего сгорания, бойлерах, отопительных установках, газовых турбинах или любой другой машине, сжигающей ископаемое топливо, или топливных элементах, причем упомянутое устройство содержит блок обработки для обработки смеси ископаемого топлива с водой. Упомянутый блок обработки содержит впускное отверстие для впуска смеси ископаемого топлива с водой в блок обработки и выпускное отверстие для выпуска обработанной смеси ископаемого топлива с водой из блока обработки, и узел из двух или более труб из немагнитного материала, причем упомянутые две или более трубы имеют круглое поперечное сечение, и упомянутый узел расположен между упомянутым впускным отверстием и упомянутым выпускным отверстием. Упомянутые две или более трубы имеют разные диаметры, имеют по существу одинаковую длину, расположены в совмещении по длине и расположены концентрично с трубами, образующими множество промежуточных пространств, таким образом обеспечивая проточные каналы для смеси ископаемого топлива с водой между упомянутым впускным отверстием и упомянутым выпускным отверстием. Кроме того, самая внутренняя труба и самая внешняя труба электрически подсоединены к генератору электрического тока, и упомянутый генератор электрического тока приспособлен для выдачи импульсного тока, при этом самая внутренняя труба подсоединена к положительному полюсу генератора электрического тока, а самая внешняя труба подсоединена к отрицательному полюсу генератора электрического тока, чтобы тем самым подвергать смесь ископаемого топлива с водой, перемещающуюся через упомянутые промежуточные пространства, воздействию электромагнитного поля. Во время приложения импульсного электрического тока может также происходить зарядка и разрядка ионов в молекулах топлива и воды, и в то же время частичное окисление молекул топлива кислородом из воды, тем самым разделяя молекулярные цепочки топлива на более мелкие части, содержащие дополнительный водород в некоторых или всех разъединенных углеродных связях или углеродных концах в молекулярной цепочке топлива.

Термин «труба» в данном описании относится к любой полой структуре, имеющей продольное удлинение и по существу круглое поперечное сечение, такой как труба, трубка или цилиндр.

В варианте осуществления, упомянутый блок обработки дополнительно содержит распределительную камеру, соединенную с упомянутым впускным отверстием, для распределения потока смеси ископаемого топлива с водой между упомянутыми промежуточными пространствами. Кроме того, упомянутый блок обработки содержит коллекторную камеру, соединенную с упомянутым выпускным отверстием, для сбора потока обработанной смеси ископаемого топлива с водой из упомянутых промежуточных пространств, и резервуар, содержащий смесь ископаемого топлива с водой, первый канал, соединяющий упомянутый резервуар с впускным отверстием блока обработки, второй канал, соединяющий выпускное отверстие блока обработки с упомянутым резервуаром.

В варианте осуществления, упомянутый блок обработки дополнительно содержит поверхность на внутренней стороне самой внешней трубы устройства, покрытую металлическими частицами и, кроме того, самая внешняя труба изолирована от соседней трубы электроизоляционным материалом. Кроме того, на конце труб, ближайшем к впускному отверстию для смеси топлива с водой, расположены два или более постоянных магнитов в ориентации полюсов юг на юг, причем упомянутые постоянные магниты расположены на двух противоположных сторонах труб так, что южный полюс постоянных магнитов обращен к трубам, и, наконец, поверхность на внешней стороне по меньшей мере одной из внутренних труб содержит активированный уголь.

В варианте осуществления, жидкость, содержащая водород и кислород, которая должна быть смешана с топливом, содержит по меньшей мере 80-100% водорода и кислорода.

В варианте осуществления, смесь топлива с водой содержит по меньшей мере 5-95% ископаемого топлива.

В варианте осуществления, смесь топлива с водой содержит по меньшей мере 50-95% ископаемого топлива.

В варианте осуществления, упомянутый блок обработки образован из труб из нержавеющей стали.

В варианте осуществления, упомянутый блок обработки образован из труб из электропроводного магнитного материала.

В варианте осуществления, упомянутый блок обработки дополнительно содержит материал для обработки, размещенный в промежуточном пространстве между трубами.

В варианте осуществления, упомянутый материал для обработки в камере обработки представляет собой тонкую проволоку из натурального шелка.

В варианте осуществления, упомянутый материал для обработки в камере обработки представляет собой другой материал, обладающий свойствами, схожими со свойствами шелка.

В варианте осуществления изобретения, управление заполнением блока обработки осуществляется при помощи регулировочного клапана для смеси.

В варианте осуществления, блок обработки содержит металлические частицы, выбираемые из, но не ограниченные группой, включающей Al, Si, Zn, FeO и CuO.

В варианте осуществления, блок топливного процессора является частью упомянутого блока обработки.

В варианте осуществления, блок топливного процессора образует самое внутреннее промежуточное пространство упомянутого блока обработки.

В варианте осуществления, металлические частицы в упомянутом блоке обработки заземлены, чтобы отводить заряд.

Может быть использована специальная разрядная система, содержащая две цепи, заряжающие и разряжающие отдельно в разное время, так что зарядка и разрядка упомянутых двух цепей осуществляется не одновременно, а рассинхронизированно так, что одна цепь является зарядной, а другая цепь является разрядной.

Кроме того, настоящее изобретение относится к способу выдачи обработанной смеси ископаемого топлива с водой в двигатели внутреннего сгорания, бойлеры, отопительные установки или газовые турбины посредством применения устройства, содержащего блок обработки в соответствии с изобретением.

Кроме того, настоящее изобретение относится к горючей обработанной смеси топлива с водой, получаемой способом выдачи обработанной смеси ископаемого топлива с водой в двигатели внутреннего сгорания, топки, отопительные установки или газовые турбины посредством применения устройства, содержащего блок обработки в соответствии с изобретением.

В варианте осуществления изобретения, упомянутое устройство дополнительно содержит машину, сжигающую ископаемое топливо, а также третий канал, соединяющий по текучей среде упомянутый резервуар с упомянутой машиной, сжигающей ископаемое топливо, и четвертый канал, соединяющий упомянутую машину, сжигающую ископаемое топливо, с упомянутым резервуаром.

В варианте осуществления изобретения, упомянутое устройство дополнительно содержит топливный элемент.

В варианте осуществления изобретения, упомянутое устройство дополнительно содержит множество магистральных насосов для распределения топлива и воды в упомянутом устройстве.

Настоящее изобретение обеспечивает новый способ и устройство смешивания воды с топливом. Проблема смешивания воды с топливом заключается в том, что они представляют собой две совершенно разные жидкости, такие как жидкости, отличающиеся по плотности примерно на 30%. Решение, предусматриваемое настоящим изобретением, заключается в том, чтобы смешивать эти две жидкости, используя блок обработки в соответствии с настоящим изобретением, чтобы получать полезную горючую текучую среду без потери части тепловой энергии при испарении воды, например, в цилиндре сгорания. Устройство, представленное в настоящем изобретении, раскрывает блок обработки, в котором смесь топлива с водой подвергается воздействию импульсного электрического тока, приводящему к зарядке и разрядке ионов молекул, находящихся внутри упомянутого устройства. Упомянутый блок обработки образован из двух или более труб разного диаметра, расположенных так, чтобы окружать друг друга, при этом труба с самым малым диаметром является самой внутренней трубой, а труба с самым большим диаметром, является самой внешней трубой. Самая внутренняя и самая внешняя трубы подсоединены к электрическому импульсному генератору, который генерирует импульсный электрический ток. Поверхность соседних труб может быть разделена тонкой сеткой из материала, такого как натуральный шелк. Для разделения воды на более мелкие частицы могут быть также использованы другие материалы, пригодные для эффективного рассеивания частиц текучей среды. Один возможный вариант может заключаться в том, что в блоке обработки молекулы Н теряют один ион и, следовательно, становятся избыточно заряженными, а О2 будет обеспечивать реакцию горения как О2 катализатор в камере внутреннего сгорания и может связывать углерод посредством частичного окисления углерода в молекулярных цепочках топлива, приводя к улучшенным условиям смешивания топлива с водой. Концы труб могут содержать два или более постоянных магнитов в ориентации полюсов юг на юг между ними. Магнитное поле, создаваемое такими магнитами, может приводить к улучшенным условиям смешивания топлива с водой, причем магнитное поле может создаваться посредством постоянных магнитов или электромагнитов. Внутренняя поверхность самой внешней трубы покрыта металлическими частицами, такими как алюминий. Когда молекулы топлива проходят через блок обработки, один возможный вариант может заключаться в том, что положительный электростатический заряд молекул Н в цепочке ископаемого топлива уменьшается, что может быть вызвано отрицательно заряженными частицами алюминия, находящимися на поверхности труб. Смешивание воды с топливом происходит или в отдельном резервуаре, или в блоке обработки. Блок обработки может дополнительно содержать внутреннюю трубу, которая содержит активированный уголь. В блоке обработки появляются избыточно заряженные молекулы топлива, если удаляется один ион из одной из молекул Н. Затем из блока обработки обработанная смесь ископаемого топлива с водой направляется снова в блок обработки для полного расщепления молекул углерода в топливе. Настоящее изобретение позволяет получать смешанное топливо, которое может быть использовано в самых разных дизельных двигателях и бойлерах, поскольку частицы воды уменьшаются, не приводя к значительному снижению температуры воспламенения топлива.

В одном аспекте изобретения, упомянутое устройство содержит три разных блока и канал для их соединения. Во-первых, первый блок предусмотрен для обработки Н2О. Данный блок содержит две или более труб разного диаметра, причем труба меньшего диаметра расположена внутри трубы большего диаметра. Самая внутренняя труба и самая внешняя труба подсоединены к импульсному генератору, который способен создавать импульсное электромагнитное поле. Модулированный импульсный ток из свернутого электромагнитного поля может быть следствием импульсного электромагнитного поля. Кроме того, промежуточное пространство между трубами может содержать разделительный материал, такой как шелк. Во-вторых, второй блок может быть предусмотрен для подготовки ископаемого топлива перед смешиванием с водой. Данный блок может дополнительно содержать две или более труб, изготовленных из немагнитного материала, такого как нержавеющая сталь, причем поверхность на внутренней стороне самой внешней трубы покрыта металлическими частицами. Самая внешняя труба изолирована от соседней трубы изоляционным материалом, таким как керамика. Две трубы могут быть подсоединены к источнику питания, выдающему импульсный заряд посредством одной или нескольких катушек индуктивности, генерирующих импульсное магнитное поле и таким образом импульсное свертывание магнитного поля. Кроме того, на одном конце труб предусмотрены два или более постоянных магнитов, предпочтительно очень сильных магнитов, таких как Fe-Nd-B магниты для приложения внутри труб магнитных полей свыше 0,1 Тесла. Постоянные магниты расположены с ориентацией полюсов юг на юг рядом друг с другом. Самая внутренняя труба может дополнительно содержать активированный уголь. Третий блок может представлять собой блок смесителя для смешивания обработанной воды с обработанным топливом и удерживания смешанного раствора в циркуляционной емкости так, что обработанная смесь топлива с водой готова для использования. Упомянутый смеситель может содержать одну или несколько труб, впускные отверстия для воды и для топлива, отверстия для обработанного газа и обработанного топлива, чтобы обеспечить надлежащее перемешивание, и выпускное отверстие, ведущее в двигатель внутреннего сгорания.

КРАТКОЕ ОПИСАНИЕ ЧЕРТЕЖЕЙ

В приведенном ниже подробном описании изобретение будет объяснено более подробно со ссылкой на примерные варианты осуществления, показанные в чертежах, из которых:

Фиг. 1 представляет собой схему системы, содержащей устройство в соответствии с примерным вариантом осуществления изобретения,

Фиг. 2 представляет собой вид в разрезе блока обработки в соответствии с примерным вариантом осуществления изобретения,

Фиг. 3 представляет собой перспективный вид узла труб блока обработки в соответствии с примерным вариантом осуществления изобретения,

Фиг. 4 представляет собой график зависимости расхода дизельного топлива от скорости двигателя, и

Фиг. 5 представляет собой график зависимости выбросов NOx от скорости двигателя.

ПОДРОБНОЕ ОПИСАНИЕ ИЗОБРЕТЕНИЯ

Показанные ниже варианты осуществления и оценки относятся к устройству и способу настоящего изобретения.

В данном описании упомянутое устройство и упомянутый способ применимы для устройств, которые используют ископаемое топливо, таких как, помимо прочих, двигатели внутреннего сгорания, бойлеры, топки и газовые турбины.

В данном описании термин «топливный процессор» относится к блоку для подготовки молекул ископаемого топлива так, чтобы они лучше смешивались с водой, посредством избыточной зарядки молекул топлива и придания им одинаковой ориентации.

В данном описании термин «блок смесителя» относится к блоку для смешивания обработанной воды и обработанного топлива в магнитном поле.

В варианте осуществления настоящего изобретения, блок обработки воды образован из труб, изготовленных из нержавеющей стали.

В варианте осуществления настоящего изобретения, разделяющий материал в блоке обработки воды выполнен из тонкой проволоки из натурального шелка, чтобы выдавать более мелкие частицы воды на поверхность трубы.

В варианте осуществления настоящего изобретения, управление заполнением блока обработки осуществляется при помощи регулировочного клапана для смеси.

В варианте осуществления настоящего изобретения, заливка топлива может быть обеспечена при помощи отдельного управляемого блока дозирования как для топлива, так и для воды, управляемого центральным блоком управления, гарантирующим, что всегда имеется достаточно топлива и воды для данной требуемой выходной мощности. Требуемая выходная мощность вводится в центральный блок управления.

В варианте осуществления настоящего изобретения, упомянутые металлические частицы изолированы от внутренних труб хорошей изоляцией, и алюминий заземлен, чтобы отводить заряд.

В варианте осуществления настоящего изобретения, две из упомянутых труб подсоединены к источнику питания с импульсным зарядом из свернутой катушки индуктивности.

В варианте осуществления настоящего изобретения, источник электропитания может выдавать импульсный заряд, обеспечивающий подготовку топлива, с частотами в пределах от 100 до 250 кГц, например, 146 кГц, импульсного электрического тока, генерируемого в резонанс с водой.

В варианте осуществления изобретения, упомянутое устройство дополнительно содержит смеситель, состоящий из трубы, изготовленной из меди или нержавеющей стали, причем упомянутый смеситель заполнен активированным углем. Упомянутый смеситель может представлять собой отдельный блок или выполнен в виде части блока обработки, т.е. самой внутренней трубы упомянутого блока. Такой объединенный блок обработки может содержать смеситель и дополнительно топливный процессор, используемый для подготовки молекул топлива или углеводорода для лучшего ионного обмена посредством зарядки камеры с положительным полюсом импульсного генератора, а другой полюс соединен с промежуточной трубой смесителя. Внешняя труба изолирована от внутренних труб хорошим электрическим изолятором, таким как керамический материал, и пространство между данным изолятором и внешней трубой заполнено частицами железа или алюминия. Данная часть трубы заряжается отрицательными зарядами посредством импульсного генератора.

Достаточно, чтобы генератор электрического тока обладал относительно малой выходной мощностью, обычно менее 50 Вт. Поэтому генератор электрического тока может приводиться в действие посредством стандартного генератора в автомобиле.

В варианте осуществления настоящего изобретения, внутренняя поверхность самой внешней трубы блока топливного процессора покрыта металлическими частицами, такими как, помимо прочих, Al, Si, Zn, FeO и CuO. Упомянутые частицы предназначены для увеличения поверхности трубы и выпуска части иона на молекулах.

Фиг. 1 представляет собой принципиальную схему системы настоящего изобретения, показывающую как упомянутое устройство и упомянутый способ работают вместе при смешивании воды с ископаемым топливом для двигателей внутреннего сгорания. На упомянутом чертеже показан резервуар 1 для размещения смеси топлива с водой и первый канал 2, по которому смесь топлива с водой направляется в блок 3 обработки, где смесь топлива с водой подвергается обработке посредством воздействия электромагнитного поля. Затем смесь топлива с водой из блока 3 обработки возвращается обратно в резервуар 1 через второй канал 4.

Дополнительное ископаемое топливо может подаваться из резервуара 9 для топлива в резервуар 1, и дополнительная вода может подаваться из резервуара 10 для воды в резервуар 1. Кроме того, может быть осуществлена предварительная обработка топлива посредством уменьшения положительного электростатического заряда молекул Н в цепочке молекулы топлива, чтобы привести топливо к такой же резонансной частоте, как у воды или другой жидкости, содержащей водород и кислород, такой как пероксид водорода или смесь газообразного водорода с кислородом, чтобы обеспечить улучшенные возможности для смешивания воды и топлива в блоке 3 обработки. Затем заряженное топливо пропускают в блок обработки, где жидкая смесь водорода с кислородом и заряженное избыточным зарядом топливо перемешиваются и оттуда могут быть впрыснуты в двигатель 5 внутреннего сгорания. Избыточный газ может также пропускаться через третий 6 и четвертый 7 каналы для смешивания с дополнительной водой и топливом для полного внутреннего сгорания в двигателе 5.

Предварительная подготовка воды может осуществляться в отдельном блоке обработки воды, образованном из труб, изготовленных из нержавеющей стали, имеющих разные диаметры, вставленных одна в другую, с тонким слоем материала, размещенного между ними. Упомянутый тонкий материал может представлять собой сетку из натурального шелка, которая распределяет воду по всей площади между поверхностью двух труб, чтобы разделять воду на более мелкие частицы и предоставлять воде большую площадь поверхности внутри камеры. Самая внутренняя и самая внешняя последние трубы подсоединены к импульсному генератору, который генерирует модулированные импульсы тока, возникающие из свернутых электромагнитных полей. Самая внутренняя труба может быть заряжена положительным зарядом, а самая внешняя труба - отрицательным зарядом. Такую конструкцию из нескольких труб разного диаметра, размещенных одна внутри другой и разделенных материалом для распределения воды, подвергаемой обработке, можно сравнить с конденсатором, состоящим из цилиндрических пластин разного размера, причем пластины никогда не способны обеспечить одинаковое количество электрического заряда на их поверхности. Внутренняя поверхность большей трубы заряжена отрицательно, поскольку внешняя поверхность соседней меньшей трубы заряжена положительна. Благодаря такой конструкции часть данной зарядки и разрядки между упомянутыми поверхностями инициируется для того, чтобы имитировать резонанс в молекулах воды и топлива. Это может приводить к разрыву связей между молекулами водорода и кислорода и/или разрыву цепочек молекул топлива. Самая внутренняя и самая внешняя последние трубы подсоединены к импульсному генератору, который генерирует модулированные импульсы тока, тем самым обеспечивая условие для свернутых электромагнитных полей и модулированных импульсом электрического тока.

Предварительная подготовка топлива перед смешиванием с молекулами кислорода и водорода может осуществляться в отдельном блоке обработки топлива. В варианте осуществления, упомянутый блок обработки топлива может состоять из двух или более труб, размещенных одна внутри другой, изготовленных из немагнитного материала, такого как нержавеющая сталь, и при этом поверхность самой внешней трубы покрыта частицами алюминия диаметром в несколько миллиметров или какого-либо другого материала, облегчающего ионный обмен. Частицы алюминия изолированы от поверхности соседней трубы изоляционным материалом, например, слоем керамики. Алюминий может быть заземлен, чтобы отводить заряд. Две из упомянутых труб подсоединены к источнику питания для подачи импульсного заряда, возникающего из свернутых магнитных полей в трубах, функционирующих как катушки индуктивности. Кроме того, на обоих концах труб в блоке обработки топлива могут быть размещены сильные магниты на каждой стороне блока обработки топлива в ориентации полюсов юг на юг. Магниты могут ориентировать магнитный спин молекул топлива благодаря приложенному внешнему магнитному полю от постоянных магнитов. Постоянное или электромагнитное поле и импульсное электромагнитное поле совместно будут оказывать влияние на устойчивость молекулярной цепочки топлива, поэтому когда они проходят мимо частиц углерода, один или несколько электронов водорода в молекулах топлива могут высвобождаться.

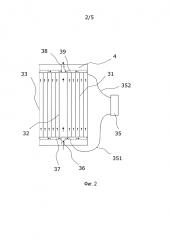
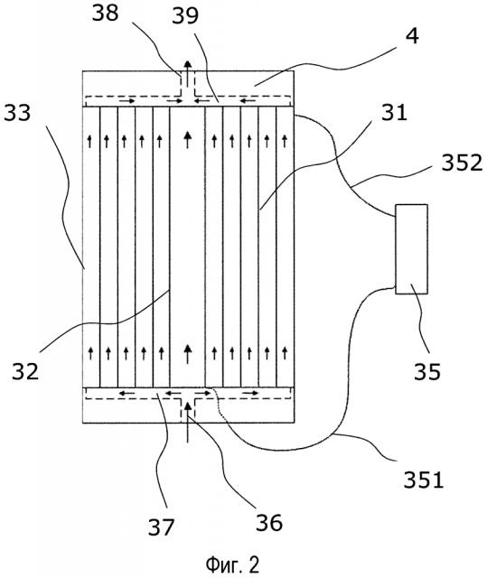
Фиг. 2 представляет собой схематичный чертеж примерного варианта выполнения блока 3 обработки, который предназначен для обработки ископаемого топлива и воды так, что они улучшают свои возможности смешивания и удерживания обработанной смеси в циркуляционной емкости, подготовленной для использования. Блок 3 обработки содержит две или более труб 31 с круглым поперечным сечением, имеющих разный диаметр и по существу одинаковую длину, расположенных в совмещении по длине и концентрично, причем труба с наименьшим диаметром расположена так, что она является самой внутренней в пределах труб, имеющих большие диаметры, а труба с наибольшим диаметром расположена так, что она является самой внешней, окружая трубы, имеющие меньшие диаметры, при этом в упомянутых трубах образуется множество промежуточных пространств между трубами. Самая внутренняя труба 32 и самая внешняя труба 33 образуют пространство между самой внутренней трубой и самой внешней трубой для впуска смеси ископаемого топлива с водой. Кроме того, самая внутренняя труба и самая внешняя труба электрически подсоединены к генератору 35 электрического тока, способному подводить импульсное электромагнитное поле к смеси ископаемого топлива с водой, находящейся в пространстве между самой внутренней и самой внешней трубами, поскольку самая внутренняя труба подсоединена к положительному полюсу 351 генератора 35 электрического тока, а самая внешняя труба подсоединена к отрицательному полюсу 352 генератора 35 электрического тока. Кроме того, блок 3 обработки содержит впускное отверстие 36 для впуска смеси ископаемого топлива с водой в блок обработки и распределительную камеру 37 для распределения потока смеси ископаемого топлива с водой между промежуточными пространствами. Для того чтобы обеспечить надлежащее распределение смеси топлива с водой в блоке 3 обработки, распределительная камера обеспечивает оптимальное распределение в множестве промежуточных пространств между множеством труб 31. На другом конце множества труб блок обработки содержит выпускное отверстие 38 для выпуска обработанной смеси ископаемого топлива с водой из блока обработки в коллекторную камеру 39 для сбора потока обработанной смеси ископаемого топлива с водой из промежуточных пространств.

На фиг. 3 показан узел из шести труб 31, имеющих круглое поперечное сечение. Шесть труб 31 имеют разные диаметры и по существу одинаковую длину. Кроме того, на фиг. 3 показано, что трубы расположены в совмещении по длине и концентрично с упомянутыми трубами, образующими множество промежуточных пространств, таким образом, обеспечивая проточные каналы для смеси ископаемого топлива с водой между трубами. Перспективный вид узла на фиг. 3 не является подлинно трехмерным, но для описания узла труб 31 данный перспективный вид является достаточным.

В другом варианте осуществления изобретения газ, содержащий водород и кислород, входит в блок обработки через изолированную трубу и заполняет специальную камеру блока обработки. Данная камера предпочтительно представляет собой пространство между самой большой и второй самой большой трубами в блоке обработки и предпочтительно содержит металлические частицы, такие как частицы алюминия или железа. Кроме того, данная камера должна быть отделена от внутренних труб изолирующей трубой, например, из текстолита или керамического материала. Самая внутренняя труба может содержать активированный уголь.

Внутренняя поверхность самой внешней трубы может содержать металлические частицы, такие как частицы Fe или Al, чтобы участвовать в ионном обмене воды и топлива, когда они попадают в данную трубу. В одном конце блока обработки могут быть дополнительно размещены постоянные магниты или электромагниты, чтобы создавать направленное магнитное поле, чтобы придавать молекулам в блоке обработки одинаковую ориентацию магнитного спина. Внутренняя поверхность самой внешней трубы может также содержать неметаллические частицы.

Лабораторные испытания показали, что обработка смеси топлива с водой с использованием вышеописанного устройства может приводить к значительному снижению расхода топлива. Как показано на графике на фиг. 4, после обработки смеси, содержащей 20% воды и 80% дизельного топлива, с использованием блока обработки в соответствии с настоящим изобретением расход дизельного топлива значительно снизился. Испытания проводились в аккредитованной лаборатории Revolve Technologies LTD, Великобритания с использованием двигателя Ford 1,6 L DV6 115PS (4-цилиндрового, VGT turbo, дизель) при пяти разных скоростях двигателя. Двигатель DV6 14 был соединен с динамометром без выхлопа после обрабатывающего оборудования (т.е. DOC, EGR, DPF & LNT), но с динамометром BORGHI & SAVERI FE300S, и испытуемым топливом было топливо RED Diesel (45 Cetane). Как показано на фиг. 4, было получено пять контрольных точек при разных скоростях двигателя, при этом было отмечено очевидное уменьшение расхода дизельного топлива. Пятую контрольную точку при скорости двигателя 3500 об/мин получить было невозможно вследствие недостаточного выхода обработанной смеси топлива с водой в испытуемой установке. Однако более значительные размеры блока обработки или, в качестве альтернативы, несколько блоков обработки в сочетании могли бы обеспечить достаточные количества обработанной смеси топлива с водой. 1-я контрольная точка (1500 об/мин, 30,0 Нм): В данном режиме низкой скорости и минимальной нагрузки наблюдалось небольшое снижение расхода дизельного топлива, составившее 0,89%. Общая масса текучей среды, вводимой в двигатель для получения данного крутящего момента, увеличилась с 1,32 кг/час до 1,64 кг/час. 2-я контрольная точка (2205 об/мин, 68,1 Нм): В данном режиме скорости двигателя и нагрузки выгоды блока обработки стали очевидными. Уменьшилась как общая масса вводимой текучей среды, так и расход дизельного топлива, но выходной крутящий момент от двигателя остался неизменным. Масса вводимой текучей среды снизилась с 4,69 кг/час до 4,29 кг/час, что соответствовало уменьшению на 8,5%. Поскольку общая масса потребляемой текучей среды была меньше, это привело к большему снижению расхода дизельного топлива. Общее количество ископаемого топлива, необходимое для получения требуемого выходного крутящего момента 68,1 Нм, снизилось с 4,69 кг/час (100% дизельного топлива) до среднего значения 3,43 кг/час (80% дизельного топлива). Это соответствует экономии дизельного топлива 26,7% для всех проведенных испытаний. 3-я контрольная точка (2800 об/мин, 136,3 Нм): И снова общая масса текучей среды, подаваемой в двигатель, увеличилась с 9,63 кг/час до 11,47 кг/час. В течение большей части проведенных испытаний наблюдалось уменьшение расхода дизельного топлива. Среднее количество топлива, требующееся для получения крутящего момента 136,3 Нм, снизилось с 9,63 кг/час (100% дизельного топлива) до 9,18 кг/час (80% дизельного топлива), что соответствует зафиксированному снижению расхода топлива на 4,6%. 4-я контрольная точка (3185 об/мин, 195,9 Нм): В данном режиме двигателя было проведено ограниченное количество отдельных испытаний из-за наблюдаемой недостаточной подачи топлива и потери мощности, которые стали хуже, когда программа испытаний была выполнена. Однако даже при ограниченных испытаниях уже было очевидно значительное снижение расходуемого ископаемого топлива по сравнению с обычной системой подачи топлива. Зарегистрировано уменьшение расхода дизельного топлива на 21,1% вследствие снижения интенсивности расхода до 11,75 кг/час.

Кроме того, осуществляли контроль выбросов из двигателя, и очевидно, что в каждой контрольной точке в каждом из отдельных проведенных испытаний наблюдалось снижение выбросов NOx, как показано на графике на фиг. 5. При более высоких скоростях/нагрузках данное снижение составило примерно 60%. Общее снижение выбросов NOx из выхлопной трубы изменялось от 0,58% до впечатляющих 52,18% в режимах высокой нагрузки. Предполагается, что большая часть снижения выбросов NOx обусловлена уменьшением температуры сжигания вследствие добавления воды в топливо.

Узел из двух или более труб 31, размещенных между впускным отверстием 36 и выпускным отверстием 38, содержит две или более труб 31, имеющих разные диаметры и по существу одинаковую длину. Трубы размещены в совмещении по длине так, что они перекрывают друг друга в продольном направлении, т.е. трубы расположены друг против друга в продольном направлении труб. Кроме того, трубы 31 расположены концентрично, тем самым образуя множество промежуточных пространств. Самая внутренняя труба представляет собой трубу с наименьшим диаметром. Самую внутреннюю трубу окружает труба, имеющая второй наименьший диаметр. Разница между диаметрами самой меньшей трубы и второй наименьшей трубы должна быть достаточно большой, чтобы обеспечить промежуточное пространство между наименьшей и второй наименьшей трубой, когда они размещены концентрично в блоке 3 обработки, таким образом обеспечивая проточный канал для смеси ископаемого топлива с водой между наименьшей и второй наименьшей трубами. Аналогично этому, разница между диаметрами трубы с вторым наименьшим диаметром и трубы с третьим наименьшим диаметром должна быть достаточной большой, чтобы обеспечить промежуточное пространство между второй наименьшей трубой и третьей наименьшей трубой, когда они размещены концентрично в блоке 3 обработки, и то же самое с учетом соответствующих изменений относится к остальным трубам в блоке обработки.

Используемый в формуле изобретения термин «содержит» не исключает наличия других элементов и этапов. Термины в единственном числе, используемые в формуле изобретения, не исключают множественного числа. Один процессор, устройство или другой блок может выполнять функции нескольких средств, перечисленных в пунктах формулы изобретения.

Ссылочные позиции, используемые в формуле изобретения, не должны толковаться как ограничивающие объем изобретения.

Хотя настоящее изобретение описано подробно с целью объяснения, понятно, что такое подробное описание предназначено исключительно для данной цели, и специалисты в данной области техники могут выполнять изменения в нем без отхода от объема изобретения.

1. Устройство (100) для обработки смеси ископаемого топлива с водой для использования в двигателях внутреннего сгорания, бойлерах, отопительных установках, газовых турбинах или любой другой машине, сжигающей ископаемое топливо, или топливных элементах, причем упомянутое устройство содержит:

блок (3) обработки для обработки смеси ископаемого топлива с водой, причем упомянутый блок (3) обработки содержит:

впускное отверстие (36) для впуска упомянутой смеси ископаемого топлива с водой в блок (3) обработки,

выпускное отверстие (38) для выпуска обработанной смеси ископаемого топлива с водой из блока (3) обработки, и

узел из двух или более труб (31) из немагнитного материала, причем упомянутые две или более труб (31) имеют круглое поперечное сечение, и упомянутый узел расположен между упомянутым впускным отверстием (36) и упомянутым выпускным отверстием (38),

где упомянутые две или более труб (31) имеют разные диаметры, имеют по существу одинаковую длину, расположены в совмещении по длине и расположены концентрично с упомянутыми трубами (31), образуя множество промежуточных пространств, таким образом обеспечивая множество проточных каналов для упомянутой смеси ископаемого топлива с водой между упомянуты