УЛЛА СКЁТТ ЮУЛЬ-ХАНСЕН (LU)
УЛЛА СКЁТТ ЮУЛЬ-ХАНСЕН (LU) является правообладателем следующих патентов:

Устройство для обработки смеси ископаемого топлива с водой перед сжиганием в двигателях внутреннего сгорания
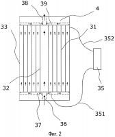
Изобретение может быть использовано в системах топливоподачи энергетических установок, сжигающих ископаемое топливо, или топливных элементах. Предложено устройство для обработки смеси ископаемого топлива с водой, содержащее блок обработки смеси ископаемого топлива с водой, содержащий впускное отверстие (36), выпускное отверстие (38) и узел из двух или более труб (31) из немагнитного материала, име...
2615291
Способ и устройство для увеличения газовой составляющей углеводородного топлива
Изобретение относится к обработке жидкого топлива для использования в двигателе внутреннего сгорания, котлах, нагревательных устройствах, газовых турбинах или любых других устройствах, сжигающих углеводородное топливо. Устройство содержит обрабатывающий блок для повышения газовой составляющей топлива. Обрабатывающий блок содержит впускное отверстие для приема углеводородного топлива в обрабатыв...
2659248