Способ и устройство для увеличения газовой составляющей углеводородного топлива

Иллюстрации

Показать все

Изобретение относится к обработке жидкого топлива для использования в двигателе внутреннего сгорания, котлах, нагревательных устройствах, газовых турбинах или любых других устройствах, сжигающих углеводородное топливо. Устройство содержит обрабатывающий блок для повышения газовой составляющей топлива. Обрабатывающий блок содержит впускное отверстие для приема углеводородного топлива в обрабатывающий блок и выпускное отверстие для отведения обработанного углеводородного топлива из обрабатывающего блока и узел из двух или более трубок из немагнитного материала. Две или более трубок имеют круглое сечение, и узел расположен между впускным отверстием и выпускным отверстием. Две или более трубок имеют различные диаметры, имеют по существу одинаковые длины, выровнены по длине и расположены концентрически с трубками, образуя множество промежуточных пространств, таким образом обеспечивая каналы течения для углеводородного топлива между впускными отверстиями и выпускным отверстием. Более того, наиболее близкая к центру трубка и наиболее удаленная от центра трубка электрически соединены с генератором электрического тока, и генератор электрического тока выполнен с возможностью подачи флуктуирующего тока, причем внутренняя трубка соединена с одним полюсом генератора электрического тока, и внешняя трубка соединена с другим полюсом генератора электрического тока, чтобы таким образом повысить газовую составляющую углеводородного топлива, протекающего через промежуточный резервуар. Изобретение позволяет увеличить газовую составляющую топлива, подаваемого на сжигание. 2 н. и 8 з.п. ф-лы, 3 ил.

Реферат

ОБЛАСТЬ ТЕХНИКИ

Настоящее изобретение относится к способу и устройству для обработки жидких углеводородных топлив для двигателей внутреннего сгорания в автомобилях, грузовиках и судах или других рабочих или силовых установках или для двигателей, таких как реактивные двигатели и турбины, а также котлов, горелок и других устройств, которые используют углеводородное топливо.

УРОВЕНЬ ТЕХНИКИ

В настоящее время различные типы двигателей используются для создания крутящего момента, и большая часть из них работает на ископаемых топливах, таких как бензин, дизельное топливо, природный газ, биодизельное топливо и так далее. С момента [создания] концепции двигателя внутреннего сгорания инженеры пытаются максимально уменьшить размер топливных частиц при впрыскивании жидкого топлива в цилиндр, чтобы обеспечить улучшенные условия горения. Для этой цели в настоящее время существуют различные улучшенные системы впрыска топлива, такие как тип с аккумулятором и другие типы впрыска в системах впрыска топлива для впрыска топлива в цилиндры двигателя. Даже в настоящее время инженеры по-прежнему пытаются максимально уменьшить размеры капель/частиц жидкого топлива при помощи высокого давления.

Существует множество технических проблем, которые требуют решения, если требуется обеспечить действительно хорошие условия горения. Насосы высокого давления, трубопроводы, инжекторы и множество частей, соединенных в систему, очень сложны и имеют больше возможных проблем и отказов, если используется сверхвысокое давление, и техническое обслуживание усложняется.

По существу, все типы углеводородного топлива подлежат смешиванию с кислородом из воздуха, например в цилиндре, чтобы достичь условия для горения или окисления.

Окисление топлива в цилиндре непосредственно связано с размерами или, лучше сказать, с различным состоянием вещества в топливе, и углеводородное топливо в жидкообразном состоянии совершенно отличается от [углеводородного топлива] в газообразном состоянии. Намного лучшие условия горения и окисления могут быть получены, если используется газообразного топливо, и в настоящее время уже существует множество применений систем с газообразным топливом на двигателях для автомобилей, грузовиков и других двигателях. Эти двигатели обычно являются дизельными или бензиновыми двигателями. В обоих случаях требуется установка на двигатель отдельной системы для впрыска газообразного топлива и для впрыска топлива в жидком состоянии, то есть требуются две отдельные системы впрыска. Обычно газообразное топливо поступает в цилиндр двигателя через воздухозаборник, и часто возникают проблемы в работе других частей топливной системы, таких как инжекторы, насосы высокого давления и так далее. Иногда газообразные топлива имеют очень плохие характеристики смазывания по сравнению с жидким топливом и, следовательно, через некоторое время использования части системы впрыска топлива могут быть повреждены.

Одновременно газовые системы установки на двигателях сложны, дороги, и по-прежнему требуется наполнять жидкое топливо в отдельный резервуар, помещенный где-то в автомобиле или другом транспортном средстве, таким образом занимая пространство, которое может быть использовано для других целей. Газовый резервуар требуется наполнять газообразным топливом, что требует инфраструктуры, такой как газозаправочные станции, распределенные по местности. Наполнение газообразного топлива в резервуар может являться даже опасным, и вопросы безопасности подлежат соблюдению.

Газ в качестве топлива более опасен, чем жидкое топливо, поскольку он может лучше смешаться с кислородом в воздухе и даже образовать горючую смесь, воспламеняющуюся при определенной концентрации.

Хотя имеется еще одна причина для использования газообразного топлива для горения. В настоящее время используется множество различных типов газов, таких как природный газ, извлеченный из газовых месторождений, и газ, полученный из топлива на нефтеперерабатывающем заводе в качестве топлива. Для того чтобы образовать газ из ископаемого топлива, требуется добавить энергию, и она может составлять до 35% энергии, которая может быть образована газообразным топливом. Таким образом, общая эффективность при образовании газа из жидкого ископаемого топлива не приемлема.

Газообразные топлива также имеют некоторые преимущества, такие как меньшее загрязнение и, например, улучшенные условия горения и меньшее количество загрязняющих веществ, таких как оксиды азота и оксид углерода.

Это является главной причиной того, почему возможность использования частично газированного жидкого топлива будет являться большим преимуществом.

СУЩНОСТЬ ИЗОБРЕТЕНИЯ

При данном уровне техники задачей настоящего изобретения является обеспечение устройства для обработки жидкого углеводородного топлива, так чтобы оно имело увеличенную газовая составляющая.

Эта задача достигается путем обеспечения устройства для обработки жидкого углеводородного топлива для увеличения газовой составляющей углеводородного топлива для использования с двигателями внутреннего сгорания, котлами, нагревательными устройствами, газовыми турбинами или любыми другими устройствами, сжигающими углеводородное топливо, причем устройство содержит: источник жидкого углеводородного топлива, обрабатывающий блок, для обработки углеводородного топлива, причем обрабатывающий блок содержит: впускное отверстие для приема углеводородного топлива в обрабатывающий блок, выпускное отверстие для отведения обработанного углеводородного топлива из обрабатывающего блока, и насос для подачи потока углеводородной текучей среды к впускному отверстию, узел из двух или более трубок из немагнитного материала, причем две или более трубок имеют круглое сечение, и узел расположен между впускным отверстием и выпускным отверстием, две или более трубок имеют различные диаметры, имеют по существу одинаковые длины, выровнены по длине и расположены концентрически с трубками, образуя множество промежуточных пространств, таким образом обеспечивая каналы течения для углеводородного топлива между впускным отверстием и выпускным отверстием, причем внутренняя трубка и внешняя трубка электрически соединены с генератором электрического тока, генератор электрического тока выполнен с возможностью подачи флуктуирующего тока, причем внутренняя трубка соединена с одним полюсом генератора электрического тока, и внешняя трубка соединена с другим полюсом генератора электрического тока, чтобы таким образом увеличить газовую составляющую в углеводородном топливе посредством промежуточных пространств, и причем генератор электрического тока выполнен с возможностью адаптации вырабатываемого тока к интенсивности потока углеводородной текучей среды к впускному отверстию.

Посредством обработки углеводородного топлива в обрабатывающем устройстве газовая составляющая углеводородного топлива увеличивается. Это обеспечивает улучшенный и более эффективный процесс горения в устройстве, в котором сжигается топливо. Газированное топливо находится в состоянии пены с некоторой частью жидкости между молекулами газа. Газообразная часть может являться газом различных типов, таким как метан, этан и другим типом жирных газов, таких как водород и кислород. Эти газы связаны жидкой пеной и наподобие смеси газа и жидкости могут быть доставлены в насос высокого давления двигателя и впрыснуты, например, в цилиндр двигателя внутреннего сгорания.

Обычные дизельные двигатели не могут использовать газ в качестве топлива, поскольку насос высокого давления не может сжать достаточное количество газа в камере сгорания, вследствие плотности невозможно использовать газ непосредственно в топливной системе, и в настоящее время альтернативная система впрыска газового топлива использует воздухозаборник для доставки газа в камеру сгорания.

Благодаря настоящему изобретению газообразное топливо может быть доставлено посредством традиционной подачи топлива дизельного двигателя, такой как с обычным жидким топливом, но с более высокой эффективностью сгорания, чем жидкое дизельное топливо.

Часть жидкости находится внутри газа, действует наподобие клеящего вещества между пузырьками газа и имеет целью улучшить давление в насосе высокого давления и смазать насос высокого давления и в то же время также другие части системы.

Это является главной причиной и главным отличием между газированным жидким топливом настоящего изобретения и топливом известных систем, поскольку в настоящем изобретении газообразное топливо используется с традиционной дизельной системой впрыска топлива без специальной [отдельной] системы впрыска для газообразного топлива.

В варианте выполнения устройство дополнительно содержит блок управления, соединенный с насосом и обрабатывающим блоком, причем блок управления выполнен с возможностью управления скоростью насоса и выполнен с возможностью адаптации флуктуирующего тока, выработанного генератором тока, в соответствии с подачей насоса.

В варианте выполнения устройство дополнительно содержит резервуар для временного хранения, содержащий обработанное и необработанное углеводородное топливо, первый патрубок с насосом в нем и соединяющий резервуар с впускным отверстием обрабатывающего блока, и второй патрубок, соединяющий выпускное отверстие обрабатывающего блока с резервуаром.

В варианте выполнения устройства резервуар для временного хранения выполнен с возможностью нахождения под давлением и в котором накопитель управляемо соединен с резервуаром для временного хранения, для того чтобы выровнить флуктуации давления в резервуаре для временного хранения.

В варианте выполнения устройство дополнительно содержит один или более датчиков давления, которые обеспечивают сигнал, показывающий давление в резервуаре для временного хранения.

В варианте выполнения блок управления выполнен с возможностью управления подачей насоса и выполнен с возможностью регулирования флуктуирующего тока в соответствии с текучей подачей насоса.

В варианте выполнения устройство дополнительно содержит топливный резервуар, который соединен с резервуаром для временного хранения, и насос, который выполнен с возможностью закачивания топлива из резервуара при атмосферном давлении в резервуар для временного хранения, находящийся под давлением.

В варианте выполнения устройства флуктуирующий ток является импульсным током с двумя сдвинутыми по фазе волнами, которые немного отличаются по частоте, для того чтобы вызывать резонанс.

Вышеописанная задача также достигается посредством обеспечения способа обработки жидкого углеводородного топлива для увеличения газовой составляющей углеводородного топлива для использования с двигателями внутреннего сгорания, котлами, нагревательными устройствами, газовыми турбинами или любыми другими устройствами, сжигающими углеводородное топливо, причем способ содержит: обеспечение обрабатывающего блока, для обработки углеводородного топлива, причем обрабатывающий блок содержит: впускное отверстие для приема углеводородного топлива в обрабатывающий блок, выпускное отверстие для отведения обработанного углеводородного топлива из обрабатывающего блока, и узел из двух или более трубок из немагнитного материала, причем две или более трубок имеют круглое сечение, и узел расположен между впускным отверстием и выпускным отверстием, две или более трубок имеют различные диаметры, имеют по существу одинаковые длины, выровнены по длине и расположены концентрически с трубками, образуя множество промежуточных пространств, таким образом обеспечивая каналы течения для углеводородного топлива между впускным отверстием и выпускным отверстием, электрическое соединение внутренней трубки и внешней трубки с полюсами генератора электрического тока, подачу флуктуирующий ток посредством генератора электрического, причем внутренняя трубка соединена с одним полюсом генератора электрического тока, и внешняя трубка соединена с другим полюсом, и в то же время направления углеводородного топлива через промежуточные пространства, чтобы таким образом увеличить газовая составляющая в углеводородном топливе, и адаптацию вырабатываемого тока к интенсивности потока углеводородной текучей среды к впускному отверстию.

Трубками в настоящем контексте называют любую полую конструкцию, имеющую продольное удлинение и по существу круглое сечение, такую как трубка, труба или цилиндр.

В варианте выполнения обрабатывающий блок дополнительно содержит распределительную камеру, соединенную с впускным отверстием, для распределения потока углеводородного топлива между промежуточными пространствами. Также, обрабатывающий блок содержит собирающую камеру, соединенную с выпускным отверстием, для сбора потока обработанного углеводородного топлива из промежуточных пространств, и резервуар, содержащий углеводородное топливо, первый патрубок, соединяющий резервуар с впускным отверстием обрабатывающего блока, второй патрубок, соединяющий выпускное отверстие обрабатывающего блока с резервуаром.

В варианте выполнения обрабатывающий блок дополнительно содержит внутреннюю поверхность самой внешней трубки устройства, покрытую металлическими частицами, и более того самая внешняя трубка изолирована от смежной трубки при помощи электроизоляционного материала. Также, два или более постоянных магнитов в ориентации полюсов юг-к-югу расположены на конце трубок, расположенном наиболее близко к впускному отверстию для топлива, и постоянные магниты расположены на двух противоположных сторонах трубок, причем южный полюс постоянных магнитов обращен к трубкам, и, наконец, внешняя поверхность по меньшей мере одной из внутренних трубок содержит активированный уголь.

В варианте выполнения обрабатывающий блок выполнен из трубок из нержавеющей стали.

В варианте выполнения обрабатывающий блок выполнен из трубок из электропроводного немагнитного материала.

В варианте выполнения обрабатывающий блок дополнительно содержит обрабатывающий материал, расположенный в промежуточном пространстве между трубками.

В варианте выполнения обрабатывающим материалом в обрабатывающей камере является тонкая нить из натурального шелка.

В варианте выполнения обрабатывающим материалом в обрабатывающей камере является другой материал, имеющий свойства, аналогичные свойствам шелка.

В варианте выполнения изобретения заполнение обрабатывающего блока управляется посредством регулирующего клапана [качества] смеси.

В варианте выполнения обрабатывающий блок содержит металлические частицы, выбранные, но не ограниченные ими, из группы алюминия (Al), кремния (Si), цинка (Zn), оксида железа (FeO) и оксида меди (CuO).

В варианте выполнения блок обработки топлива является частью обрабатывающего блока.

В варианте выполнения, блок обработки топлива образует наиболее близкое к центру промежуточное пространство обрабатывающего блока.

В варианте выполнения металлические частицы в обрабатывающем блоке заземлены для сброса заряда.

Специализированная система разрядки может быть использована, содержащая два контура, заряжающиеся и разряжающиеся по отдельности в различные моменты времени, так что зарядка и разрядка двух контуров не выполняется одновременно, а рассинхронизирована так, что один контур заряжается, в то время как другой контур разряжается.

Также, изобретение относится к способу обеспечения обработанного углеводородного топлива к двигателям внутреннего сгорания, горелкам, нагревательным устройствам или газовым турбинам посредством применения устройства, содержащего обрабатывающий блок согласно изобретению.

Более того, изобретение относится к сгораемому обработанному топливу, полученному способом обеспечения обработанного углеводородного топлива к двигателям внутреннего сгорания, горелкам, нагревательным устройствам или газовым турбинам посредством применения устройства, содержащего обрабатывающий блок согласно изобретению.

В варианте выполнения изобретения устройство более того содержит устройство сжигания углеводородного топлива. Также, третий патрубок, сообщающий по текучей среде резервуар с устройством сжигания углеводородного топлива, и четвертый патрубок, соединяющий устройство сжигания углеводородного топлива с резервуаром.

В варианте выполнения изобретения устройство более того содержит топливный резервуар.

В варианте выполнения изобретения устройство более того содержит множество рядных насосов для распределения топлива в устройстве.

Дополнительные задачи, признаки, преимущества и свойства устройства и способа согласно описанию будут ясны из подробного описания.

КРАТКОЕ ОПИСАНИЕ ЧЕРТЕЖЕЙ

В следующей подробной части настоящего описания изобретение будет описано более подробно со ссылкой на пояснительные варианты выполнения, показанные на чертежах, на которых:

Фиг. 1 - схематичный вид системы, содержащей устройство согласно примеру варианта выполнения изобретения,

Фиг. 2 - вид в сечении обрабатывающего блока согласно примеру варианта выполнения изобретения, и

Фиг. 3 - вид в перспективе узла из трубок обрабатывающего блока согласно примеру варианта выполнения изобретения.

ПОДРОБНОЕ ОПИСАНИЕ ИЗОБРЕТЕНИЯ

Следующие варианты выполнения и определения относятся к устройству и способу настоящего изобретения. В настоящем контексте устройство и способ применимы к устройствам, которые используют углеводородное топливо, таким как, но не ограничиваясь ими, двигатели внутреннего сгорания, котлы, горелки и газовые турбины.

В настоящем контексте термин блок обработки топлива относится к блоку для обработки жидкого углеводородного топлива так, чтобы газовая составляющая топлива увеличилась.

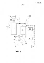
Фигура 1 - вид системы согласно примеру варианта выполнения настоящего изобретения, изображающий то, как устройство и способ работают для увеличения газовой составляющей углеводородного топлива для двигателей внутреннего сгорания. Фигура 1 показывает резервуар 1 для временного хранения углеводородного топлива и изображает первый патрубок 2, который направляет топливо в обрабатывающий блок 3 через циркуляционный насос 11. В обрабатывающем блоке 3 топливо обрабатывается посредством воздействия электромагнитного поля, чтобы получить зарядный и разрядный ток и электричество в камерах при помощи электромагнитного поля между частицами топлива, или молекулярной цепочкой. И затем обработанное топливо поступает обратно в резервуар 1 из обрабатывающего блока 3 через возвратный патрубок 4.

Дополнительное углеводородное топливо может быть подано из топливного резервуара 9 в резервуар 1 для временного хранения посредством приведения в действие насоса 15. Поскольку резервуар 1 [для временного хранения] может находиться под давлением вследствие образования газообразного топлива, накопитель 17 соединен с резервуаром 1 [для временного хранения], для того чтобы поглощать флуктуации объема и, таким образом, выравнивать флуктуации давления в резервуаре 1 и в патрубках, присоединенных к нему. В варианте выполнения устройство 100 снабжено аварийным клапаном сброса давления (не показан) и клапаном регулировки давления, для управления избыточным давлением или пониженным давлением в резервуаре 1, где пониженное давление имеет целью заполнение того же резервуара 1 новым топливом, чтобы компенсировать потребленное топливо, для поддержания давления в резервуаре 1 для временного хранения и системе ниже порога безопасного давления.

Углеводородное топливо перекачивается насосом 11 через циркуляционный патрубок 2 из резервуара 1 для временного хранения в обрабатывающий блок 3. В обрабатывающем блоке, который дополнительно описан более подробно ниже, газообразное содержимое углеводородного топлива увеличивается, и углеводородное топливо с увеличенной газовой составляющей направляется в резервуар 1 для временного хранения через циркуляционный патрубок 4. Следовательно один резервуар для временного хранения содержит смесь из углеводородного топлива, которое было обработано в обрабатывающем блоке 3, и необработанного углеводородного топлива. Устройство, которое сжигает топливо, например двигатель 5 внутреннего сгорания, втягивает текучую среду из резервуара 1 для временного хранения через линию 6 подачи топлива и топливный насос 8. В случае, если потребителем топлива является двигатель 5 внутреннего сгорания, этот двигатель 5 будет принимать топливо из резервуара для временного хранения в его систему впрыска топлива, включающую в себя насос для впрыска топлива и распылительные форсунки, как известно в данной области техники. Излишек топлива, доставленный в двигатель 5 внутреннего сгорания, возвращается обратно в резервуар для временного хранения через возвратный патрубок 7 для топлива. Возвратный [патрубок] 7 для топлива снабжен клапаном 14 регулирования давления, который в варианте выполнения может управляться электронным блоком 50 управления.

Блок 50 управления также соединен с циркуляционным насосом 11 и генератором 35 тока. Блок 50 управления является в варианте выполнения электронным блоком 50 управления, снабженным блоком обработки, который выполнен с возможностью управления и приведения в действие устройств, которые соединены с блоком 50 управления, в варианте выполнения также в зависимости от информации, принятой от датчиков.

Электронный блок 50 управления в варианте выполнения также выполнены с возможностью управления генератором 35 тока, то есть, чтобы обеспечить подходящий профиль, частоту и силу флуктуирующего тока в зависимости от интенсивности потока через обрабатывающий блок 3. В варианте выполнения электронный блок управления осведомлен об интенсивности потока через обрабатывающий блок посредством регулирования (скорости) циркуляционного насоса 11, который также управляется электронным блоком 50 управления.

В варианте выполнения обрабатывающий блок 3 для топлива может быть выполнен из двух или более трубок, расположенных внутри друг друга, выполненных из немагнитного материала, такого как нержавеющая сталь, и где поверхность самой внешней трубки покрыта частицами алюминия несколько миллиметров в диаметре или некоторым другим материалом, облегчающим ионный обмен. Частицы алюминия изолированы от поверхности смежной трубки при помощи изоляций, таких как керамический слой. Алюминий может быть заземлен для сброса заряда. Две из трубок соединены с источником питания для подачи импульсного заряда, вытекающего из исчезнувших магнитных полей в трубках, выступающих в качестве индуктивных катушек. Также на обоих концах трубок в обрабатывающем блоке для топлива могут быть расположены мощные магниты с каждой стороны обрабатывающего блока для топлива в ориентации полюсов юг-к-югу. Магниты могут ориентировать магнитный спин молекул топлива вследствие прикладываемого внешнего магнитного поля от постоянных магнитов. Постоянное или электромагнитное поле и импульсное электромагнитное поле совместно будут влиять на устойчивость молекулярной цепочки топлива, таким образом, когда через низ проходят углеродные частицы, один или более из электронов водорода в молекулах топлива может быть разряжен.

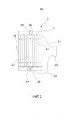
Фиг. 2 показывает схематичный чертеж примера варианта выполнения обрабатывающего блока 3, который служит для обработки углеводородного топлива так, чтобы газовая составляющая топлива увеличилась. Обрабатывающий блок 3 содержит две или более трубок 31 круглого сечения различных диаметром и по существу одинаковой длины, выровненные по длине и расположенные концентрически, в котором трубка наименьшего диаметра расположена наиболее близко к центру внутри трубок, имеющих большие диаметры, и в котором трубка с наибольшим диаметром расположена наиболее удаленно от центра, окружая трубки, имеющие меньшие диаметры, причем трубки образуют множество промежуточных пространств между трубками. Наиболее близкая к центру трубка 32 и наиболее удаленная от центра трубка 33 образуют пространство между наиболее близкой к центру трубкой и наиболее удаленной от центра трубкой для приема углеводородного топлива. Также в варианте выполнения наиболее близкая к центру трубка и наиболее удаленная от центра трубка электрически соединены с генератором 35 электрического тока, выполненным с возможностью подачи импульсного электромагнитного поля к углеводородному топливу, присутствующему в пространстве между наиболее близкой к центру и наиболее удаленной от центра трубкой, поскольку наиболее близкая к центру трубка соединена с полюсом 40 (например положительным полюсом) генератора 35 электрического тока, и наиболее удаленная от центра трубка соединена с полюсом 41 (например отрицательным полюсом) генератора 35 электрического тока. Также обрабатывающий блок 3 содержит впускное отверстие 36 для впуска углеводородного топлива в обрабатывающий блок и распределительную камеру 37 для распределения потока углеводородного топлива между промежуточными пространствами. Для обеспечения хорошего распределения смешанного топлива в обрабатывающем блоке 3 распределительная камера обеспечивает оптимальное распределение во множестве промежуточных пространств между множеством трубок 31. На другом конце множества трубок обрабатывающий блок снабжен выпускным отверстием 38 для выпуска обработанного углеводородного топлива из обрабатывающего блока и собирающую камеру 39 для сбора потока обработанного углеводородного топлива из промежуточных пространств.

Фиг. 3 показывает узел из шести трубок 31, имеющих круглое сечение. Шесть трубок 31 имеют различные диаметры и по существу одинаковые длины. Более того, на Фиг. 3 показано, что трубки выровнены по длине и расположены концентрически с упомянутыми трубками, образуя множество промежуточных пространств, таким образом обеспечивая каналы течения для углеводородного топлива между трубками. Вид в перспективе узла на Фиг. 3 не является истинно трехмерным, но для цели описания узла трубок 31 этот вид в перспективе является достаточным.

В другом варианте выполнения изобретения водородно-кислородный газ поступает в обрабатывающий блок через изолированную трубку и заполняет определенную камеру обрабатывающего блока. Эта камера предпочтительно является пространством между наибольшей и второй по размеру трубками в обрабатывающем блоке и предпочтительно содержит металлические частицы, такие как частицы алюминия или железа. Также эта камера должна быть отделена от внутренних трубок при помощи изоляционной трубки, например, выполненной из текстолита или керамического материала. Наиболее близкая к центру трубка может содержать активированный уголь.

В примере варианта выполнения внутренняя поверхность наиболее удаленной от центра трубки снабжена металлическими частицами, такими как частицы железа (Fe) или алюминия (Al). Более того, постоянные магниты или электромагниты могут быть расположены на одном конце обрабатывающего блока, чтобы обеспечить ориентированное магнитное поле, чтобы обеспечить молекулы в обрабатывающем блоке одинаковой ориентацией магнитного спина. Внутренняя поверхность наиболее удаленной от центра трубки также может содержать неметаллические частицы.

Испытания показали, что обработка углеводородного топлива, используя вышеописанное устройство, может привести к значительному снижению потребления топлива. Поскольку обеспечено лучше обработанное топливо, с меньшим частями цепочки, связанными с газом из углеводородного топлива, топливо находится в намного лучшем состоянии для горения вследствие улучшенных условий для окисления и улучшенного смешивания с (кислородом) из воздуха.

Узел трубки из двух или более трубок 31, расположенных между впускным отверстием 36 и выпускным отверстием 38, содержит две или более трубок 31 с различными диаметрами, и трубки имеют по существу одинаковые длины. Трубки выровнены по длине, так что они перекрываются в продольном направлении, то есть трубки противоположны друг другу в продольном направлении трубок. Более того, трубки 31 расположены концентрически, таким образом, образуя множество промежуточных пространств. Наиболее близкая к центру трубка является трубкой, имеющей наименьший диаметр. Окружающая наиболее близкую к центру трубку является трубкой, имеющей второй от наименьшего диаметра. Различие между диаметром наименьшей и второй от наименьшей трубки должен быть достаточно большим, чтобы обеспечить промежуточное пространство между наименьшей и второй от наименьшей трубки, когда расположена концентрически в обрабатывающем блоке 3, таким образом обеспечивая канал течения для углеводородного топлива между наименьшей и второй от наименьшей трубки. Аналогично, трубка, имеющая второй от наименьшего диаметр, и трубка, имеющая третий от наименьшего диаметра, должны иметь различие, достаточно большое для обеспечения промежуточного пространства между второй от наименьшей и третьей от наименьшей трубкой, когда расположены концентрически в обрабатывающем блоке 3, и то же, внося соответствующие изменения, относится к остальным трубкам в обрабатывающем блоке.

Флуктуирующий ток вызывает резонанс в трубках 31, 32, 33, который тесно связан с потоком текучей среды между трубками. Этот резонанс на листовом материале трубки очень тесно связан с потоком текучей среды между ними. Например, если используется поток без резонанса через промежуточные пространства, также может быть обеспечено некоторое разделение газа в жидкости, поскольку посредством потока достигается условие различного сопротивления в текучей среде, и даже топливо с практически нулевой проводимостью в жидкой форме может иметь некоторое разделение, и это проявляется в виде заряда на обкладке конденсатора.

В варианте выполнения жидкое топливо преобразуется в газообразное топливо двумя различными способами посредством добавления небольшого количества дополнительной энергии к процессу или посредством разрядки энергии из связей между молекулами. В случае, когда система используется для получения заряда из жидкого топлива, можно ожидать, что значительно меньшее количество газа будет выпущено, по сравнению со случаем, когда жидкое углеводородное топливо заряжается электрическим током при помощи потока с определенной резонансной частотой.

Дизельное жидкое топливо практически не обладает проводимостью, и сопротивление очень велико, поскольку оно является практически изолятором и практически невозможно добавить некоторое количество электричества внутрь жидкости. Это является главной причиной того, почему процесс зарядки не использует большое количество энергии. Одновременно, посредством использования резонанса в обрабатывающем блоке 3, где жидкое топливо находится в состоянии быстрого протекания через камеру, и промежуточные связи уже нарушены и одновременно частично разрушают топливную цепочку в другую структуру, результатом является большее количество газа, чем жидкости. Этот газ по-прежнему смешан с частью жидкости, такой как, например, мыло. Этот газ является смесью различных типов газов и жидкого компонента с очень тонкой жидкостной поверхностью вокруг кластеров молекул газа.

Отделение топлива или газа, извлекаемого из топлива, может быть выполнено любым известным способом, как описано в следующих примерах.

Жидкое топливное дизельное масло является топливом с низкой плотностью, сравнимой с водой, и этот тип топлива является очень стабильным топливом при ежедневном использовании, но в некоторых критических состояниях, например в точке кипения, точке замерзания или точке воспламенения, то же топливо изменяет свойство или состояние вещества. При том же условии изменения, энергия, которая используется для извлечения или добавления внутрь, используется для изменения состояния вещества из жидкого в газообразное при помощи резонанса.

Резонанс является вибрацией на частоте, которая может вызвать вибрацию жидкости, где жидкости обычно склонны при резонансе становиться наподобие наименьших из частей, которые могут быть в жидкости, что означает наподобие капель, и они подлежат растворению посредством разрушения связей между частями молекулярной цепочки, этот эффект проявляется в виде появления газа наподобие пены в резервуаре 1 для временного хранения.

Когда топливо проходит (с высокой скоростью) через циркуляционный насос 11, также может возникнуть кавитация, вызванная рабочим колесом насоса, и эта кавитация также может вызвать частичное растворение жидкости в газообразную форму.

Та же жидкость частично смешивается с уже растворенными газами, проходит через обрабатывающую камеру 3, причем газы уже присутствуют в жидком углеводородном топливе.

Эта смесь жидкого углеводородного топлива и газообразного углеводородного топлива проходит внутри обрабатывающего блока 3, причем его заряженные поверхности с высоким напряжением пульсируют с частотой, адаптированной к потоку.

При обычных условиях, когда эта смесь проходит через обрабатывающий блок без применения к ней электрического тока, нельзя ожидать получения каких-либо специальных результатов в отношении газирования углеводородного жидкого топлива, поскольку жидкое углеводородное топливо не имеет шансов получить заряд электронов из обрабатывающего блока 3 или разряд из него же, вследствие низкой проводимости углеводородного топлива, таким образом, топливо выступает в качестве резистора или изолятора.

Однако, если углеводородное топливо одновременно пропускается через рабочее колесо циркуляционного насоса 11 с высокой скоростью, в жидкости образуются кавитационные пузырьки, которые изменяют проводимость и сопротивление топлива и позволяют заряжать топливо, разряжать топливо или использовать резонанс, и условия в обрабатывающем блоке изменяются в зависимости от потока через циркуляционный насос 11.

Подвергание топлива воздействию кавитации до его поступления в обрабатывающий блок 3 уменьшает притяжение между молекулами водорода и углерода, и когда это топливо проходит через обрабатывающий блок 3 и флуктуирующий ток прикладывается к этому топливу и частичной смеси газов с топливом, и электроны с орбиталей подлежат смещению или выведению с их предыдущих положений, и когда это начинает происходить, возникает условие, которое отличается от обычного углеводородного топлива, и возникают липиды, смешанные с несколькими различными типами газа вместе с частью жидкости, по-прежнему находящейся внутри.

Эта часть жидкости может быть полностью выведена, если требуется использовать ее для некоторой другой цели, и возможно образовать чистый газ с некоторой жесткостью, такой как липиды из углеводородного топлива.

Это означает, что связь и даже управление осуществляется несколькими различными условиями, и эти условия следующие: кавитация в насосе 11, скорость потока в камере и сигнал, используемый для зарядки трубок в обрабатывающем блоке 3, должны быть точно настроены с другими факторами, чтобы обеспечить наибольший возможный резонанс в жидкой части углеводородного топлива.

Резонанс наподобие высокой заряженной энергии, сконцентрированной в электронах внутри топлива, вызывает растворение в комбинации газообразной и жидкой части.

Процесс также может быть использован в химической промышленности или на нефтеперерабатывающих заводах, чтобы улучшить эффективность топлива, почти не требуя добавления какой-либо энергии в процесс улучшения качества топлива.

Сложно разрушить связи между цепочкой молекул без температуры или энергии, используемой наподобие входного сигнала для системы. Настоящая технология отличается от традиционной технологии и используется по меньшей мере на 80% меньше, чем традиционные технологии, полностью без каких-либо загрязнений.

Обработанное топливо с более высоким содержанием газовой составляющей уменьшает выбросы, загрязнение и улучшает эффективность топлива.

В варианте выполн