Блок сточного желоба, в частности, для здания с крышей без карнизов

Иллюстрации

Показать все

Изобретение относится к области строительства, в частности к блоку сточного желоба. Технический результат изобретения заключается в повышении эксплуатационной надежности. Блок сточного желоба содержит кронштейн и закрывающее приспособление. Кронштейн имеет U-образную в форме крюка форму с выступами, обращенными наружу, его полка удерживает сточный желоб между кромкой, изогнутой по направлению внутрь от задней стенки полки, и изогнутой по направлению наружу передней кромкой кронштейна. Закрывающее приспособление подвешено на изогнутой передней кромке сточного желоба. Кронштейн имеет крепежные пазы на нижнем крае выступов на участке, расположенном за нижним передним изгибом, обращенные по направлению вниз и назад под острым углом (α), а закрывающее приспособление имеет переднюю поверхность, высота которой превышает высоту кронштейна, и наклонную поверхность, изогнутую от нижнего края по направлению вверх снизу кронштейна. Наклонная поверхность завершается фиксатором, выполненным с возможностью размещения в крепежных пазах посредством упругой деформации закрывающего приспособления. 2 з.п. ф-лы, 6 ил.

Реферат

Объектом изобретения является блок сточного желоба, используемый в сточных системах для крыши, балкона или террасы здания, за пределы фасада которой выступает передний край сточного желоба, в частности для здания с крышей без карнизов.

Известные блоки сточного желоба содержат крепежные кронштейны в форме крюка с U-образным поперечным сечением, обрамляющие сточный желоб в полке, а их выступы обращены наружу от поперечного сечения. В зданиях с крышей без карнизов, в которых сточная система сточных желобов и сливных труб часто содержится внутри по отношению к слою теплоизоляции, сточные желоба защищены закрывающим приспособлением, подвешенным на переднем крае сточного желоба и в целом скрывающим их в плоскости фасада здания. Одно из решений для условий конструкции, эквивалентных условиям крыши без карнизов, предложено в описании патентной заявки Германии DE 29714562 U посредством примера конструкции, раскрытой на фиг. 3. Сточная система для плиты балкона или террасы содержит поддон, кронштейны сточного желоба, присоединенные к передней поверхности плиты или наружной стены здания, сточный желоб, имеющий прямоугольное наклоненное вправо поперечное сечение, и закрывающее приспособление, установленное на наружном плече сточного желоба. Решение включает использование компонентов, выполненных из алюминиевых каналов, и является технически сложным. Крюкообразные кронштейны сточного желоба наиболее часто используемой конструкции имеют U-образную форму, а их выступы обращены наружу от поперечного сечения с обрамлением сточного желоба в полке, например, в соответствии с полезной моделью PL 64347. В заднем участке заподлицо с поверхностью приспособления выступы содержат установочные элементы, изогнутые по направлению наружу и имеющие установочные отверстия. Сточный желоб расположен между кромкой, изогнутой по направлению внутрь от задней стенки полки и изогнутой по направлению наружу передней кромкой кронштейна, прилегающей к изогнутому переднему краю сточного желоба.

В соответствии с настоящим изобретением блок сточного желоба имеет сходство с предыдущим описанием, с U-образным в форме крюка кронштейном, имеющим выступы, обращенные по направлению наружу от поперечного сечения, с обрамлением сточного желоба в полке между кромкой, изогнутой по направлению внутрь от задней стенки полки, и изогнутой по направлению наружу передней кромкой кронштейна. Закрывающее приспособление подвешено на изогнутой передней кромке сточного желоба. Сущность этого решения основана на том, что кронштейн содержит крепежные пазы на нижнем крае выступов на участке, расположенном за нижним передним изгибом, обращенные по направлению вниз и назад под острым углом, а закрывающее приспособление имеет переднюю поверхность, высота которой превышает высоту кронштейна, и наклонную поверхность, изогнутую от нижнего края по направлению вверх снизу кронштейна. Наклонная поверхность завершается фиксатором, выполненным с возможностью размещения в крепежных пазах посредством упругой деформации.

Наклонная поверхность закрывающего приспособления преимущественно изогнута в продольном направлении в центральном участке с образованием поперечного сечения в форме прерывистой линии, причем ее задний участок в области фиксатора расположен перпендикулярно относительно передней поверхности закрывающего приспособления.

Также преимущественно создание кронштейна, содержащего задний язычок, выполненный в форме полоски листового металла, припаянной к задней поверхности возле конца полки. Решение обеспечивает легкую установку закрывающего приспособления, прикрепленного к кронштейну посредством упругой деформации, а также придает участку сточного желоба предпочтительные эстетические архитектурные свойства.

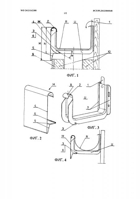
Решение, представленное блоком в соответствии с настоящим изобретением, раскрыто посредством описания приведенных в качестве примера конструкций, показанных на чертежах, на которых фиг. 1 изображает поперечное сечение блока сточного желоба, имеющего прямоугольный наклоненный вправо профиль, фиг. 2 и фиг. 3 изображают перспективные виды закрывающего приспособления и кронштейна соответственно, фиг. 4 изображает поперечное сечение блока сточного желоба, имеющего полукруглый профиль, а фиг. 5 и 6 изображают поперечное сечение и закрывающее приспособление другого блока сточного желоба, используемого для крыши без карнизов, в которой изогнутая кромка сточного желоба расположена выше верхнего края фасада здания и за ним.

Приведенные в качестве примера конструкции блока, изображенные на фиг. 1, 2 и 3, были приспособлены к условиям здания с крышей без карнизов, в которой наружная стена покрыта слоем 10 изоляции и слоем 9 фасадной штукатурки, общая толщина которых превышает ширину сточного желоба R. Стекание сточной воды обеспечено от крыши к сточному желобу R через сточную пластину, не показанную на чертеже. Расположение сточного желоба R, имеющего прямоугольное наклоненное вправо поперечное сечение, определено U-образными кронштейнами, прикрепленными к деревянной или пластиковой бордюрной рейке под крышей, обеспечивая закрепление U-образных кронштейнов посредством винтов через отверстия в установочных элементах 7. U-образный кронштейн выполнен в форме крюка, размеры которого определены каналом R сточного желоба, и выполнен из листовой стали с U-образным поперечным сечением с обрамлением сточного желоба R своей полкой, причем его выступы обращены наружу. Сточный желоб R расположен в U-образном кронштейне между задним язычком 1, выполненным в форме полоски листового металла, припаянной к задней поверхности возле конца полки. Задний язычок 1 вручную изогнут к заднему краю сточного желоба R после его установки в участок в U-образном кронштейне и опирается на изогнутую переднюю кромку возле переднего конца 2 U-образного кронштейна. U-образный кронштейн содержит крепежные пазы 3 на нижних краях выступов полки на участке, расположенном за нижним передним изгибом, обращенные по направлению вниз и назад под острым углом α. Закрывающее приспособление М подвешено на изогнутой передней кромке сточного желоба R и имеет переднюю поверхность 4, высота Н которой превышает высоту h U-образного кронштейна, и наклонную поверхность 5, изогнутую от нижнего края по направлению вверх снизу U-образного кронштейна, и заканчивающуюся фиксатором 6. Наклонная поверхность 5 изогнута в продольном направлении в центральном участке с образованием поперечного сечения в форме прерывистой линии, причем ее задний участок в области фиксатора 6 расположен перпендикулярно относительно передней поверхности закрывающего приспособления М. После подвешивания закрывающего приспособления М на передней кромке 2, посредством приложения давления к нижнему концу передней поверхности 4 специалист, осуществляющий сборку, обеспечит упругую деформацию U-образного кронштейна и размещение фиксатора 6 в крепежном пазу 3 закрывающего приспособления М. Отверстия 8 расположены в изогнутых по направлению наружу передних кромках 2 U-образных кронштейнов, через которые закрывающее приспособление М и сточный желоб R закрепляют посредством трубчатых заклепок на завершающих этапах сборки.

Решение, представленное блоком, изображенное на фиг. 1, 2 и 3, также может быть использовано при содержании крыш, карнизов, сточных желобов, имеющих полукруглый профиль, и при установке U-образных кронштейнов непосредственно к составному элементу фасада здания, например, изображенному на фиг. 4.

Приведенный в качестве примера блок сточного желоба, изображенный на фиг. 5, отличается от ранее описанных условий установки. Сточный желоб R расположен над верхним краем фасада 9 и за ним. Форма поперечного сечения закрывающего приспособления М, изображенногона фиг. 6, определена посредством передней поверхности 4, присоединенной к верхней изогнутой кромке, заканчивающейся углом 11. Наклонная поверхность 5 изогнута в углу 11 по направлению к фасаду 9 и завершается опорным участком 12, имеющим капельный край, изогнутый по направлению наружу. Закрывающее приспособление М и сточный желоб R закреплены посредством трубчатых заклепок 8 к передним кромкам U-образных кронштейнов.

Условные обозначения на фигурах:

U-образный кронштейн

1 задний язычок

2 передняя кромка

3 крепежный паз

М закрывающее приспособление

4 передняя поверхность

5 наклонная поверхность

6 фиксатор

7 установочный элемент

R сточный желоб

8 трубчатая заклепка

9 фасад

10 изоляция

11 угол

12 опорный участок

Н - высота передней поверхности

H - высота кронштейна

α - угол наклона крепежного паза

1. Блок сточного желоба, в частности, для здания без карнизов крыши, содержащий U-образный в форме крюка кронштейн, содержащий выступы, выходящие за пределы поперечного сечения, обрамляет сточный желоб своей полкой и определяет расположение сточного желоба между задней кромкой, обращенной внутрь от задней стороны полки, и изогнутой по направлению наружу передней кромкой кронштейна,

при этом закрывающее приспособление, подвешенное на изогнутой передней кромке сточного желоба, имеет переднюю поверхность, визуально скрывающую сточный желоб на виде спереди,

причем выступы кронштейна (U) имеют крепежные пазы (3) на нижних краях выступов полки на участке, расположенном за нижним передним изгибом, обращенные по направлению вниз и назад под острым углом, а

закрывающее приспособление (М) имеет переднюю поверхность (4), высота (Н) которой превышает высоту (h) кронштейна (U), и наклонную поверхность (5), отогнутую от нижнего края по направлению кронштейна (U) вверх, и завершающуюся фиксатором (6), выполненным с возможностью размещения в крепежных пазах (3) посредством упругой деформации.

2. Блок по п. 1, в котором наклонная поверхность (5) закрывающего приспособления (М) изогнута в продольном направлении в ее центральном участке с образованием поперечного сечения в форме прерывистой линии,

причем ее задний участок в области фиксатора (6) расположен перпендикулярно относительно передней поверхности (4) закрывающего приспособления (М).

3. Блок по п. 1, в котором задний язычок (1) кронштейна (U) выполнен из полоски листового металла, припаянной к задней поверхности возле конца полки.