PatentDB.ru — поиск по патентным документам

Иллюстрации к патенту 2625407

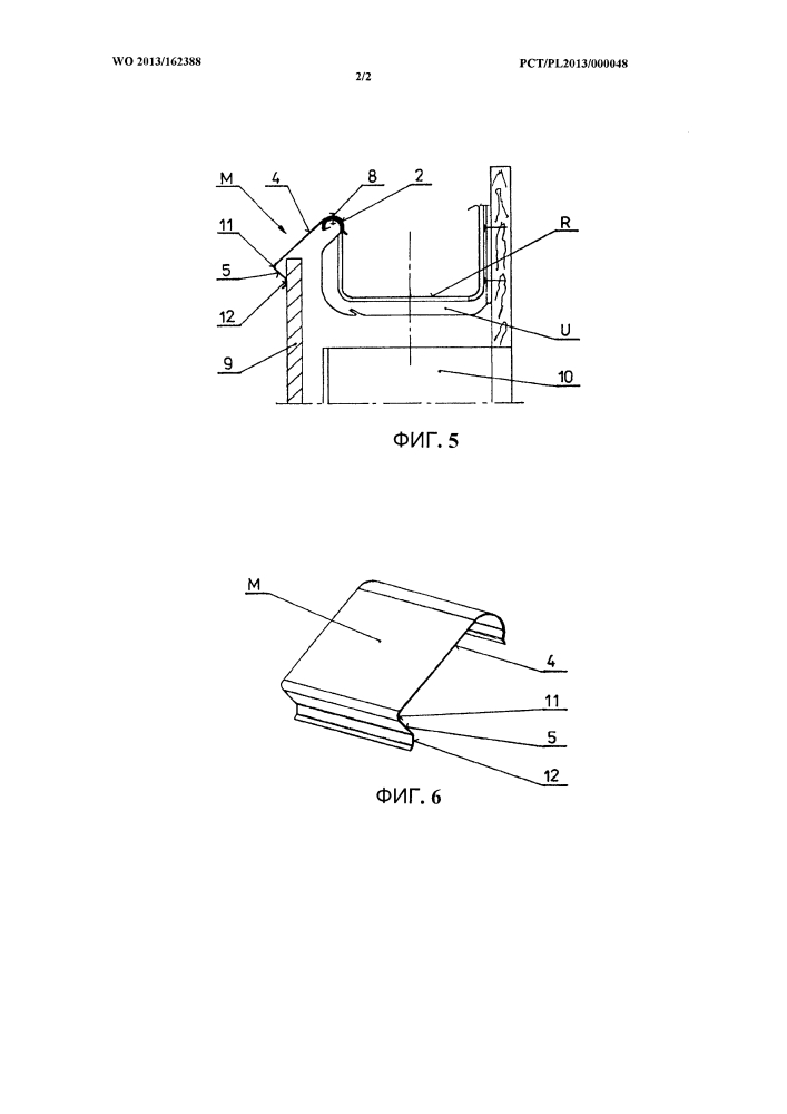
Блок сточного желоба, в частности, для здания с крышей без карнизов

Блок сточного желоба, в частности, для здания с крышей без карнизов (патент 2625407)