Пневматическая система плотной загрузки катализатора в байонетные трубы для реактора-теплообменника конверсии с водяным паром

Иллюстрации

Показать все

Изобретение относится к устройству и способу загрузки каталитических труб, используемых в трубчатых реакторах-теплообменниках, которые могут быть использованы при конверсии с водяным паром природного газа или различных углеводородных фракций с целью получения синтез-газа. Для плотной и равномерной загрузки катализатора в реактор-теплообменник конверсии с водяным паром, состоящий из множества систем из двух коаксиальных труб с кольцевым пространством между ними, заключенных в каландр, кольцевое пространство разделено на два или три одинаковых горизонтальных сектора. Каждый сектор простирается на всю длину труб посредством «центратора», расположенного в верхней части кольцевого пространства, и каждый сектор снабжен собственной системой съемных дефлекторов. Дефлекторы соединены между собой цепью, которая наматывается вокруг барабана, расположенного вне заполняемой трубы. Частицы катализатора подают в кольцевое пространство посредством воронки. 2 н. и 4 з.п. ф-лы, 2 ил., 1 пр.

Реферат

ОБЛАСТЬ ТЕХНИКИ

Настоящее изобретение относится к области загрузки каталитических труб, используемых в трубчатых реакторах для осуществления сильно эндотермических или сильно экзотермических реакций. Таким образом, настоящее изобретение применимо, в частности, к реактору конверсии с водяным паром природного газа или различных углеводородных фракций с целью получения смеси СО+Н2, называемой синтез-газом.

Можно выделить два больших семейства реакторов конверсии с водяным паром.

Реакторы, в которых тепло подводят при помощи системы горелок, расположенных внутри реактора, и реакторы, в которых тепло подводят при помощи жидкого или газообразного теплоносителя, обычно газообразных продуктов сгорания, причем указанное сгорание происходит вне самого реактора конверсии с водяным паром.

В некоторых реакторах этого последнего типа, которые в продолжении описания называют реакторами-теплообменниками, прибегают к использованию простых труб. В других прибегают к использованию концентрических двойных труб, называемых также байонетными трубами. Байонетная труба может быть определена как внутренняя труба, окруженная внешней трубой, коаксиальной внутренней трубе, при этом кольцевое пространство, находящееся между внутренней трубой и внешней трубой, обычно заполнено катализатором. В продолжении текста будут говорить о кольцевом пространстве или каталитической зоне, чтобы обозначить указанное кольцевое пространство, определенное байонетными трубами.

В рамках настоящего изобретения природный газ или, чаще, углеводородное сырье вводят через кольцевую зону с направлением потока сверху вниз, а реакционноспособные эфлюенты собирают в центральной части внутренней трубы с направлением потока снизу вверх.

Реакция конверсии природного газа с водяным паром с целью получения водорода является очень эндотермической и, следовательно, происходит, обычно, в печах или реакторах-теплообменниках в значении, определенном выше.

Реакция протекает при очень высоких температурах, типично 900°С, и давлении, типично, от 20 до 30 бар. В этих условиях только осуществление реакции внутри труб может рассматриваться в экономически приемлемых условиях по причине механической стойкости материалов.

Итак, каталитические реакторы-теплообменники состоят из множества труб, типично, порядка 200-350 труб для установки, производящей 100000 м3 (н.у.)/ч водорода, причем эта совокупность труб заключена в каландр, который принимает горячую текучую среду, позволяющую доставить калории, необходимые для реакции конверсии с водяным паром.

Эта горячая текучая среда или жидкий, или газообразный теплоноситель, обычно, представляет собой газообразные продукты сгорания, которое происходит вне реактора-теплообменника.

Таким образом, катализатор должен быть помещен во все трубы реактора конверсии с водяным паром равномерно от одной трубы к другой, для того чтобы иметь одинаковую потерю напора от одной трубы к другой.

Это условие является очень важным для того, чтобы гарантировать хорошее распределение реагентов по совокупности каталитических труб и избежать того, что, например, одна труба будет запитана в меньшей степени, что может привести к значительному перегреву материала, образующего трубу, этот перегрев настолько же уменьшает срок службы трубы.

Также важно, чтобы в трубе не существовало никакого пустого пространства, то есть без катализатора или обедненного катализатором, так как вновь труба могла бы локально перегреваться в результате нарушения каталитической реакции внутри. Кроме того, любая неоднородность в распределении катализатора в реакционной зоне может выражаться в неравновесном течении реакционноспособной текучей среды или реакционноспособных текучих сред.

Устройство согласно настоящему изобретению направлено таким образом на осуществление одновременно плотной и равномерной загрузки каждой из байонетных труб, являющихся составной частью реактора-теплообменника.

ПРЕДШЕСТВУЮЩИЙ УРОВЕНЬ ТЕХНИКИ

В обычной печи конверсии с водяным паром традиционная загрузка труб, которые имеют типичный внутренний диаметр 10 см, осуществляется при помощи мешков, заполненных катализатором, которые открыты на поверхности слоя. Этот способ загрузки известен специалистам в данной области под названием загрузка «с носка» и известен тем, что не создает значительной плотности загрузки.

Затем трубы подвергают вибрации при помощи ударов молотком вручную или системы для механической вибрации, чтобы способствовать помещению на место зерен катализатора, минимизировать пустые пространства и таким образом увеличить плотность загрузки. Однако избыточная вибрация может привести к разрушению зерен катализатора и к значительному увеличению потери напора.

Тем не менее, этим способом трудно осуществить высококачественную загрузку и, обычно, необходимо несколько раз воспроизводить операцию вибрации, чтобы добиться близких потерь напора от одной трубы к другой.

Другие улучшенные процедуры и установки были предложены под технологическим термином UnidenseTM, первоначально предложенным Norsk Hydro, или под технологическим термином SpiraloadTM, первоначально предложенным Haldor Topsøe. Эти технологии применимы к простым трубам и неприменимы к байонетным трубам.

В патенте FR 2950822 фирмы-заявителя описано решение для загрузки байонетных труб с 3 трубами для загрузки, с механическими тормозами или пневматическим замедлением. Этот способ загрузки дает возможность плотной и равномерной загрузки байонетных труб. Способ загрузки «зерно за зерном» представляется слишком медленным и мало пригодным для применения в масштабе промышленного реактора, содержащего несколько сотен труб.

В целом, можно констатировать, что в области загрузки катализатора в трубы для конверсии с водяным паром существует множество документов. В большей части из них прибегают к гибким средствам замедления или к твердым препятствиям в форме наклонной плоскости.

Но ни один из обнаруженных документов не касается применения к байонетным трубам с загрузкой кольцевой зоны и избавлением от центральной трубы.

Таким образом, устройство, являющееся объектом настоящего изобретения, может быть определено как устройство для плотной загрузки катализатора в кольцевую зону байонетной трубы, которым оснащен реактор-теплообменник конверсии с водяным паром, причем указанное устройство обеспечивает равномерную и плотную загрузку в каждую из труб реактора-теплообменника, не нарушая ограничения во времени, совместимого с требованиями промышленного пуска.

Кроме того, в некотором числе случаев устройство согласно изобретению должно иметь возможность приспосабливаться к изменению диаметра внешней трубы, налагаемому механическими и термическими напряжениями, которые изменяются по длине трубы, следовательно, к изменению размеров кольцевой зоны.

КРАТКОЕ ОПИСАНИЕ ФИГУР

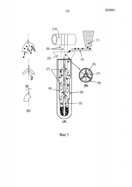
Фиг.1 представляет устройство согласно изобретению в случае, когда кольцевая зона каждой байонетной трубы разделена на три загрузочных сектора с одинаковой поверхностью, образованных системой поддержки центральной трубы, начиная с верхней части каталитической трубы. Устройство содержит бункер (1), общий для 3 секторов, ленточный транспортер (2), общий для 3 секторов, воронку (3), специальную для каждого сектора или общую для трех секторов, дефлекторы (7), соединенные цепями (8) с барабаном (10) для намотки, для каждого из секторов. Вид сверху устройства дает возможность оценить степень занятия горизонтального сечения сектора дефлектором.

Фиг.1(А) представляет собой вид сбоку, фиг.1(В) представляет собой вид сверху и фиг.1(С) позволяет понять смысл углов α и β.

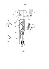
Фиг.2 представляет устройство согласно изобретению в случае, когда внутренняя труба (5) проходит в боковом направлении через внешнюю трубу (6), создавая изгиб в верхней части, который уменьшает поперечное сечение канала для введения системы загрузки. Пересечение внешней трубы (6) внутренней трубой (5) заставляет установить устройство, которое идентично устройству, которое будет использовано в случае кольцевой зоны, разделенной на два сектора одинакового поперечного сечения.

Фиг.2(А) представляет собой вид сверху и фиг.2(С) позволяет визуализировать угол α.

ЛУЧШИЙ ВАРИАНТ ОСУЩЕСТВЛЕНИЯ ИЗОБРЕТЕНИЯ

Настоящее изобретение может быть определено как устройство для плотного наполнения катализатора, специально приспособленное для реактора-теплообменника конверсии с водяным паром, состоящего из множества байонетных труб, заключенных в каландр, при этом каждая байонетная труба содержит кольцевую зону, по меньшей мере, частично заполненную катализатором. Указанный катализатор состоит из частиц, занимающих, по меньшей мере, часть кольцевого пространства (4), находящегося между внутренней трубой (5) и внешней трубой (6), при этом совокупность этих двух труб образует байонетную трубу, причем ширина указанного кольцевого пространства находится в интервале от 30 мм до 80 мм, а ее высота составляет от 10 до 20 метров.

Частицы катализатора обычно имеют форму цилиндров высотой, приблизительно, от 10 мм до 20 мм и диаметром, приблизительно, от 5 мм до 20 мм.

Устройство согласно настоящему изобретению в его основной версии состоит из:

- системы дефлекторов (7), равномерно вертикально распределенных вдоль кольцевого пространства (4) и разделенных расстоянием по вертикали, находящимся в интервале от 50 до 150 см,

- при этом указанные дефлекторы соединены между собой цепью (8), которая наматывается вокруг барабана (10), расположенного вне заполняемой трубы, и частицы катализатора находятся в центральном бункере (1), позволяющем выдавать частицы на ленточный транспортер или вибрирующее сито (2), питающие каждый сектор посредством воронки (3), через которую частицы проходят внутрь кольцевого пространства (4).

В основной версии кольцевое пространство (4) каждого байонета не разделено, и загрузочное устройство согласно настоящему изобретению занимает часть этого кольцевого пространства, составляющую от 50% до 90%.

В других вариантах, связанных с наличием элемента, центрирующего внутреннюю трубу по отношению к внешней трубе, или связанных с прохождением внутренней трубы (5) через внешнюю трубу (6), кольцевая зона каждой байонетной трубы разделена на определенное число секторов с точно одинаковыми площадями, простирающихся по всей длине трубы. Обычно, число секторов от двух до трех, и каждый сектор в таком случае снабжен системой дефлекторов, таких как описанные в основной версии. Эти системы дефлекторов, одна на сектор, образуют в таком случае устройство согласно изобретению.

Частным случаем, особенно часто встречающимся в области применения настоящего изобретения, является случай, в котором кольцевое пространство (4) пересекается в его верхней части внутренней трубой (5), выходной конец которой находится вне внешней трубы (6).

Это пересечение внутренней трубы (5) представляет препятствие и приводит к использованию двух параллельных систем дефлекторов, как если бы кольцевое пространство было разделено на два сектора.

Обычно, каждый дефлектор имеет точно форму крыла, наклоненного вниз под углом (α) по отношению к вертикали, составляющим от 30° до 50°, при этом каждый дефлектор занимает часть горизонтальной поверхности сектора, составляющую от 50% до 90% указанной поверхности сектора.

В некоторых случаях, кроме того, вводят один изгиб крыла по радиальному упору, в том смысле, что этот упор находится в направлении радиуса. Изгиб характеризуется углом (β), который составляет каждое образованное таким образом полукрыло с вертикалью. Угол β может принимать значения, находящиеся в интервале от 20° до 75°, предпочтительно, от 30° до 60°.

В случае, когда диаметр стенки кольцевого пространства (4) изменяется из-за того, что участки внешней трубы (6) имеют диаметр, уменьшающийся сверху вниз, система дефлекторов (7) приспосабливается к этому изменению сечения, всегда удовлетворяя условию занятия указанного горизонтального сечения в диапазоне от 50% до 90% за счет регулировки угла альфа, причем наименьшая величина применяется для участка с наименьшим диаметром, а самая большая величина - для участка с наибольшим диаметром, при этом ориентация крыла дефлектора на его оси является свободной, и вторая функция цепи заключается в том, что она позволяет поднимать в большей или меньшей степени конец крыла дефлектора таким образом, чтобы изменить угол альфа.

Всегда в случае, когда диаметр стенки кольцевого пространства (4) изменяется из-за того, что участки внешней трубы (6) имеют диаметр, уменьшающийся сверху вниз, система дефлекторов (7) может быть снабжена на их концах, наиболее близких к стенке кольцевого пространства (4), гибкими краями из каучука, которые дают возможность регулировать длину крыльев, являясь более или менее изогнутыми, таким образом, чтобы сохранить коэффициент занятости поперечного сечения кольцевого пространства. В таком случае в нижнюю часть цепи добавляют массу, чтобы заставить систему опускаться на участке с наименьшим диаметром кольцевой зоны (4).

Настоящее изобретение касается также способа загрузки катализатора, прибегающего к устройству, описанному перед этим, который может быть разбит на ряд следующих стадий:

- система загрузки первоначально намотана на внешний барабан (10), при этом бункер (1) заполнен твердым веществом,

- систему загрузки постепенно вводят в кольцевую зону (4) через ее верхнюю часть до тех пор, пока первый дефлектор (7) не достигнет расстояния по отношению к дну трубы, находящегося в интервале от 50 см до 100 см,

- транспортерную ленту (2) приводят в действие таким образом, чтобы обеспечить расход твердого вещества, находящийся в интервале от 250 до 500 кг/ч, при этом твердое вещество вводят в кольцевую зону (4), или в сектор указанной кольцевой зоны, при помощи воронки (3),

- по мере того, как труба заполняется, систему загрузки поднимают из кольцевой зоны (4) при помощи внешнего барабана (10) таким образом, чтобы соблюсти постоянное расстояние между первым дефлектором (7) и поверхностью слоя, который постепенно образуется, причем указанное расстояние находится в интервале от 50 см до 100 см,

- систему наматывают со скоростью, эквивалентной скорости загрузки трубы, находящейся в интервале от 0,2 м/мин до 0,4 м/мин,

- как только труба загружена, и система загрузки намотана, систему перемещают для загрузки следующей трубы.

ПОДРОБНОЕ ОПИСАНИЕ ИЗОБРЕТЕНИЯ

Настоящее изобретение может быть определено как устройство, обеспечивающее плотную загрузку катализатора в кольцевое пространство байонетных труб, каждая из которых имеет высоту, находящуюся в интервале от 10 до 20 м, диаметр внешней трубы (6) находится в интервале от 250 мм до 150 мм, и диаметр внутренней трубы (5) находится в интервале от 10 до 40 мм.

Таким образом, кольцевое пространство, содержащее катализатор, имеет характеристическую ширину около 50 мм. На практике, соответственно случаю, характеристическая ширина кольцевого пространства может изменяться от 30 до 80 мм.

Кроме того, в некоторых случаях внешняя труба (6) имеет диаметр, изменяющийся по участкам, который уменьшается сверху вниз, это означает, следовательно, что характеристическая ширина кольцевого пространства также уменьшается, двигаясь сверху вниз. Следовательно, устройство согласно изобретению должно приспосабливаться к этим изменениям характеристической ширины и сохранять свои характеристики на всей совокупности участков.

Зерна катализатора имеют форму цилиндров высотой, приблизительно, от 1 см до 2 см и диаметром от 0,5 см до 2 см. Одной из проблем, возникающих при их загрузке в трубы длиной более 15 метров, является опасность разрушения этих цилиндров, если они будут просто падать в свободном падении без какой-либо предосторожности, которую и представляет собой одно из решений для осуществления плотной загрузки.

Другие проблемы связаны с геометрией того же самого каталитического пространства, которое является, таким образом, кольцевым, что не позволяет применить обычные системы загрузки.

Кроме того, внутренняя труба (5) байонета обычно поддерживается коаксиальной внешней трубе (6) при помощи, по меньшей мере, одного центрирующего элемента, который разделяет кольцевое пространство на несколько секторов, что препятствует использованию любого устройства, которое будет окружать центральную трубу.

В некоторых случаях надо также принимать во внимание внутреннюю трубу (5), которая проходит через внешнюю трубу (6), чтобы обеспечить выход, полностью освобожденный от реакционноспособных эфлюентов.

Как указано перед этим, опасность образования изгиба усиливается, когда отношение между диаметром трубы и основным размером частиц меньше 8, что является частым случаем в контексте настоящего изобретения, так как типичная ширина кольцевого пространства (50 мм) эквивалентна, приблизительно, 4-кратному характеристическому диаметру частиц катализатора.

Наконец, так как загрузку осуществляют труба за трубой (или по группам из двух или трех труб, питаемых параллельно), она должна быть достаточно быстрой для промышленной установки, так как реактор конверсии с водяным паром, предназначенный для производства приблизительно 100000 м3(н.у.)/ч Н2, содержит, приблизительно, от 200 до 350 труб.

Совокупность этих требований удовлетворяется устройством для плотной загрузки согласно настоящему изобретению, которое можно определить следующим образом.

Настоящее изобретение описывает устройство для плотной загрузки катализатора в реактор конверсии с водяным паром, состоящий из множества байонетных труб, заключенных в каландр, при этом катализатор состоит из твердых зерен, занимающих, по меньшей мере, часть кольцевого пространства, находящегося между внутренней трубой и внешней трубой, совокупность этих двух труб образует байонетную трубу. Реактор-теплообменник конверсии с водяным паром, на который направлено настоящее изобретение, состоит приблизительно из 300 одинаковых байонетных труб высотой в интервале от 12 до 20 метров, причем совокупность этих байонетных труб заключена в каландр, который может достигать 10 метров в диаметре.

Ширина кольцевого пространства, находящегося между внутренней трубой и внешней трубой байонетной трубы, находится в интервале от 30 до 80 мм, а его высота находится в интервале от 12 до 20 метров. Частицы катализатора обычно имеют форму цилиндров высотой, приблизительно, от 5 до 20 мм и диаметром, приблизительно, от 10 до 20 мм.

Кольцевое пространство, определенное таким образом, может быть единым или разделенным на несколько одинаковых секторов системой, называемой «центратор». Сектор определяется, таким образом, как часть кольцевого пространства, которая соответствует строго определенной доле кольцевого сечения и простирается на всю высоту указанного кольцевого пространства.

Устройство для загрузки согласно изобретению состоит из:

- системы дефлекторов (7), равномерно вертикально распределенных и разделенных расстоянием по вертикали, находящимся в интервале от 50 до 150 см, при этом каждый дефлектор (7) занимает часть кольцевого сечения, составляющую от 50% до 90%,

- при этом указанные дефлекторы соединены между собой цепью (8), которая наматывается вокруг барабана (10), расположенного вне заполняемой трубы, и частицы катализатора находятся в центральном бункере (1), позволяющем выдавать частицы на ленточный транспортер или вибрирующее сито (2), питающие кольцевое пространство (4) (или каждый сектор указанного кольцевого пространства, когда оно разделено на сектора), посредством воронки (3), через которую частицы проходят внутрь кольцевого пространства (4).

Средство для транспортировки (2) частиц от центрального бункера (1) до воронки (3) может представлять собой любое средство для транспортировки твердых частиц, известное специалистам в данной области.

Согласно первому варианту загрузочного устройства согласно настоящему изобретению, кольцевое пространство разделено на два или три точно одинаковых сектора, которые простираются по всей длине байонетной трубы при помощи системы, называемой «центратор», расположенной в верхней части кольцевого пространства, при этом каждый сектор снабжен независимой системой дефлекторов, такой как описанная выше. Это позволяет сказать, что устройство в таком случае состоит из двух или трех одинаковых систем, действующих параллельно, при этом каждая система дефлекторов занимает один сектор кольцевого пространства. В этом случае, предпочтительно, воронка (3) является специфической для каждого из секторов, тогда как транспортерная лента (2) и бункер (1) являются общими для трех секторов.

Согласно второму варианту загрузочного устройства согласно настоящему изобретению, кольцевое пространство (4) пересекается в его верхней части внутренней трубой (5), которая создает препятствие и приводит к использованию двух независимых систем дефлекторов, как если бы кольцевое пространство было разделено на два сектора.

Каждый дефлектор (7) имеет типичную форму крыла, наклоненного вниз под углом альфа по отношению к вертикали, находящимся в интервале от 30° до 50°, при этом каждый дефлектор занимает часть горизонтальной поверхности сектора, составляющую от 50% до 90% от указанной поверхности сектора.

В некоторых случаях, кроме того, вводят один изгиб крыла по радиальному упору, в том смысле, что этот упор находится в направлении радиуса. Изгиб характеризуется углом бета (β), который каждое образованное таким образом полукрыло составляет с вертикалью. Указанный угол β может принимать значения, находящиеся в интервале от 20° до 70°, предпочтительно, находящийся в интервале от 30° до 60°.

Согласно другому варианту загрузочного устройства согласно настоящему изобретению, диаметр стенки кольцевого пространства изменяется, определяя участки трубы с диаметром, уменьшающимся сверху вниз. В этом случае дефлектор приспосабливается к этому изменению сечения, всегда удовлетворяя условию занятия указанного горизонтального сечения в интервале от 50% до 90% за счет регулирования угла альфа, наименьшая величина угла альфа приспособлена для участка с наименьшим диаметром, а наибольшая величина угла альфа - для участка с наибольшим диаметром.

Сочленение крыла дефлектора на его вертикальной оси должно быть свободным, так как вторая функция цепи заключается в обеспечении подъема в большей или меньшей степени конца крыла дефлектора таким образом, чтобы изменить угол альфа.

Другое решение для того, чтобы принять во внимание переменный диаметр кольцевого пространства, заключается в использовании дефлекторов, снабженных по их концам, наиболее близким к стенке кольцевого пространства, краями из каучука, которые позволяют регулировать длину лопаток таким образом, чтобы сохранить коэффициент занятия сечения кольцевого пространства (4).

Чтобы помочь системе дефлекторов в их спуске, так как трение удлинителей из каучука о стенку кольцевого пространства (4) может сделать этот спуск достаточно трудным, можно снабдить дефлекторы грузами, подвешенными к указанным дефлекторам.

Форма дефлекторов может быть любой при условии, что площадь проекции этой формы в горизонтальной плоскости удовлетворяет проценту занятия горизонтального сечения кольцевой зоны или сектора, когда указанная кольцевая зона разделена на несколько секторов.

Обычно, дефлектор имеет форму крыла, наклоненного вниз под углом альфа, который находится в интервале от 30 до 50°С по отношению к вертикали.

Можно также назвать в качестве примера удлинение из гибкого каучука края дефлектора, расположенного почти у внутренней стенки кольцевого пространства (4), которое позволяет оставаться в контакте с указанной стенкой, несмотря на изменение ее диаметра.

В случае разделения кольцевого пространства на три одинаковых вертикальных сектора, предпочтительной формой дефлектора является форма крыла, пригнанного точно параллельно кольцевому сектору, соблюдая при этом условие занятия площади горизонтального сечения в пределах от 50 до 90%.

В случае неразделенного кольцевого пространства (4), но занятого на его верхнем конце внутренней трубой (5), проходящей через внешнюю трубу (6), устройство согласно настоящему изобретению состоит из двух систем дефлекторов, параллельных и функционирующих независимым образом. Эта система точно эквивалентна случаю кольцевого пространства, разделенного на два сектора.

Как указано на фиг.2, предпочтительно чередовать две системы дефлекторов таким образом, чтобы расстояние, разделяющее два последовательных дефлектора (но не принадлежащих к той же самой линии в результате этого чередования) составляло от 25 см до 75 см.

Касаясь способа загрузки, к которому прибегают в устройстве, таком как описанное перед этим, он может быть описан следующими стадиями:

- система загрузки первоначально намотана на внешний барабан (10), при этом бункер (1) заполнен твердым веществом,

- систему загрузки затем постепенно вводят в кольцевую зону (4) через ее верхнюю часть до тех пор, пока первый дефлектор (7) не достигнет расстояния по отношению к дну трубы, находящегося в интервале от 50 см до 100 см,

- транспортерную ленту (2) приводят в действие таким образом, чтобы обеспечить расход твердого вещества, находящийся в интервале от 250 до 500 кг/ч,

- по мере того, как труба заполняется, систему загрузки поднимают из кольцевой зоны (4) при помощи внешнего барабана (10) таким образом, чтобы соблюсти постоянное расстояние между первым дефлектором (7) и поверхностью слоя, который постепенно образуется (первым дефлектором называют дефлектор, который находится в самой низкой точке, когда устройство развернуто по вертикали); это расстояние находится в интервале от 50 см до 100 см,

- таким образом, систему наматывают со скоростью, эквивалентной скорости загрузки трубы, находящейся в интервале от 0,2 м/мин до 0,4 м/мин,

- во время загрузки бункер (1) может быть повторно наполнен, если его объем меньше, чем объем трубы. Эта операция может осуществляться с прекращением или без прекращения загрузки;

- как только труба загружена, и система загрузки намотана, систему перемещают для загрузки следующей трубы.

Операции контроля загрузки, прибегающие к измерениям потери напора между двумя точками байонетной трубы, сопровождают операцию загрузки, но не являются объектом описания в этом тексте, так как рассматриваются как хорошо известные специалистам в данной области.

ПРИМЕР СОГЛАСНО ИЗОБРЕТЕНИЮ

Представляемый пример соответствует реактору-теплообменнику конверсии с водяным паром, позволяющему производить 100000 м (н.у.)/ч водорода.

Этот реактор-теплообменник оснащен 300 байонетными трубами, заключенными в каландр диаметром 10 м.

Каждая байонетная труба состоит из внешней трубы (6) диаметром 128,1 мм и внутренней трубы (5) диаметром 42 мм. Таким образом, кольцевое пространство (4) имеет характеристический размер 43,05 мм. Это кольцевое пространство разделено на два одинаковых радиальных сектора, простирающихся на всю длину трубы, или 14,5 м.

Каждое устройство содержит для каждого из двух секторов 10 дефлекторов, разделенных расстоянием по вертикали 1 м.

Дефлектор представляет собой крыло, имеющее форму полукруга с внешним краем диаметром 140 мм и внутренним краем диаметром 35 мм. Степень занятия сечения сектора составляет, таким образом, 85%.

Угол наклона альфа каждого дефлектора по отношению к вертикали составляет 45°.

Загрузка, полученная с такой системой на трубе высотой 12 м, характеризуется следующими параметрами:

- плотность слоя: 960 кг/м3;

- время полной загрузки: 40 минут (две системы дефлекторов для каждого сектора, функционирующие параллельно);

- изменение потери напора между трубами по отношению к среднему на 5 последовательных загрузках: ±3%.

1. Устройство для плотного заполнения катализатора, приспособленное для реактора-теплообменника конверсии с водяным паром, состоящего из множества систем из двух коаксиальных труб с кольцевым пространством между ними, заключенных в каландр, при этом катализатор состоит из частиц, занимающих, по меньшей мере, часть кольцевого пространства (4), находящегося между внутренней трубой (5) и внешней трубой (6), совокупность этих двух труб образует систему из двух коаксиальных труб с кольцевым пространством между ними, при этом ширина указанного кольцевого пространства находится в интервале от 30 до 80 мм, а ее высота находится в интервале от 10 до 20 метров, при этом частицы катализатора имеют форму цилиндров высотой, приблизительно, в интервале от 10 мм до 20 мм и диаметром, находящимся, приблизительно, в интервале от 10 до 20 мм, указанное кольцевое пространство (4) разделено на два или три одинаковых горизонтальных сектора, причем каждый сектор простирается на всю длину системы из двух коаксиальных труб с кольцевым пространством между ними, посредством системы, называемой «центратор», расположенной в верхней части кольцевого пространства, причем каждый сектор снабжен своей собственной системой дефлекторов, при этом каждая система дефлекторов состоит из:

- системы дефлекторов (7), равномерно вертикально распределенных вдоль кольцевого пространства (4) и разделенных расстоянием по вертикали, находящимся в интервале от 50 до 150 см,

- при этом указанные дефлекторы соединены между собой цепью (8), которая наматывается вокруг барабана (10), расположенного вне заполняемой трубы, и частицы катализатора находятся в центральном бункере (1), позволяющем выдавать частицы на ленточный транспортер или вибрирующее сито (2), питающее кольцевое пространство (4) посредством воронки (3), через которую частицы проходят внутрь кольцевого пространства.

2. Устройство по п. 1, в котором кольцевое пространство (4) пересекается в его верхней части внутренней трубой (5), которая проходит через внешнюю трубу (6), что приводит к использованию двух систем дефлекторов (7), одинаковых и функционирующих параллельно, аналогично случаю кольцевого пространства, разделенного на два сектора.

3. Устройство по п. 1, в котором каждый дефлектор (7) имеет типичную форму крыла, наклоненного вниз под углом альфа по отношению к вертикали, находящимся в интервале от 30° до 50°, при этом каждый дефлектор занимает часть горизонтальной поверхности сектора, составляющую от 50% до 90% от указанной поверхности сектора.

4. Устройство по п. 3, в котором, когда диаметр стенки кольцевого пространства (4) изменяется из-за того, что участки внешней трубы (6) имеют диаметр, уменьшающийся сверху вниз, система дефлекторов (7) приспосабливается к этому изменению сечения, всегда удовлетворяя условию занятия указанного горизонтального сечения в диапазоне от 50% до 90% за счет регулировки угла альфа, причем наименьшая величина применяется для участка с наименьшим диаметром, а самая большая величина - для участка с наибольшим диаметром, при этом сочленение крыла дефлектора на его вертикальной оси является свободным, и вторая функция цепи заключается в том, что она позволяет поднимать в большей или меньшей степени конец крыла дефлектора таким образом, чтобы изменить угол альфа.

5. Устройство по п. 1, в котором когда диаметр стенки кольцевого пространства (4) изменяется из-за того, что участки внешней трубы (6) имеют диаметр, уменьшающийся сверху вниз, система дефлекторов (7) снабжена на их концах, наиболее близких к стенке кольцевого пространства (4), краями из каучука, которые дают возможность регулировать длину крыльев таким образом, чтобы сохранить коэффициент занятости поперечного сечения кольцевого пространства в случае изменения внутреннего диаметра внешней трубы системы из двух коаксиальных труб с кольцевым пространством между ними.

6. Способ загрузки катализатора, использующий устройство по п. 1, отличающийся тем, что:

- систему загрузки первоначально наматывают на внешний барабан (10), при этом бункер (1) заполнен твердым веществом,

- систему загрузки затем постепенно вводят в кольцевую зону (4) через ее верхнюю часть до тех пор, пока первый дефлектор (7) не достигнет расстояния по отношению к дну трубы, находящегося в интервале от 50 см до 100 см,

- транспортерную ленту (2) приводят в действие таким образом, чтобы обеспечить расход твердого вещества, находящийся в интервале от 250 до 500 кг/ч, при этом твердое вещество вводят в кольцевую зону (4) или в сектор указанной кольцевой зоны (4) при помощи воронки (3),

- по мере того, как труба заполняется, систему загрузки поднимают из кольцевой зоны (4) при помощи внешнего барабана (10) таким образом, чтобы соблюсти постоянное расстояние между первым дефлектором и поверхностью слоя, который постепенно образуется, причем указанное расстояние находится в интервале от 50 см до 100 см,

- систему наматывают со скоростью, эквивалентной скорости загрузки трубы, находящейся в интервале от 0,2 метр/мин до 0,4 метр/мин,

- как только труба оказывается загруженной, и система загрузки намотанной, систему перемещают для загрузки следующей трубы.