PatentDB.ru — поиск по патентным документам

Иллюстрации к патенту 2635601

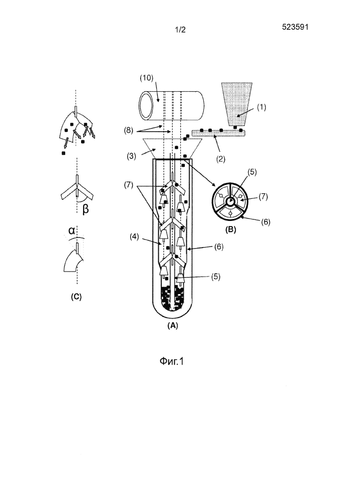
Пневматическая система плотной загрузки катализатора в байонетные трубы для реактора-теплообменника конверсии с водяным паром

Пневматическая система плотной загрузки катализатора в байонетные трубы для реактора-теплообменника конверсии с водяным паром (патент 2635601)