Оптическое регулировочное устройство

Иллюстрации

Показать все

Оптическое регулировочное устройство содержит оптическую регулировочную линзу для стабилизации изображения и автоматической фокусировки. При этом устройство включает в себя держатель линзы, который поддерживает оптическую регулировочную линзу, по меньшей мере один электродинамический (ЭД) приводной блок стабилизации изображения, который перемещает держатель линзы перпендикулярно к оптической оси оптической регулировочной линзы, при этом ЭД приводной блок стабилизации изображения включает в себя магнит с нейтральной зоной, параллельной оптической оси, и ЭД приводной блок автоматической фокусировки, который перемещает держатель линзы в направлении оптической оси, при этом ЭД приводной блок автоматической фокусировки включает в себя магнит с нейтральной зоной, ортогональной к оптической оси. Технический результат заключается в повышении точности контроля положения при автоматической фокусировке. 14 з.п. ф-лы, 11 ил.

Реферат

Область техники, к которой относится изобретение

Настоящее изобретение относится к оптическому регулировочному устройству. Более конкретно, настоящее изобретение относится к оптическому регулировочному устройству, в котором объединены функция стабилизации изображения и функция автоматической фокусировки.

Уровень техники

В последние годы более тонкие электронные приборы, такие как смартфоны и т.д., становятся основным предметом обсуждения. Для создания более тонких электронных приборов предпринимались многочисленные попытки уменьшить толщину ряда деталей, расположенных внутри электронных приборов.

Кроме того, предпринимались многочисленные попытки уменьшить толщину модулей фотоаппарата, расположенного в электронном приборе, таком как смартфон и т.д. Например, тенденция при конструировании оптического регулировочного устройства, включаемого в модуль фотоаппарата, заключается в реализации функции стабилизации изображения и функции автоматической фокусировки в одном модуле.

Однако в традиционных оптических съемочных устройствах обычно используют магниты для реализации функции стабилизации изображения и функции автоматической фокусировки, что затрудняет точный контроль положения при автоматической фокусировке.

Раскрытие изобретения

Техническая задача

Настоящее изобретение создано для исключения указанных выше недостатков и других проблем, связанных с обычной компоновкой. Аспект настоящего изобретения состоит в создании оптического регулировочного устройства, в котором функция стабилизации изображения и функция автоматической фокусировки объединены и в котором можно точно регулировать положение при автоматической фокусировке, и поэтому толщину устройства можно уменьшить.

Решение задачи

Указанный выше аспект и/или другие признаки настоящего изобретения можно получить по существу путем создания оптического регулировочного устройства, имеющего оптическую регулировочную линзу для стабилизации изображения и автоматической фокусировки, которое включает в себя держатель линзы, поддерживающий оптическую регулировочную линзу, по меньшей мере один электродинамический (ЭД) приводной блок стабилизации изображения, который перемещает держатель линзы перпендикулярно к оптической оси оптической регулировочной линзы, при этом ЭД приводной блок стабилизации изображения включает в себя магнит с нейтральной зоной, параллельной оптической оси, и электродинамический приводной блок автоматической фокусировки, который перемещает держатель линзы в направлении оптической оси, при этом ЭД приводной блок автоматической фокусировки включает в себя магнит с нейтральной зоной, ортогональной к оптической оси.

ЭД приводной блок автоматической фокусировки может работать независимо от по меньшей мере одного ЭД приводного блока стабилизации изображения.

По меньшей мере один ЭД приводной блок стабилизации изображения может включать в себя по меньшей мере один первый ЭД привод стабилизации изображения, который перемещает держатель линзы в первом направлении, перпендикулярном к оптической оси, и по меньшей мере один второй ЭД привод стабилизации изображения, который перемещает держатель линзы во втором направлении, перпендикулярном к оптической оси и первому направлению.

Первый ЭД привод стабилизации изображения может включать в себя первый магнит стабилизации изображения, расположенный в держателе линзы, и первую катушку стабилизации изображения, расположенную напротив первого магнита стабилизации изображения, так что первая катушка стабилизации изображения реагирует на первый магнит стабилизации изображения для перемещения держателя линзы в первом направлении, перпендикулярном к оптической оси. Второй ЭД привод стабилизации изображения может включать в себя второй магнит стабилизации изображения, расположенный в держателе линзы, и вторую катушку стабилизации изображения, расположенную напротив второго магнита стабилизации изображения, так что вторая катушка стабилизации изображения реагирует на второй магнит стабилизации изображения для перемещения держателя линзы во втором направлении, перпендикулярном к первому направлению.

ЭД приводной блок автоматической фокусировки может включать в себя магнит автоматической фокусировки, расположенный напротив одного из первого магнита стабилизации изображения и второго магнита стабилизации изображения, и катушку автоматического фокусирования, расположенную напротив магнита автоматической фокусировки, так что катушка автоматической фокусировки реагирует на магнит автоматической фокусировки для перемещения держателя линзы в оптическом направлении.

Первый магнит стабилизации изображения и второй магнит стабилизации изображения могут быть расположены симметрично относительно оптической оси вокруг оптической регулировочной линзы, но могут не находиться напротив друг друга.

Первая катушка стабилизации изображения и вторая катушка стабилизации изображения могут быть расположены ниже первого магнита стабилизации изображения и второго магнита стабилизации изображения соответственно.

Катушка автоматической фокусировки может быть расположена позади магнита автоматической фокусировки.

Оптическое регулировочное устройство может включать в себя первое основание, на котором расположены первая катушка стабилизации изображения и вторая катушка стабилизации изображения.

Магнит автоматической фокусировки может быть расположен в первом основании.

Оптическое регулировочное устройство может включать в себя второе основание, в котором расположена катушка автоматической фокусировки.

Оптическое регулировочное устройство может включать в себя первый детекторный элемент, который расположен в первом основании и обнаруживает перемещение положения держателя линзы в первом направлении, и второй детекторный элемент, который расположен в первом основании и обнаруживает перемещение положения держателя линзы во втором направлении.

Оптическое регулировочное устройство может включать в себя третий детекторный элемент, который расположен во втором основании и обнаруживает перемещение положения держателя линзы в направлении оптической оси.

По меньшей мере один ЭД привод стабилизации изображения может включать в себя два первых ЭД привода стабилизации изображения, расположенных напротив друг друга вокруг оптической регулировочной линзы.

ЭД приводной блок автоматической фокусировки может быть расположен напротив по меньшей мере одного второго ЭД привода стабилизации изображения.

По меньшей мере один второй ЭД привод стабилизации изображения может включать в себя два вторых ЭД привода стабилизации изображения, расположенных напротив друг друга вокруг оптической регулировочной линзы.

ЭД приводной блок автоматической фокусировки может быть расположен напротив по меньшей мере одного первого ЭД привода стабилизации изображения.

Полезные эффекты изобретения

Согласно различным вариантам осуществления настоящего изобретения, описанным выше, предложено оптическое регулировочное устройство, в котором функция стабилизации изображения и функция автоматической фокусировки объединены, которое может точно регулировать положение при автоматической фокусировке и толщина которого может быть уменьшена.

Другие преимущества и признаки настоящего изобретения станут очевидными из нижеследующего подробного описания, в котором в сочетании с прилагаемыми чертежами, раскрыты предпочтительные варианты осуществления.

Краткое описание чертежей

Эти и/или другие аспекты и преимущества настоящего изобретения станут очевидными и без труда понятными из нижеследующего описания вариантов осуществления в сочетании с сопровождающими чертежами, на которых:

фиг.1 – перспективный вид, иллюстрирующий оптическое регулировочное устройство согласно варианту осуществления настоящего изобретения;

фиг.2 – перспективный вид с пространственным разделением деталей оптического регулировочного устройства из фиг.1;

фиг.3 – вид в плане, иллюстрирующий оптическое регулировочное устройство из фиг.1;

фиг.4 – вид сбоку, иллюстрирующий оптическое регулировочное устройство из фиг.1;

фиг.5 – перспективный вид, схематически иллюстрирующий компоновку ЭД приводного блока стабилизации изображения и ЭД приводного блока автоматической фокусировки по фиг.2;

фиг. 6 - 9 – перспективные виды, иллюстрирующие зависимости между осями движения и магнитами по фиг.5;

фиг.10 – вид, схематически иллюстрирующий компоновку приводного блока стабилизации изображения и приводного блока автоматической фокусировки согласно другому варианту осуществления настоящего изобретения; и

фиг.11 – вид, схематически иллюстрирующий компоновку приводного блока стабилизации изображения и приводного блока автоматической фокусировки согласно еще одному варианту осуществления настоящего изобретения.

На всех чертежах одинаковые ссылочные позиции будут относиться к аналогичным деталям, компонентам и структурам.

Осуществление изобретения

Ниже некоторые примеры вариантов осуществления настоящего изобретения будут описаны подробно с обращением к сопровождающим чертежам.

Объекты, определенные в этой заявке, такие как детализированная конструкция и ее элементы, представлены для содействия полному пониманию этого описания. Поэтому понятно, что примеры вариантов осуществления могут быть реализованы без этих определенных объектов. Кроме того, хорошо известные функции или конструкции опущены для получения ясного и краткого описания примеров вариантов осуществления. Кроме того, для содействия полному пониманию размеры различных элементов на сопровождающих чертежах могут быть произвольно увеличены или уменьшены.

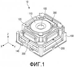
На фиг.1 представлен перспективный вид, иллюстрирующий оптическое регулировочное устройство 10 согласно варианту осуществления настоящего изобретения. На фиг.2 представлен перспективный вид с пространственным разделением деталей, иллюстрирующий оптическое регулировочное устройство 10 из фиг.1.

Что касается фиг. 1 и 2, то оптическое регулировочное устройство 10 включает в себя оптическую регулировочную линзу 100, оправу 110 линзы, держатель 120 линзы, первое основание 140, второе основание 160, электродинамический (ЭД) приводной блок 200 стабилизации изображения и ЭД приводной блок 300 автоматической фокусировки.

Оптическое регулировочное устройство 10 представляет собой модуль, в котором объединены функция стабилизации изображения, предназначенная для предотвращения ухудшения резкости изображений вследствие дрожания рук пользователя, и функция автоматической фокусировки, предназначенная для автоматической коррекции фокусировки. Обычно модуль фотоаппарата с функцией фотоаппарата имеет модуль, предназначенный для выполнения функции стабилизации изображения, который отделен от модуля, предназначенного для выполнения функции автоматической фокусировки. В этом случае модуль фотоаппарата с отдельными модулями не пригоден для небольших электронных приборов, таких как смартфоны и т.д., вследствие большого объема каждого из модулей. Поэтому в небольшие электронные приборы устанавливают оптическое регулировочное устройство, в котором две функции объединены.

Оптическая регулировочная линза 100 перемещается в плоскости первой и второй осей (X-Y-плоскости) для стабилизации изображения в течение возбуждения ЭД приводного блока 200 стабилизации изображения или перемещается вдоль оптической оси (Z-оси) для коррекции фокуса в течение возбуждения ЭД приводного блока 300 автоматической фокусировки. ЭД приводной блок 200 стабилизации изображения и ЭД приводной блок 300 автоматической фокусировки будут описаны ниже.

Оправа 110 линзы имеет цилиндрическую форму и в ней размещена оптическая регулировочная линза 100. В оправе 110 линзы образовано отверстие (непоказанное), так что свет может проходить в середину оправы 110 линзы в направлении оптической оси (направлении (Z-оси).

Оправа 110 линзы, в которой расположена оптическая регулировочная линза 100, установлена в держателе 120 линзы. При возбуждении ЭД приводного блока 200 стабилизации изображения и ЭД приводного блока 300 автоматической фокусировки держатель 120 линзы перемещается в первом направлении (направлении X-оси) и втором направлении (направлении Y-оси), которые перпендикулярны друг к другу, и в направлении оптической оси (направлении Z-оси), перпендикулярном к первому направлению (направлению X-оси) и второму направлению (направлению Y-оси).

Первое основание 140 поддерживает держатель 120 линзы с возможностью перемещения в первом направлении (направлении X-оси), перпендикулярном к направлению оптической оси (направлению Z-оси), и во втором направлении (направлении Y-оси), перпендикулярном к первому направлению (направлению X-оси). В таком случае при коррекции фокуса, описанной выше, первое основание 140 само перемещается в направлении оптической оси (направлении Z-оси) вместе с держателем 120 линзы.

Второе основание 160 поддерживает первое основание 140 с возможностью перемещения в направлении оптической оси (направлении Z-оси). В дополнение к этому второе основание 160 поддерживает различные детали оптического регулировочного устройства 10, описанного выше.

Для стабилизации изображения ЭД приводной блок 200 стабилизации изображения перемещает держатель 120 линзы в первом направлении (направлении X-оси) и втором направлении (направлении Y-оси).

Для автоматической фокусировки ЭД приводной блок 300 автоматической фокусировки перемещает держатель 120 линзы и первое основание 140 в направлении оптической оси (направлении Z-оси).

Ниже ЭД приводной блок 200 стабилизации изображения и ЭД приводной блок 300 автоматической фокусировки будут описаны подробно.

Что касается фиг.2, то ЭД приводной блок 200 стабилизации изображения включает в себя первый ЭД привод 220 стабилизации изображения и второй ЭД привод 260 стабилизации изображения.

Первый ЭД привод 220 стабилизации изображения включает в себя первый магнит 222 стабилизации изображения и первый возбуждающий элемент 226 стабилизации изображения.

Первый магнит 222 стабилизации изображения расположен на первой стороне 122 держателя 120 линзы. Первый магнит 222 стабилизации изображения образован таким образом, что нейтральная зона 224 его ортогональна к первому направлению (направлению X-оси) и второму направлению (направлению Y-оси). Иначе говоря, нейтральная зона 224 первого магнита 222 стабилизации изображения образована параллельной направлению оптической оси (направлению Z-оси). Нейтральная зона 224 первого магнита 222 стабилизации изображения будет подробно описана в дальнейшем с обращением к сопровождающим чертежам.

Первый возбуждающий элемент 226 стабилизации изображения расположен на месте напротив первого магнита 222 стабилизации изображения. Более подробно, первый возбуждающий элемент 226 стабилизации изображения расположен ниже первого магнита 222 стабилизации изображения.

Первый возбуждающий элемент 226 стабилизации изображения выполнен в виде катушки, которая может принимать ток, подводимый извне, для создания электромагнитной силы. Соответственно, первый возбуждающий элемент 226 стабилизации изображения осуществляет электромагнитное взаимодействие с первым магнитом 222 стабилизации изображения.

Второй электромагнитный привод 260 стабилизации изображения включает в себя второй магнит 262 стабилизации изображения и второй возбуждающий элемент 266 стабилизации изображения.

Второй магнит 262 стабилизации изображения расположен на второй стороне 124 держателя 120 линзы, при этом размещен асимметрично относительно первого магнита 222 стабилизации изображения. Иначе говоря, первый магнит 222 стабилизации изображения и второй магнит 262 стабилизации изображения расположены симметрично относительно оптической оси, но не обращены друг к другу (то есть не расположены напротив друг друга). Второй магнит 262 стабилизации изображения образован таким образом, что аналогично первому магниту 222 стабилизации изображения нейтральная зона 264 его ортогональна к первому направлению (направлению X-оси) и второму направлению (направлению Y-оси). Иначе говоря, нейтральная зона 264 второго магнита 262 стабилизации изображения образована параллельно направлению оптической оси (направлению Z-оси) аналогично нейтральной зоне 224 первого магнита 222 стабилизации изображения. Нейтральная зона 264 второго магнита 262 стабилизации изображения будет описана подробно в дальнейшем с обращением к сопровождающим чертежам.

Аналогично первому возбуждающему элементу 226 стабилизации изображения второй возбуждающий элемент 266 стабилизации изображения выполнен в виде катушки, которая может принимать ток, подводимый извне, для создания электромагнитной силы. Соответственно, второй возбуждающий элемент 266 стабилизации изображения осуществляет электромагнитное взаимодействие со вторым магнитом 262 стабилизации изображения.

В данном случае первый возбуждающий элемент 226 стабилизации изображения и второй возбуждающий элемент 266 стабилизации изображения выполнены в виде печатных катушек и соответственно образованы на одном приемнике 250 возбуждающего элемента. Приемник 250 возбуждающего элемента снабжен первым возбуждающим элементом 226 стабилизации изображения и вторым возбуждающим элементом 266 стабилизации изображения и расположен на верхней поверхности первого основания 140.

С другой стороны, каждый из первого возбуждающего элемента 226 стабилизации изображения и второго возбуждающего элемента 266 стабилизации изображения может быть образован в виде обычной катушки возбуждения, а не печатной катушки, и может быть расположен на верхней поверхности первого основания 140 без отдельного приемника 250 возбуждающего элемента.

Множество шаровых опор 150 расположено между держателем 120 линзы и первым основанием 140. Множество шаровых опор 150 помещены с возможностью скольжения в приемные выемки 142 шаровых опор, расположенные с интервалами на поверхности первого основания 140.

В соответствии с этим множество шаровых опор 150 поддерживают с возможностью скольжения нижнюю поверхность держателя 120 линзы напротив верхней поверхности первого основания 140. Соответственно, когда возникает дрожание рук, для повышения резкости изображений держатель 120 линзы может перемещаться в первом направлении (направлении X-оси) и втором направлении (направлении Y-оси) на основании данных, получаемых от устройства съемки изображения (непоказанного), в результате чего уменьшается влияние дрожания рук.

Кроме того, первое пропускающее свет отверстие 145, через которое может проходить свет, проходящий через оптическую регулировочную линзу 100 в держателе 120 линзы, образовано в первом основании 140 и оно проходит сквозь первое основание 140. Положение и размер первого пропускающего свет отверстия 145 могут быть определены исходя из того, чтобы с учетом максимального расстояния, на которое оптическая регулировочная линза 100 может перемещаться в первом направлении (направлении X-оси) и втором направлении (направлении Y-оси), свет, проходящий через оптическую регулировочную линзу 100, при любом положении держателя 120 линзы в пределах диапазона перемещения его мог проходить через первое пропускающее свет отверстие 145.

Второе основание 160 включает в себя боковое основание 162 и нижнее основание 166.

Боковое основание 162 образует боковую поверхность оптического регулировочного устройства 10. Боковое основание 162 соединяют с боковой поверхностью нижнего основания 166 сваркой, винтами или другими соединителями, известными в соответствующей области техники. Нижнее основание 166 образует нижнюю поверхность оптического регулировочного устройства 10. Второе пропускающее свет отверстие 168, через которое может проходить свет, проходящий через оптическую регулировочную линзу 100 в держателе 120 линзы, образовано проходящим сквозь нижнее основание 166.

ЭД приводной блок 300 автоматической фокусировки включает в себя магнит 320 автоматической фокусировки и возбуждающий элемент 360 автоматической фокусировки.

Магнит 320 автоматической фокусировки расположен на боковой поверхности 146 первого основания 140. Магнит 320 автоматической фокусировки образован таким образом, что нейтральная зона 324 его ортогональна к направлению оптической оси (направлению Z-оси). Иначе говоря, нейтральная зона 324 магнита 320 автоматической фокусировки образована параллельно первому направлению (направлению X-оси) и второму направлению (направлению Y-оси). Нейтральная зона 324 магнита автоматической фокусировки будет описана подробно в дальнейшем с обращением к сопровождающим чертежам.

Возбуждающий элемент 360 автоматической фокусировки расположен на месте напротив магнита 320 автоматической фокусировки и прикреплен к боковому основанию 162. Подробнее, возбуждающий элемент 360 автоматической фокусировки расположен позади магнита 320 автоматической фокусировки.

Возбуждающий элемент 360 автоматической фокусировки выполнен в виде катушки, которая может принимать ток, подводимый извне, и может создавать электромагнитную силу. Соответственно, возбуждающий элемент 360 автоматической фокусировки осуществляет электромагнитное взаимодействие с первым магнитом 222 стабилизации изображения.

Поскольку оптическое регулировочное устройство 10 согласно настоящему варианту осуществления снабжено первым ЭД приводом 220 стабилизации изображения для регулирования перемещения в первом направлении (направлении X-оси), вторым ЭД приводом 260 стабилизации изображения для регулирования перемещения во втором направлении (направлении Y-оси) и ЭД приводным блоком 300 автоматической фокусировки для регулирования перемещения в направлении оптической оси (направлении Z-оси), в оптическом регулировочном устройстве 10 каждый из приводов может управляться независимо и тем самым может независимо создаваться движущая сила по каждому из направлений (направлений по X-оси, Y-оси и Z-оси).

Множество шаровых опор 150 расположено между первым основанием 140 и боковым основанием 162. Множество шаровых опор 150 помещено с возможностью скольжения во множество приемных выемок 163 шаровых опор, которые расположены с интервалами на поверхности бокового основания 162.

В соответствии с этим множество шаровых опор 150 поддерживают с возможностью скольжения боковую поверхность первого основания 140 напротив передней поверхности бокового основания 162. Поэтому, при автоматической коррекции фокуса держатель 120 линзы может перемещаться в направлении оптической оси (направлении Z-оси) при перемещении первого основания 140 в направлении оптической оси (направлении Z-оси), так что фокус может автоматически корректироваться.

Кроме того, оптическое регулировочное устройство 10 включает в себя множество детекторных элементов 182, 184 и 186 и множество ярм 192, 194 и 196.

Множество детекторных элементов 182, 184 и 186 включает в себя первый детекторный элемент 182, второй детекторный элемент 184 и третий детекторный элемент 186.

Первый детекторный элемент 182 предусмотрен в первом основании 140 и расположен по другую сторону первого возбуждающего элемента 226 стабилизации изображения, на противоположной стороне относительно первого магнита 222 стабилизации изображения. Первый детекторный элемент 182 обнаруживает перемещение держателя 120 линзы в первом направлении (направлении X-оси) и может состоять из датчика Холла, который обнаруживает изменения величины напряжения или тока, наводимого в зависимости от интенсивности магнитного поля.

Второй детекторный элемент 184 предусмотрен в первом основании 140 и расположен по другую сторону второго возбуждающего элемента 266 стабилизации изображения, на противоположной стороне относительно второго магнита 262 стабилизации изображения. Второй детекторный элемент 184 обнаруживает перемещение держателя 120 линзы во втором направлении (направлении Y-оси) и аналогично первому детекторному элементу 182 может состоять из датчика Холла.

Третий детекторный элемент 186 предусмотрен в боковом основании 162 и расположен на противоположной стороне относительно магнита 320 автоматической фокусировки. Третий детекторный элемент 186 обнаруживает перемещение первого основания 140 в направлении оптической оси (направлении Z-оси) и аналогично первому детекторному элементу 182 и второму детекторному элементу 184 может состоять из датчика Холла.

Оптическое съемочное устройство 10 согласно настоящему варианту осуществления может регулировать перемещение держателя 120 линзы до заданного положения на основании положения держателя 120 линзы, обнаруживаемого первым, вторым и третьим детекторными элементами 182, 184 и 186.

Множество ярм 192, 194 и 196 включает в себя первое ярмо 192, второе ярмо 194 и третье ярмо 196.

Первое ярмо 192 предусмотрено в первом основании 140 и расположено на месте напротив первого магнита 222 стабилизации изображения. Первое ярмо 192 и первый магнит 222 стабилизации изображения магнитно притягиваются друг к другу.

Второе ярмо 194 предусмотрено в первом основании 140 и расположено на месте напротив второго магнита 262 стабилизации изображения. Первое ярмо 194 и второй магнит 262 стабилизации изображения магнитно притягиваются друг к другу.

Третье ярмо 196 предусмотрено в боковом основании 162 и расположено на месте напротив магнита 320 автоматической фокусировки. Третье ярмо 196 и магнит 320 автоматической фокусировки магнитно притягиваются друг к другу.

В соответствии с этим оптическое регулировочное устройство 10 делает возможным приближение держателя 120 линзы к первому основанию 140 и возвращение в исходное положение на основании магнитного притяжения, создаваемого между каждым из первого и второго ярм 192 и 194 и каждым из первого и второго магнитов 222 и 262 стабилизации изображения. Кроме того, оптическое регулировочное устройство 10 делает возможным приближение первого основания 140 к боковому основанию 162 и возвращение в исходное положение на основании магнитного притяжения, создаваемого между третьим ярмом 196 и магнитом 320 автоматической фокусировки.

На фиг.3 представлен вид в плане, иллюстрирующий оптическое регулировочное устройство 10 из фиг.1.

Что касается фиг.3, то оптическое регулировочное устройство 10 может перемещать держатель 120 линзы в первом направлении (направлении X-оси) благодаря созданию движущей силы Fx в первом направлении (направлении X-оси) при использовании первого ЭД привода 220 стабилизации изображения. Далее, оптическое регулировочное устройство 10 может перемещать держатель 120 линзы во втором направлении (направлении Y-оси) благодаря созданию движущей силы Fy во втором направлении (направлении Y-оси) при использовании второго ЭД привода 260 стабилизации изображения.

Кроме того, если смотреть сверху, ЭД приводной блок 300 автоматической фокусировки расположен напротив первого ЭД привода 220 стабилизации изображения вокруг оптической регулировочной линзы 100.

На фиг.4 представлен вид сбоку, иллюстрирующий оптическое регулировочное устройство 10 из фиг.1.

Что касается фиг.4, то оптическое регулировочное устройство 10 может перемещать держатель 120 линзы и первое основание 140 в направлении оптической оси (направлении Z-оси) благодаря созданию движущей силы Fz в направлении оптической оси (направлении Z-оси) при использовании ЭД приводного блока 300 автоматической фокусировки.

В результате этого оптическое регулировочное устройство 10 согласно варианту осуществления может независимо регулировать перемещение по каждому из осевых направлений при раздельном использовании первого ЭД привода 220 стабилизации изображения, второго ЭД привода 300 стабилизации изображения и ЭД приводного блока 300 автоматической фокусировки. Поэтому при выполнении автоматической фокусировки точность регулирования положения может быть повышена.

В данном случае «независимо» означает, что движущая сила Fx в первом направлении (направлении X-оси) создает смещение только в первом направлении (направлении X-оси), но не влияет на положение во втором направлении (направлении Y-оси) и направлении оптической оси (направлении Z-оси), движущая сила Fy во втором направлении (направлении Y-оси) создает смещение только во втором направлении (направлении Y-оси), но не влияет на положение в первом направлении (направлении X-оси) и направлении оптической оси (направлении Z-оси), и движущая сила Fx в направлении оптической оси (направлении Z-оси) создает смещение только в направлении оптической оси (направлении Z-оси), но не влияет на положение в первом направлении (направлении X-оси) и втором направлении (направлении Y-оси).

На фиг.5 представлен перспективный вид, схематически иллюстрирующий компоновку ЭД приводного блока 200 стабилизации изображения и ЭД приводного блока 300 автоматической фокусировки из фиг.2.

Что касается фиг.5, то, как описано выше, ЭД приводной блок 300 автоматической фокусировки расположен на месте напротив первого ЭД привода 220 стабилизации изображения. Однако ЭД приводной блок 300 автоматической фокусировки не ограничен этой конфигурацией и поэтому ЭД приводной блок 300 автоматической фокусировки может быть расположен на месте напротив второго ЭД привода 260 стабилизации изображения.

На фиг. 6-9 представлены перспективные виды, иллюстрирующие зависимости между осями движения и магнитами из фиг.5.

Что касается фиг.6, то нейтральная зона 224 первого магнита 222 стабилизации изображения, нейтральная зона 264 второго магнита 262 стабилизации изображения и нейтральная зона 324 магнита 320 автоматической фокусировки образованы ортогональными к первому направлению (направлению X-оси), второму направлению (направлению Y-оси) и направлению оптической оси (направлению Z-оси) соответственно. Иначе говоря, нейтральная зона 224 первого магнита 222 стабилизации изображения и нейтральная зона 264 второго магнита 262 стабилизации изображения образованы параллельными оптической оси (Z-оси).

В данном случае нейтральной зоной называется поверхность раздела между северным полюсом (N) и южным полюсом (S) магнита. Нейтральные зоны 224, 264 и 324 магнитов 222, 262 и 320 образуют с помощью процесса намагничивания. К процессу намагничивания относится процесс получения магнита из ферромагнитного материала, не являющегося магнитом. В процессе намагничивания сильное внешнее магнитное поле прикладывают к ферромагнитному материалу для преобразования его в магнит и тем самым получают постоянный магнит. После выполнения процесса намагничивания поверхность ферромагнитного материала, которая находилась в контакте с намагничивающим устройством, с которого прикладывалось внешнее магнитное поле, становится северным полюсом (или южным полюсом), а другая поверхность его автоматически становится южным полюсом (или северным полюсом). При этом поверхность раздела между автоматически образованными северным полюсом и южным полюсом называют нейтральной зоной.

Согласно настоящему варианту осуществления магниты 222, 262 и 320 изготавливают таким образом, что нейтральная зона 224 первого магнита 222 стабилизации изображения и нейтральная зона 264 второго магнита 262 стабилизации изображения образуются в вертикальном направлении, показанном на фиг.6 (направлении Z-оси), в течение процесса намагничивания и нейтральная зона 324 магнита 320 автоматической фокусировки образуется в горизонтальном направлении, показанном на фиг.6 (направлении X-оси или Y-оси), в течение процесса намагничивания.

Кроме того, первый магнит 222 стабилизации изображения и второй магнит 262 стабилизации изображения образуют в течение процесса униполярного намагничивания, а магнит 320 автоматической фокусировки образуют в течение процесса поляризованного намагничивания.

В данном случае в процессе поляризованного намагничивания прикладывают внешнее магнитное поле двух направлений, а не внешнее магнитное поле одного направления, используемое в процессе униполярного намагничивания. После выполнения намагничивания с использованием процесса поляризованного намагничивания одна сторона ферромагнитного материала становится северным полюсом, а противоположная сторона его становится южным полюсом, и затем противоположная сторона относительно каждого северного полюса и южного полюса становится южным полюсом и северным полюсом. Поверхность раздела между северным полюсом и южным полюсом ранее была названа нейтральной зоной. В случае процесса поляризованного намагничивания имеется более чем одна поверхность раздела. Однако, если учитывать направление магнитного потока, то, поскольку поток перпендикулярно расходится и сходится на протяжении поверхности, находящейся в контакте с устройством намагничивания, поверхность раздела между северным полюсом и южным полюсом поверхности, находящейся в контакте с устройством намагничивания, намного более четко выражена, чем поверхность раздела между автоматически образованными северным полюсом и южным полюсом. Обычно при использовании магнита с поляризованной намагниченностью, магнита с многополюсной намагниченностью (магнита с расщепленной намагниченностью, а не просто с поляризованной намагниченностью) или магнита, образованного как магнита с поляризованной намагниченностью путем соединения двух магнитов с униполярной намагниченностью, относительно более четко выраженная поверхность раздела определяется как нейтральная зона.

Согласно настоящему варианту осуществления магнит 320 автоматической фокусировки изготовлен при использовании процесса поляризованного намагничивания таким образом, что, как показано на фиг.6, нейтральная зона 324 его ортогональна к направлению оптической оси (направлению Z-оси). Однако это является только одним примером, и поэтому магнит стабилизации изображения и магнит автоматической фокусировки могут быть образованы в течение других процессов намагничивания (униполярного намагничивания или расщепленного намагничивания), лишь бы нейтральная зона была ортогональной к направлению перемещения.

Что касается фиг.7, то нейтральная зона 224 первого магнита 222 стабилизации изображения ортогональна (то есть находится под прямым углом θ) к плоскости Х, образованной в первом направлении (направлении X-оси). Что касается фиг.8, то нейтральная зона 264 второго магнита 262 стабилизации изображения ортогональна (то есть находится под прямым углом θ) к плоскости Y, образованной во втором направлении (направлении Y-оси). Что касается фиг.9, то нейтральная зона 324 магнита 320 автоматической фокусировки ортогональна (то есть находится под прямым углом θ) к плоскости Z, образованной в направлении оптической оси (направлении Z-оси).

Как описывалось выше, оптическое регулировочное устройство 10 согласно варианту осуществления настоящего изобретения образовано таким образом, что нейтральные зоны 224, 264 и 324 магнитов 222, 262 и 320 ортогональны к направлениям перемещения вдоль трех осей соответственно. В частности, поскольку магнит 320 автоматической фокусировки оптического регулировочного устройства 10, обеспечивающий перемещение в направлении оптической оси (направлении Z-оси), образован так, что нейтральная зона 324 его ортогональна к направлению оптической оси (направлению Z-оси), северный полюс и южный полюс магнита 320 автоматической фокусировки образованы по вертикали.

Соответственно, ширина d1 (показанная на фиг.6) магнита 320 автоматической фокусировки, когда северный полюс и южный полюс его образованы в вертикальном направлении, может быть меньше, чем ширина другого магнита автоматической фокусировки (не показанного) в первом направлении (направлении X-оси), перпендикулярном к направлению оптической оси (направлению Z-оси), когда северный полюс и южный полюс другого магнита автоматической фокусировки образованы в горизонтальном направлении (то есть когда нейтральная зона параллельна направлению оптической оси). Поэтому, поскольку толщина магнита 320 автоматической фокусировки в первом направлении (направлении X-оси) может быть снижена, в настоящем варианте осуществления без значительного повышения толщины стороны оптического регулировочного устройс