Иллюстрации к патенту
2635837
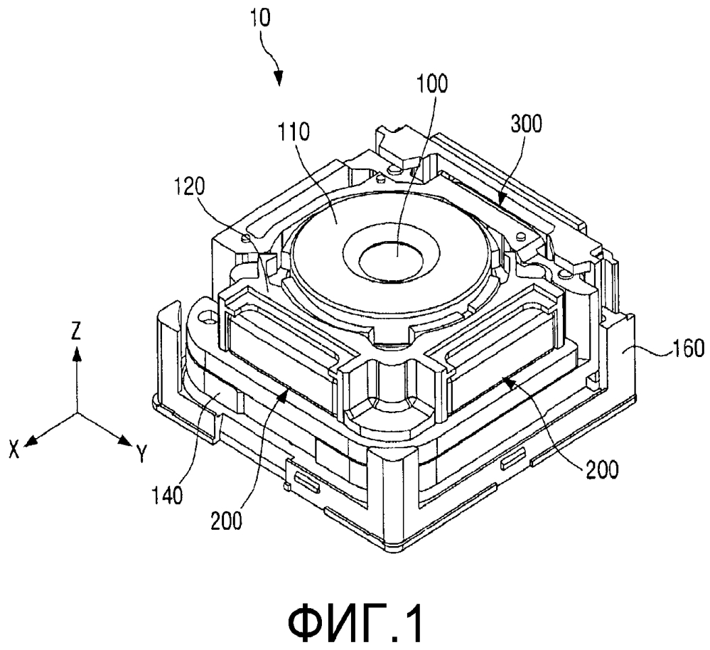
Оптическое регулировочное устройство