Системы и способы для уменьшения возмущений в антенне с двойным сетчатым отражателем

Иллюстрации

Показать все

Обеспечены способы и системы для уменьшения возмущений в двойной сетчатой отражательной антенне. Обеспечена антенная система, которая включает в себя первую отражающую поверхность, вторую отражающую поверхность и межреберное кольцо. Межреберное кольцо выполнено с возможностью соединения первой отражающей поверхности и второй отражающей поверхности. Перегородка расположена между межреберным кольцом и путем электромагнитных волн. Перегородка выполнена с возможностью перенаправления электромагнитных волн от межреберного кольца. Как вариант, отражательная перегородка отсутствует, а межреберное кольцо выполнено с возможностью перенаправления возмущенной части электромагнитной волны от путей электромагнитных волн, отраженных первой отражающей поверхностью и второй отражающей поверхностью соответственно. 4 н. и 18 з.п. ф-лы, 11 ил.

Реферат

Перекрестная ссылка на родственную заявку

Эта заявка испрашивает приоритет заявки на патент США №13/558,080, поданной 25 июля 2012, которая включена в настоящее описание в полном объеме.

Уровень техники изобретения

Антенны с двойным сетчатым отражателем (DGR) широко используются в системах спутниковой связи. DGR антенные системы состоят из двух отражающих поверхностей (то есть оболочек), одна перед другой. Передняя оболочка является сетчатой, отражающей линейно поляризованную электромагнитную волну, при этом позволяя ортогональной линейно поляризованной электромагнитной волне пройти. Используя эту конструкцию, DGR антенные системы способны отразить два пучка электромагнитных волн, имеющих ортогональные линейные поляризации. DGR системы способны достичь низкой развязки по поперечной поляризации между двумя ортогонально поляризованными пучками - то есть интерференции между первым пучком и ортогонально поляризованным вторым пучком - и поэтому считается, что они имеют высокую чистоту поперечной поляризации.

Обычные DGR антенные системы имеют несущие структурные элементы для удержания этих двух отражающих поверхностей в требуемом положении относительно друг друга. Эти несущие структурные элементы будут возмущать входящие и исходящие ортогонально поляризованные электромагнитные волны, приводя к деформации диаграмм излучения с дополнительным высоким уровнем боковых лепестков. Такие дополнительные боковые лепестки крайне нежелательны, особенно в географических регионах, где требуется высокоуровневая изоляция в диапазонах передающих и принимающих рабочих частот.

Сущность изобретения

Обеспечены способы и системы для уменьшения возмущений в антенне с двойным сетчатым отражателем.

В одном варианте воплощения настоящего раскрытия обеспечена антенная система, которая включает в себя первую отражающую поверхность, вторую отражающую поверхность и межреберное кольцо. Межреберное кольцо выполнено с возможностью соединения первой отражающей поверхности и второй отражающей поверхности. Перегородка расположена между межреберным кольцом и путем электромагнитной волны. Перегородка выполнена с возможностью перенаправления электромагнитных волн от межреберного кольца.

В другом варианте воплощения настоящего раскрытия обеспечен способ для уменьшения возмущений в антенне с двойным сетчатым отражателем. Перегородка выполнена с возможностью перенаправления электромагнитных волн от межреберного кольца. Перегородка расположена между межреберным кольцом и путем электромагнитных волн. Межреберное кольцо выполнено с возможностью соединения первой отражающей поверхности и второй отражающей поверхности.

В другом варианте воплощения настоящего раскрытия обеспечена антенная система. Антенная система включает в себя первую отражающую поверхность, которая выполнена с возможностью отражения первой части электромагнитной волны, имеющей первую поляризацию, и обеспечения прохождения второй части электромагнитной волны, имеющей вторую поляризацию, через первую отражающую поверхность. Антенная система также включает в себя вторую отражающую поверхность, которая выполнена с возможностью отражения второй части электромагнитной волны, имеющей вторую поляризацию. Антенная система также включает в себя межреберное кольцо, выполненное с возможностью соединения первой отражающей поверхности и второй отражающей поверхности. Межреберное кольцо также выполнено с возможностью перенаправления возмущенной части электромагнитной волны от пути первой части электромагнитной волны, отраженной первой отражающей поверхностью. Межреберное кольцо также выполнено с возможностью перенаправления возмущенной части электромагнитной волны от пути второй части электромагнитных волн, отраженных второй отражающей поверхностью.

В другом варианте воплощения настоящего раскрытия обеспечен дополнительный способ для уменьшения возмущений в антенне с двойным сетчатым отражателем. Первая отражающая поверхность выполнена с возможностью отражения первой части электромагнитной волны, имеющей первую поляризацию, и обеспечения прохождения второй части электромагнитной волны, имеющей вторую поляризацию, через первую отражающую поверхность. Вторая отражающая поверхность выполнена с возможностью отражения второй части электромагнитной волны, имеющей вторую поляризацию. Межреберное кольцо выполнено с возможностью перенаправления возмущенной части электромагнитной волны от пути первой части электромагнитной волны, отраженной первой отражающей поверхностью. Межреберное кольцо также выполнено с возможностью соединения первой отражающей поверхности и второй отражающей поверхности. Межреберное кольцо также выполнено с возможностью перенаправления возмущенной части электромагнитной волны от пути второй части электромагнитной волны, отраженной второй отражающей поверхностью.

Краткое описание чертежей

Дополнительные признаки изобретения, его природа и различные преимущества будут очевидны после рассмотрения нижеследующего подробного описания, взятого в сочетании с прилагаемыми чертежами, на которых везде одинаковые номера позиций обозначают одинаковые части и на которых:

фиг. 1A показывает иллюстративную систему для уменьшения возмущений электромагнитной волны в антенных системах в соответствии с вариантом воплощения настоящего раскрытия;

фиг. 1B показывает дополнительную иллюстративную систему для уменьшения возмущений электромагнитной волны в антенных системах в соответствии с вариантом воплощения настоящего раскрытия;

фиг. 2 показывает иллюстративную систему для уменьшения возмущений электромагнитной волны в антенных системах в соответствии с вариантом воплощения настоящего раскрытия;

фиг. 3A показывает дополнительную иллюстративную систему для уменьшения возмущений электромагнитной волны в антенных системах в соответствии с вариантом воплощения настоящего раскрытия;

фиг. 3B показывает дополнительную иллюстративную систему для уменьшения возмущений электромагнитной волны в антенных системах в соответствии с вариантом воплощения настоящего раскрытия;

фиг. 3C показывает дополнительную иллюстративную систему для уменьшения возмущений электромагнитной волны в антенных системах в соответствии с вариантом воплощения настоящего раскрытия;

фиг. 3D показывает дополнительную иллюстративную систему для уменьшения возмущений электромагнитной волны в антенных системах в соответствии с вариантом воплощения настоящего раскрытия;

фиг. 4А показывает иллюстративное графическое изображение диаграммы излучения антенной системы в соответствии с вариантом воплощения настоящего раскрытия;

фиг. 4B показывает дополнительное иллюстративное графическое изображение диаграммы излучения антенной системы в соответствии с вариантом воплощения настоящего раскрытия;

фиг. 5 показывает иллюстративную блок-схему последовательности операций иллюстративного процесса для уменьшения возмущений электромагнитной волны в антенных системах в соответствии с вариантом воплощения настоящего раскрытия; и

фиг. 6 показывает иллюстративную блок-схему последовательности операций дополнительного иллюстративного процесса для уменьшения возмущений электромагнитной волны в антенных системах в соответствии с вариантом воплощения настоящего раскрытия.

Подробное описание

Для обеспечения полного понимания изобретения теперь будут описаны некоторые иллюстративные варианты воплощения. Однако среднему специалисту в области техники будет понятно, что системы и способы, описанные здесь, могут быть адаптированы и модифицированы в соответствии с рассматриваемым применением и что системы и способы, описанные здесь, могут использоваться в других подходящих применениях, и что такие другие дополнения и модификации не будут выходить за рамки его объема.

Фигуры, описанные здесь, показывают иллюстративные варианты воплощения. Однако фигуры не обязательно показывают и могут быть не предназначены для показа точной схемы расположения аппаратных компонентов, содержащихся в вариантах воплощения. Фигуры обеспечены для иллюстрации высокоуровневой концептуальной схемы расположения для вариантов воплощения. Варианты воплощения, раскрытые здесь, могут быть реализованы с любым подходящим числом компонентов и любой подходящей схемой расположения компонентов в соответствии с принципами, известными в области техники.

Как это используется здесь, термины «соединять» и «соединенный» могут описывать системные компоненты, которые прямо или косвенно соединены.

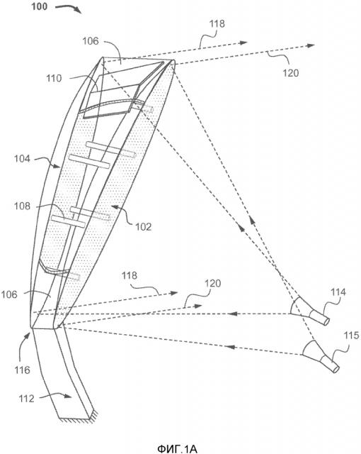
Фиг. 1A и 1B показывают вид сбоку и в поперечном разрезе соответственно иллюстративной антенной системы 100 для уменьшения возмущений электромагнитной волны в антенных системах в соответствии с вариантом воплощения настоящего раскрытия. В некоторых вариантах воплощения антенная система 100 может быть частью большей системы, такой как аэрокосмическая система или спутниковая система.

Антенная система 100 включает в себя первую отражающую поверхность 102 (то есть переднюю оболочку 102) и вторую отражающую поверхность 104 (то есть заднюю оболочку 104), межреберное кольцо 106, одну или более дополнительных стоек 108, одну или более перегородок 110, опорную конструкцию 112 и рупорные облучатели 114 и 115. Для облегчения понимания антенной системы 100 межреберное кольцо 106 изображено на фиг. 1А и 1В в виде разреза. Однако специалисты в области техники должны понимать, что межреберное кольцо 106 может проходить вдоль всей периферии пространства между передней оболочкой 102 и задней оболочкой 104. Кроме того, хотя фиг. 1А и 1В показывают два рупорных облучателя 114 и 115 для ясности описания, специалистам в области техники будет понятно, что может использоваться любое число рупорных облучателей, не отступая от сущности и объема настоящего раскрытия.

Передняя оболочка 102 антенной системы 100, как показано, может иметь вогнутую круглую форму или может иметь любую другую подходящую форму. В некоторых вариантах воплощения передняя оболочка 102 сделана из диэлектрика и/или полиимидного материала, такого как кевлар. В некоторых вариантах воплощения передняя оболочка 102 является гибкой. В некоторых вариантах воплощения передняя оболочка 102 частично покрыта отражающими элементами.

Передняя оболочка 102 способна к избирательности по поляризации в зависимости от совмещения ее отражающей сетки с поляризацией электромагнитных волн. В частности, передняя оболочка 102 может быть прозрачной для некоторой поляризации электромагнитных волн, при этом отражая ортогональную поляризацию электромагнитных волн. Например, передняя оболочка 102 может отражать электромагнитные волны с вертикальной поляризацией, при этом будучи прозрачной для электромагнитных волн с горизонтальной поляризацией, или наоборот.

В некоторых вариантах воплощения передняя оболочка 102 включает в себя проволочную сетку. В этих вариантах воплощения передняя оболочка 102 может называться сетчатой или имеющей сетчатую поверхность. Проволочная сетка может состоять из параллельных металлических проводов, таких как медные провода, которые расположены на некотором расстоянии друг от друга на основании рабочей частоты антенны. Проволочная сетка может обеспечить избирательность по поляризации передней оболочки. Например, вертикально ориентированная проволочная сетка может отражать электромагнитные волны, имеющие поляризацию, параллельную проволочной сетке (например, вертикальную поляризацию), пропуская электромагнитные волны, имеющие поляризацию, которая перпендикулярна проволочной сетке (например, горизонтальную поляризацию).

Задняя оболочка 104 антенной системы 100, как показано, может иметь вогнутую круглую форму или может иметь любую другую подходящую форму. В некоторых вариантах воплощения задняя оболочка 104 сделана из графита. В некоторых вариантах воплощения задняя оболочка 104 является сетчатой.

В некоторых вариантах воплощения задняя оболочка 104 может отражать электромагнитные волны, имеющие любую поляризацию. В этих примерах задняя оболочка 104 может называться не имеющей избирательность по поляризации.

Задняя оболочка 104 отделена от передней оболочки 102 на заранее определенное расстояние. Передняя оболочка 102 и задняя оболочка 104 могут быть расположены под углом друг к другу. Следовательно, разделительное расстояние между передней оболочкой 102 и задней оболочкой 104 может изменяться между различными соответствующими частями оболочек. Угол, под которым передняя оболочка 102 и задняя оболочка 104 расположены друг к другу, может называться углом разворота. Вместе, передняя оболочка 102 и задняя оболочка 104, можно сказать, формируют структуру 116 с двойным отражателем. Когда передняя оболочка 102 является сетчатой, структура 116 с отражателем может называться двойным сетчатым отражателем (DGR) 116.

Межреберное кольцо 106 соединяет переднюю оболочку 102 и заднюю оболочку 104. Межреберное кольцо 106 может быть сделано из любого диэлектрического материала, например, такого как кевлар или любого другого подходящего материала или комбинации материалов. Межреберное кольцо 106 может быть практически непрерывным или может иметь одно или несколько отверстий. Отверстия могут быть круглыми или могут иметь любую другую подходящую форму (многоугольную, криволинейную и т.д.).

Антенная система 100 может включать в себя один или несколько дополнительных структурных элементов 108 (то есть стоек 108). Стойки 108 соединяют переднюю оболочку 102 и заднюю оболочку 104. В некоторых вариантах воплощения использование стоек для соединения может придать структурную жесткость структуре с двойным отражателем 116. Кроме того, в некоторых вариантах воплощения стойки 108 могут помочь в поддержании фиксированного угла разворота и/или фиксированного разделительного расстояния между передней оболочкой 102 и задней оболочкой 104, когда передняя оболочка 102 изгибается и/или когда форма передней оболочки 102 меняется в зависимости от температуры. Стойки 108 могут иметь любую подходящую форму (то есть квадратную, круглую, многоугольную и т.д.) и могут быть сделаны из любого диэлектрического материала, полиимидного материала, такого как кевлар, или любого другого подходящего материала.

В некоторых вариантах воплощения антенная система 100 включает в себя опорную конструкцию 112. Опорная конструкция 112 может иметь любую подходящую форму и может соединять двойной отражатель 116 с другой системой, такой как, например, спутник. Опорная конструкция 112 может быть фиксированной или может позволять двойному отражателю 116 менять положение относительно системы, с которой оно соединено.

Рупорные облучатели 114 и 115 могут иметь любое подходящее положение и ориентацию относительно друг друга, так же как любое подходящее положение или ориентацию относительно структуры с двойным отражателем 116.

Рупорные облучатели 114 и 115 передают и принимают электромагнитные волны, например, такие как радиочастотное (RF) излучение. В некоторых вариантах воплощения первый рупорный облучатель 114 может функционировать на одной поляризации, а второй рупорный облучатель 115 может функционировать на ортогональной поляризации относительно поляризации первого рупорного облучателя.

В некоторых вариантах воплощения рупорные облучатели 114 и 115 и структура с двойным отражателем 116 вместе могут формировать антенну с двойным отражателем. Когда передняя оболочка 102 является сетчатой, антенна с двойным отражателем может называться антенной с двойным сетчатым отражателем (DGR).

Антенная система 100 может использоваться для передачи и приема сигналов (то есть электромагнитных волн) как часть схемы связи. Например, спутник с использованием антенной системы 100 может принимать сигналы от наземной станции, передавать сигналы наземной станции или ретранслировать сигналы от одной наземной станции другой. Любая подходящая схема связи может использовать антенную систему 100, например, такая как схема множественного доступа.

В вариантах воплощения, где лучи от рупорных облучателей 114 являются ортогональными, антенная система 100 может использоваться для покрытия различных географических регионов.

Различные обстоятельства могут требовать, чтобы некоторые географические регионы за пределами зоны покрытия имели конкретные требования к усилению боковых лепестков антенны. Такие регионы могут называться изоляционными регионами, или регионами, требующими изоляции боковых лепестков.

В идеале, если никакие элементы антенной системы 100 не вносят никаких возмущений в ортогонально поляризованные лучи, диаграммы излучения, измеренные на земле, должны быть идентичны рассчитанным диаграммам излучения антенной системы 100. Однако на практике элементы структуры антенны, такие как стойки 108 и межреберное кольцо 106, могут, например, вызывать возмущения в антенной системе 100. Например, стойки 108 и межреберное кольцо 106 могут возмущать электромагнитные волны, отраженные от задней оболочки 104 и переданные и принятые рупорными облучателями 114 и 115. Возмущение, генерируемое опорной конструкцией 106 и 108, может вызывать деформацию диаграмм боковых лепестков, их формы и уровней. Соответственно возмущенная наземная диаграмма излучения будет отклоняться от идеальной наземной диаграммы излучения, создавая нежелательные боковые лепестки в пределах возмущенной наземной диаграммы излучения. В результате возмущенная наземная диаграмма излучения может простираться в географические регионы, где требуется изоляция - результат, который крайне нежелателен.

Чтобы уменьшить эти возмущения поля антенны, могут использоваться одна или несколько перегородок 110. Структура и принципы действия перегородок 110 будут описаны более подробно применительно к перегородкам 212 на фиг. 2.

Фиг. 2 показывает дополнительную иллюстративную систему 200 для уменьшения возмущения электромагнитной волны в антенных системах в соответствии с вариантом воплощения настоящего раскрытия. В некоторых вариантах воплощения антенная система 100 может быть частью большей системы, такой как аэрокосмическая система или спутниковая система. В некоторых вариантах воплощения антенная система 200 может быть дополнительным представлением системы 100, описанной применительно к фиг. 1А и 1В. Однако специалистам в области техники будет понятно, что антенная система 200 может быть реализована или независимо, или как часть систем, отличающихся от системы 100 на фиг. 1А и 1В, не отступая от объема и сущности настоящего раскрытия.

Антенная система 200 включает в себя первый отражатель 202 (то есть переднюю оболочку 202) и второй отражатель 204 (то есть заднюю оболочку 204), межреберное кольцо 206, одну или более дополнительных стоек 208 (то есть стойки 208), одну или более перегородок 212 и опциональную опорную конструкцию 210. Передняя оболочка 202, задняя оболочка 204, межреберное кольцо 206 и стойки 208 могут быть аналогичны передней оболочке 102, задней оболочке 104, межреберному кольцу 106 и стойкам, соответственно, описанным применительно к фиг. 1А и 1В. В некоторых вариантах воплощения, как показано на фиг. 2, первый отражатель 202 может быть сетчатым.

Перегородки 212 могут быть расположены в пределах пространства между передней оболочкой 202 и задней оболочкой 202. Перегородки 212 могут также быть расположены в области, ограниченной межреберным кольцом 206. В некоторых вариантах воплощения перегородки 212 могут быть расположены между межреберным кольцом 206 и стойками 208 и могут, например, отражать электромагнитные волны, отраженные стойками 208 по направлению к межреберному кольцу 206. Перегородки 212 могут иметь любую подходящую форму и могут иметь любое подходящее расположение, как будет описано более подробно ниже. Кроме того, перегородки могут быть сделаны из любого подходящего материала, такого как диэлектрический материал и/или полиимидный материал, перегородки 212 могут быть покрыты отражающим материалом, таким как медь, алюминированный отражающий материал или материал покрытия. Перегородки 212 могут быть твердыми или гибкими.

В вариантах воплощения, где антенная система 202 является вариантом воплощения структуры с двойным отражателем 116 на фиг. 1А и 1В, перегородки 212 могут в значительной степени отражать электромагнитные волны по направлению к и от рупорных облучателей 114 и 115, которые в противном случае падали бы и отражались бы межреберным кольцом 206. Перегородки 212 могут быть выполнены с возможностью отведения боковых лепестков более высокого порядка, генерируемых межреберным кольцом 206 и стойками 208 из регионов с требованиями изоляции боковых лепестков в области без требований изоляции, тем самым лучше соблюдая требования изоляции.

Перегородки 212 могут иметь любую подходящую форму. Например, перегородки 212 могут состоять из одного или более плоских участков, таких как показанные на фиг. 2. В некоторых вариантах воплощения перегородки 212 могут иметь неплоские формы и/или изогнутые формы. В некоторых вариантах воплощения перегородки 212 могут иметь однородную толщину, например, из-за того, что они изготовлены из проводящих и непроводящих материалов некоторой длины. В некоторых вариантах воплощения перегородки 212 могут иметь неоднородную толщину. В некоторых вариантах воплощения перегородки 212 могут состоять из нескольких секций, как показано на фиг. 2. В некоторых вариантах воплощения перегородки 212 могут быть изготовлены в виде одной секции. В некоторых вариантах воплощения перегородки 212 могут быть в значительной степени непрерывными. В некоторых вариантах воплощения перегородки 212 могут иметь одно или несколько отверстий.

Перегородки 212 могут быть расположены во множестве конфигураций в пределах пространства между передней оболочкой 202 и задней оболочкой 204. В некоторых вариантах воплощения перегородки 212 могут быть соединены (то есть присоединены к) с передней оболочкой 202, задней оболочкой 204 и/или межреберным кольцом 206 с помощью любого подходящего средства соединения (то есть присоединения). Например, как показано на фиг. 2, нижние края перегородок 212 могут быть соединены с задней оболочкой 204, а верхние края перегородок 212 могут быть соединены с передней оболочкой 202. В некоторых вариантах воплощения части перегородок 212 и/или углы (верхние и/или нижние) и/или точки соединения перегородок 212 могут быть соединены с межреберным кольцом 206. В некоторых вариантах воплощения перегородки 212 могут быть непосредственно соединены или могут быть частью межреберного кольца 206.

В некоторых вариантах воплощения перегородки 212 могут быть расположены вдоль всего периметра межреберного кольца 206. В некоторых вариантах воплощения перегородки 212 могут быть расположены только вдоль части периметра межреберного кольца 206. Например, перегородки 212 могут быть расположены вдоль части межреберного кольца, соответствующей области наибольшего расстояния между передней оболочкой 202 и задней оболочкой 204. К выгоде, такое расположение перегородок 212 может эффективно уменьшить возмущения поля антенны, создаваемые областями наибольшего расстояния межреберного кольца 206, которые могут в противном случае создавать существенную часть нежелательных электромагнитных волн. В некоторых вариантах воплощения перегородки 212 могут быть расположены так, что некоторая часть электромагнитных волн, отраженных некоторыми перегородками 212, не падает на другие перегородки 212.

Расположение перегородок 212 может быть определено любым подходящим способом. В некоторых вариантах воплощения расположение перегородок 212 может быть определено с помощью численного электромагнитного моделирования компьютерной модели антенной системы 200. В некоторых вариантах воплощения расположение перегородок 212 может быть определено на основании результатов, полученных с помощью тестирования, проводимого на физической модели антенной системы 200 и/или перегородок 212, в диапазоне тестирования диаграммы излучения.

В некоторых вариантах воплощения перегородки 212 могут быть интегрированы в антенную систему 200 во время производства и/или сборки антенной системы 200. В некоторых вариантах воплощения перегородки 212 могут быть встроены в антенную систему, которая была уже собрана, через, например, отверстия в межреберном кольце 206. К выгоде, встраивание перегородок 212 в собранную антенную систему может позволить модификацию существующих антенных систем (то есть преобразование существующих антенных систем в антенную систему функционально подобную антенной системе 200), не разбирая эти существующие антенные системы.

Фиг. 3А и 3В показывают вид сбоку и в поперечном разрезе соответственно иллюстративной системы 101 для уменьшения возмущений электромагнитной волны в антенных системах в соответствии с вариантом воплощения настоящего раскрытия. Фиг. 3С и 3D показывают вид сбоку и в поперечном разрезе соответственно дополнительной иллюстративной системы 103 для уменьшения возмущений электромагнитной волны в антенных системах в соответствии с вариантом воплощения настоящего раскрытия.

В системах 101 и 103 перегородки 110 системы 100 отсутствуют и изменена конфигурация самого межреберного кольца для отвода боковых лепестков, генерируемых этим межреберным кольцом и стойками, из регионов с требованиями изоляции боковых лепестков в регионы без требований изоляции боковых лепестков, чтобы лучше соблюдать требования изоляции боковых лепестков.

Межреберное кольцо с измененной конфигурацией может иметь любую форму, подходящую для отвода боковых лепестков. Например, межреберное кольцо может иметь форму наклонного цилиндра, то есть цилиндра, верхнее и нижнее основания которого находятся не точно одно над другим. Например, система 101, показанная на фиг. 3А и 3В, имеет межреберное кольцо 122, которое принимает форму наклонного цилиндра, размещенного между передней оболочкой 102 и задней оболочкой 104. Аналогично, система 103, показанная на фиг. 3С и 3D, имеет межреберное кольцо 124, которое принимает форму наклонного цилиндра, размещенного между передней оболочкой 102 и задней оболочкой 104.

Следует отметить, что межреберные кольца 122 и 124 могут иметь не строго цилиндрические формы и могут не иметь верхнего и нижнего оснований, которые параллельны друг другу. Однако для простоты понимания межреберные кольца 122 и 124 могут быть описаны как наклонные цилиндры или как получаемые из наклонных цилиндров. Кроме того, следует отметить, что наклонные цилиндры могут быть любыми подходящими цилиндрами, такими как эллиптические наклонные цилиндры. Наклонные цилиндры могут быть сформированы, например, путем выполнения параллельных диагональных разрезов в обычных цилиндрах.

Верхнее основание межреберного кольца 122 на фиг. 3А и 3В может быть смещено вверх (то есть в направлении соответствующих верхних краев на фиг. 3А и 3В) относительно нижнего основания межреберного кольца 122, при этом верхнее и нижнее основания межреберного кольца 122 являются теми частями межреберного кольца 122, которые находятся в контакте с передней оболочкой 102 и задней оболочкой 104 соответственно. Соответственно боковые стенки межреберного кольца 122 с измененной конфигурацией могут иметь наклон вверх. В некоторых вариантах воплощения, как показано на фиг. 3А и 3В, части верхнего и нижнего оснований межреберного кольца 122 могут быть не соединены с соответствующими периметрами передней оболочки 102 и задней оболочки 104.

Верхнее основание межреберного кольца 124 с измененной конфигурацией на фиг. 3С и 3D может быть смещено вниз (то есть в направлении соответствующих нижних краев на фиг. 3С и 3D) относительно нижнего основания межреберного кольца 124, и боковые стенки межреберного кольца 124 могут иметь наклон вниз. В некоторых вариантах воплощения, как показано на фиг. 3С и 3D, части верхнего и нижнего оснований межреберного кольца 124 могут быть не соединены с соответствующими периметрами передней оболочки 102 и задней оболочки 104.

Формы межреберных колец 122 и 124 (например, градус, на который их соответствующие верхнее и нижнее основания смещены относительно друг друга) могут быть определены с помощью численных электромагнитных моделирований компьютерных моделей антенных систем 101 и 103 и/или определены на основании результатов, полученных с помощью тестирования, проводимого на физических моделях антенных систем 101 и 103, в диапазоне тестирования диаграммы излучения.

К выгоде, кольца 122 и 124 могут отводить боковые лепестки, генерируемые межреберными кольцами 122 и 124 и стойками 108, из регионов с требованиями изоляции боковых лепестков в области без требований изоляции боковых лепестков.

Специалистам в области техники будет понятно, что хотя межреберные кольца 122 и 124, как было описано выше, имеют форму наклонных цилиндров, могут использоваться межреберные кольца, имеющие любую форму, подходящую для отвода боковых лепестков, не отступая от сущности и объема настоящего раскрытия.

Фиг. 4А показывает иллюстративное графическое изображение 400 диаграммы излучения антенной системы в соответствии с вариантом воплощения настоящего раскрытия.

В некоторых вариантах воплощения графическое изображение 400 наземной диаграммы излучения соответствует графическому изображению возмущенной наземной диаграммы излучения, создаваемой антенными системами, подобными антенным системам 100 и/или 200, но без перегородок 110 и 212 соответственно.

На графическом изображении 400 континентальная часть Соединенных Штатов может соответствовать области, где требуется изоляция. Графическое изображение 400 показывает уровни отклонения боковых лепестков - то есть форму и зависящую от положения интенсивность возмущенной наземной диаграммы излучения, создаваемой в пределах географических регионов, требующих изоляции, возмущенными частями электромагнитных волн, переданных, например, спутниковыми антенными системами, подобными описанным применительно к фиг. 1А, 1В и 2.

Фиг. 4В показывает дополнительное иллюстративное графическое изображение диаграммы 401 излучения антенной системы в соответствии с вариантом воплощения настоящего раскрытия.

В некоторых вариантах воплощения диаграмма 401 излучения антенной системы соответствует иллюстративной возмущенной наземной диаграмме излучения, создаваемой антенными системами 100 и/или 200, включающими в себя перегородки 110 и 212 соответственно.

На графическом описании 401 континентальная часть Соединенных Штатов может соответствовать региону, где требуется изоляция. Графическое изображение 401 показывает иллюстративную форму и зависящую от положения интенсивность возмущенной наземной диаграммы излучения, создаваемой возмущенными частями электромагнитных волн, передаваемых антенными системами 100 и/или 200 в пределах региона, где требуется изоляция (то есть уровни отклонения боковых лепестков, связанные с антенными системами 100 и/или 200). К выгоде, иллюстративная возмущенная диаграмма 401 излучения, создаваемая, например, спутниковыми антенными системами 100 и/или 200, включающими в себя перегородки 110 и 212, имеет меньшие (с точки зрения области, пикового уровня и полной энергии) отклоняющиеся боковые лепестки, чем иллюстративная возмущенная диаграмма 400 излучения антенных систем без перегородок 110 и 212.

Фиг. 5 показывает иллюстративную блок-схему последовательности операций иллюстративного процесса 500 для уменьшения возмущений электромагнитной волны в антенных системах в соответствии с вариантом воплощения настоящего раскрытия. В некоторых вариантах воплощения процесс 500 может выполняться с использованием системы 100 на фиг. 1А и 1В, системы 201 на фиг. 2 и/или их комбинации. Однако специалистам в области техники будет понятно, что процесс 500 может выполняться или независимо, или как часть систем, отличающихся от антенной системы 100, антенной системы 200 и/или их комбинации, не отступая от объема и сущности настоящего раскрытия.

На этапе 502 перегородку выполняют с возможностью перенаправления электромагнитной волны от межреберного кольца.

На этапе 504 перегородку располагают между межреберным кольцом и путем электромагнитной волны. Межреберное кольцо выполняют с возможностью соединения первой отражающей поверхности и второй отражающей поверхности.

Фиг. 6 показывает иллюстративную блок-схему последовательности операций иллюстративного процесса 600 для уменьшения возмущений электромагнитной волны в антенных системах в соответствии с вариантом воплощения настоящего раскрытия. В некоторых вариантах воплощения процесс 600 может выполняться с использованием антенной системы 101 на фиг. 3А и 3В, антенной системы 103 на фиг. 3С и 3D и/или их комбинации. Однако специалистам в области техники будет понятно, что процесс 600 может выполняться или независимо, или как часть систем, отличающихся от антенной системы 101, антенной системы 103 и/или их комбинации, не отступая от объема и сущности настоящего раскрытия.

На этапе 602 первую отражающую поверхность выполняют с возможностью отражения первой части электромагнитной волны, имеющей первую поляризацию, и обеспечения прохождения второй части электромагнитной волны, имеющей вторую поляризацию, через первую отражающую поверхность.

На этапе 604 вторую отражающую поверхность выполняют с возможностью отражения второй части электромагнитной волны, имеющей вторую поляризацию.

На этапе 606 межреберное кольцо выполняют с возможностью перенаправления возмущенной части электромагнитной волны от пути первой части электромагнитной волны, отраженной первой отражающей поверхностью, при этом межреберное кольцо дополнительно выполнено с возможностью соединения первой отражающей поверхности и второй отражающей поверхности.

На этапе 608 межреберное кольцо дополнительно выполнено с возможностью перенаправления возмущенной части электромагнитной волны от пути второй части электромагнитной волны, отраженной второй отражающей поверхностью.

Изложенное выше является лишь иллюстрацией принципов вариантов воплощения. Различные модификации могут быть сделаны специалистами в области техники, не отступая от объема и сущности вариантов воплощения, раскрытых здесь. Описанные выше варианты воплощения настоящего раскрытия представлены в целях иллюстрации, а не ограничения, и настоящее изобретение ограничено только прилагаемой формулой изобретения.

1. Антенная система, содержащая:

первую отражающую поверхность;

вторую отражающую поверхность;

межреберное кольцо, выполненное с возможностью соединения первой отражающей поверхности и второй отражающей поверхности;

одну или более стоек, выполненных с возможностью соединения первой отражающей поверхности со второй отражающей поверхностью, и

перегородку, расположенную между межреберным кольцом и путем электромагнитной волны и между межреберным кольцом и одной или более стойками, причем перегородка соприкасается с первой отражающей поверхностью, и при этом перегородка выполнена с возможностью перенаправления электромагнитной волны от межреберного кольца.

2. Система по п. 1, в которой:

первая отражающая поверхность выполнена с возможностью отражения первой части электромагнитной волны, имеющей первую поляризацию, и обеспечения прохождения второй части электромагнитной волны, имеющей вторую поляризацию, через первую отражающую поверхность, и

вторая отражающая поверхность выполнена с возможностью отражения второй части электромагнитной волны, имеющей вторую поляризацию.

3. Система по п. 2, в которой первая поляризация ортогональна второй поляризации.

4. Система по п. 2, в которой:

первая часть электромагнитной волны передается или принимается первым облучающим рупорным элементом, и

вторая часть электромагнитной волны передается и принимается вторым облучающим рупорным элементом.

5. Система по п. 2, в которой:

перегородка выполнена с возможностью перенаправления возмущенной части электромагнитной волны от пути первой части электромагнитной волны, отраженной первой отражающей поверхностью, и

перегородка выполнена с возможностью перенаправления возмущенной части электромагнитной волны от пути второй части электромагнитной волны, отраженной второй отражающей поверхностью.

6. Система п