Иллюстрации к патенту
2640099
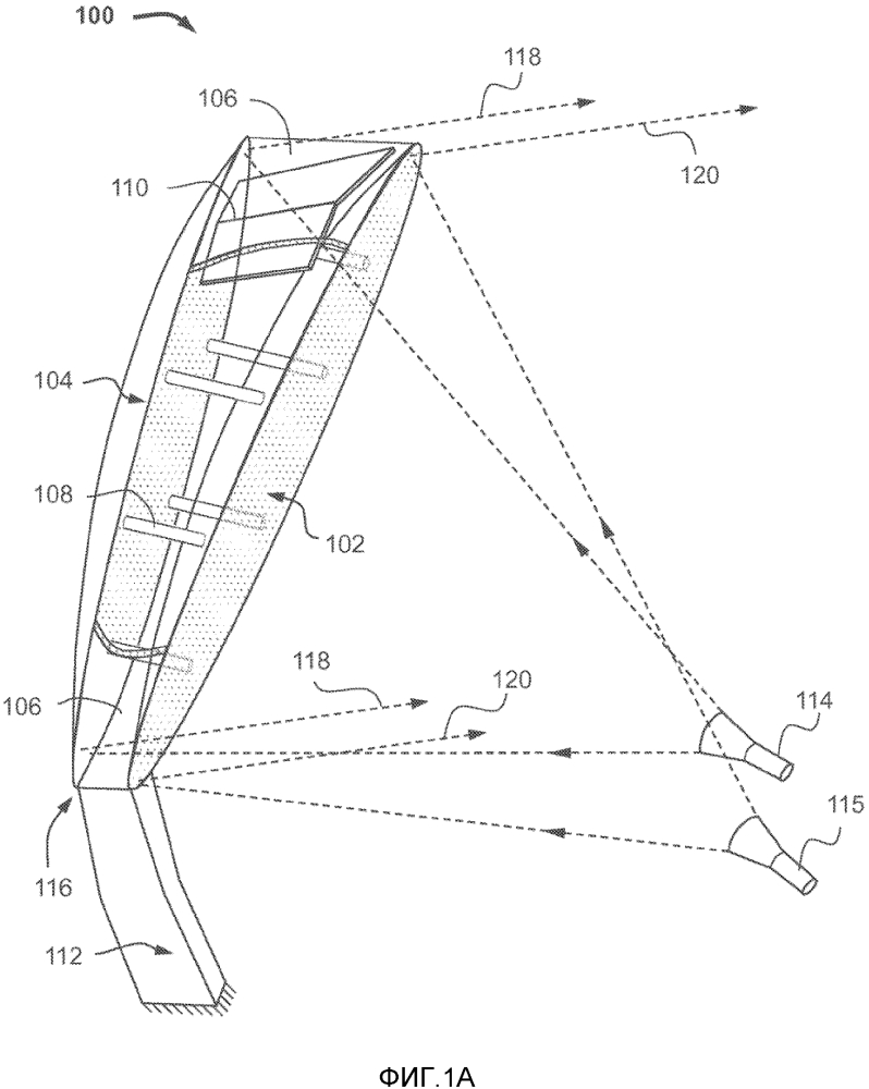
Системы и способы для уменьшения возмущений в антенне с двойным сетчатым отражателем