PatentDB.ru — поиск по патентным документам

Иллюстрации к патенту 2640099

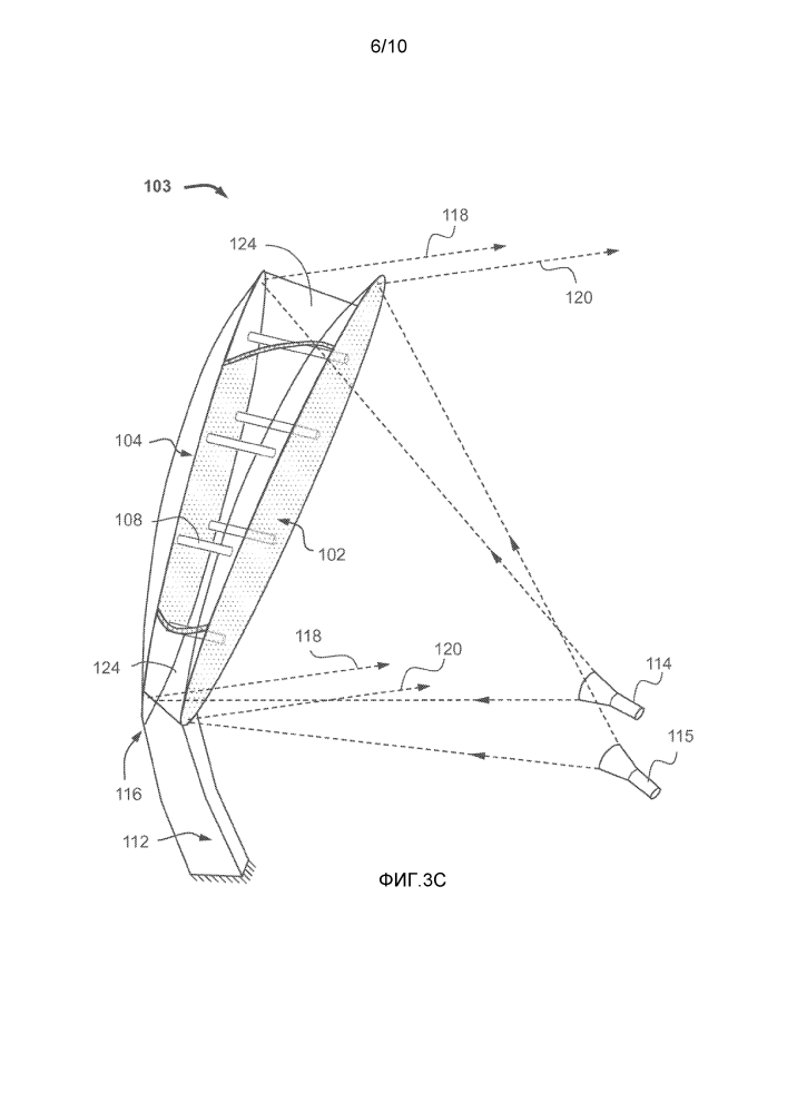
Системы и способы для уменьшения возмущений в антенне с двойным сетчатым отражателем

Системы и способы для уменьшения возмущений в антенне с двойным сетчатым отражателем (патент 2640099)