Способ вакуумного регулирования линии райзера
Иллюстрации
Показать всеИзобретение относится к нефтегазовой промышленности, а именно к способу глубоководной морской добычи полезных ископаемых. Система глубоководной морской добычи полезных ископаемых содержит технологическую платформу для переработки вещества, линию райзера для создания в ней направленного вверх потока извлеченного вещества со дна водного объекта на технологическую платформу, обратную трубу для создания в ней обратного потока смеси морской воды и не представляющей ценности части вещества, проходящего с технологической платформы в направлении ко дну водного объекта, и систему регулирования расхода глубоководной морской добычи полезных ископаемых. Система регулирования расхода для обратного трубопровода содержит средство измерения внутреннего давления обратной трубы для передачи сигнала давления в обратной трубе и средство регулирования давления для регулирования расхода в обратной трубе. Создают направленный вверх поток представляющего ценность вещества в линии райзера, проходящий со дна водного объекта на технологическую платформу. Осуществляют переработку вещества на технологической платформе с получением представляющей и не представляющей ценности частей вещества. Создают обратный поток в обратной трубе из смеси морской воды и не представляющей ценности части вещества, проходящего с технологической платформы в направлении ко дну водного объекта. Регулируют давление в обратной трубе для предотвращения разрушения или кавитации в верхней части обратной трубы. Технический результат заключается в повышении эффективности способа глубоководной морской добычи полезных ископаемых. 3 н. и 9 з.п. ф-лы, 1 ил.
Реферат
Изобретение относится к способу глубоководной морской добычи полезных ископаемых.
Публикация WO 2012091706 относится к подводной системе управления давлением для скважинного кольцевого пространства, данная система включает в себя подводный штуцер, который с изменением дросселирует поток бурового раствора из скважинного кольцевого пространства, проходящий на площадку на поверхности, причем штуцер установлен на подводном оборудовании, и подводная система управления автоматически управляет подводным штуцером, при этом требуемое давление поддерживается в скважинном кольцевом пространстве.
В общем, когда ресурс извлекают на морском дне, подают насосом вверх на судно и перерабатывают, транспортируемый объем по большей части содержит отходы. Отходы должны возвращаться по трубе вниз на морское дно. В добыче полезных ископаемых суспензия, которая тяжелее воды, должна возвращаться на морское дно. Если гидростатическое давление столба суспензии в обратной трубе выше суммы потерь на трение и давления столба воды, тогда имеется высокий риск вакуума наверху обратной трубы.
СУЩНОСТЬ ИЗОБРЕТЕНИЯ
Изобретение решает задачу улучшения управляемости обратного потока в системе глубоководной морской добычи полезных ископаемых.
Другой задачей изобретения является улучшение известного способа глубоководной морской добычи полезных ископаемых для по меньшей мере частичного решения проблем, связанных с ним.
Еще одной задачей изобретения является создание альтернативного способа глубоководной морской добычи полезных ископаемых.
Согласно первому аспекту задачу настоящего изобретения решают способом глубоководной морской добычи полезных ископаемых, содержащим:
создание направленного вверх потока извлеченного вещества в линии райзера, проходящей со дна водного объекта на технологическую платформу,
переработку вещества на технологической платформе с получением представляющей ценность части и не представляющей ценности части вещества,
создание обратного потока в обратной трубе из смеси морской воды и не представляющей ценности части вещества с технологической платформы в направлении ко дну водного объекта,
регулирование давления в обратной трубе для предотвращения разрушения обратной трубы и/или кавитации в обратной трубе, в частности, для предотвращения разрушения или кавитации в верхней части обратной трубы.
Вследствие регулирования давления в обратной трубе, конструктивную целостность трубы можно поддерживать, при этом оптимизируя использование функциональных характеристик трубы. В дополнение, регулирование давления обеспечивает рекуперацию энергии из обратного потока.
Проблема возврата суспензии, которая тяжелее воды, состоит в том, что если гидростатический давление столба суспензии превышает потери на трение в трубе, вещество должно получать ускорeние и может создаваться вакуум в верхних секциях обратной трубы. Данный вакуум может приводить к разрушению труб. В известных системах, не относящихся к добыче полезных ископаемых, например, на судах с трубами для засыпки камнем, скорость сброса, а также расход воды можно регулировать, и при этом процесс в целом является управляемым. В системах добычи полезных ископаемых, однако, обратный поток зависит от дебита, и расход вещества, а также расход воды являются заданными и не имеют эксплуатационной гибкости. Согласно изобретению с помощью активного регулирования вакуума в обратной трубе можно получить требуемую эксплуатационную гибкость.
Изобретение является в особенности полезным для обратных труб, которые по меньшей мере частично работают согласно принципу свободного падения. Вместе с тем понятно, что в обратном потоке под давлением “свободное падение” может также возникать.
В части, где изобретение относится к добыче полезных ископаемых и потоку вещества, публикация WO 2012091706 определенно относится к работам, связанным с потоком нефти или газа. Работы по нефти или газу относятся к отличающейся области техники при сравнении с общей добычей полезных ископаемых, главным образом, вследствие отличающихся технологических потоков, что предъявляет отличающиеся требования к системам и производству работ.
Глубоководные морские условия здесь означают морские глубины по меньшей мере 500 метров, предпочтительно по меньшей мере 1000 метров.
Технологическая платформа может являться судном, подводной системой или даже системой, опирающейся на дно водного объекта, например океана.
Примерами процессов, выполняемых на технологической платформе, являются, например: сепарирование извлеченного вещества на часть вещества, представляющую ценность, такую как газ, нефть и/или гидраты, и часть вещества, не представляющую ценность, такую как вода. Также влага может удаляться из прибывающего на поверхность потока извлеченного вещества с помощью "модуля дегидратации". Если необходимо, газ могут сжимать. В дополнение, воду можно нагнетать в обратном потоке, для которого (морская) вода может обрабатываться перед нагнетанием.
В варианте осуществления способа согласно изобретению регулирование давления в обратной трубе содержит измерение внутреннего давления в обратной трубе для передачи сигнала давления в обратной трубе.
В варианте осуществления способ регулирования давления в обратной трубе содержит регулирование расхода обратного потока.
В варианте осуществления способ регулирования расхода обратного потока содержит создание средства регулирования давления.
Возможным вариантом является создание буфера или промежуточных буферов в верхней части обратной трубы и создание пропорциональной подачи материала в обратную трубу. Как следствие, требуются палубное пространство и грузоподъемность для несения данного буфера.
В варианте осуществления способа средство регулирования давления представляет собой активное и/или пассивное средство.
В варианте осуществления способа средство регулирования давления выбирается из следующего: дроссели по типу трубы уменьшенного диаметра, системы колен, турбины, насосы, применяемые как турбины, насосы и средства контроля высоты столба смеси.
Данные средства регулирования давления действуют, другими словами, как средства рассеяния энергии, которое включено в состав обратной трубы или также линию системы для обеспечения управления вакуумом с помощью уравновешивания потерь рассеяния (т.e. сопротивления трубы) потенциальной энергией, и, если возможно, то для повторного использования части потенциальной энергии, рассеиваемой системой.
В варианте осуществления способ регулирования расхода обратного потока содержит управление работой средства регулирования давления в ответ на сигнал давления в обратной трубе.
В варианте осуществления способа средство регулирования давления работает в пределе времени реакции в ответ на сигнал давления в обратной трубе, где предел времени реакции находится в диапазоне между меньше 0,5 секунд и 10 секунд, предпочтительно между 1 секундой и 5 секундами.
Добываемое вещество может содержать газовые гидраты.
Согласно дополнительному аспекту настоящего изобретения задачу реализуют с помощью системы регулирования расхода для обратного трубопровода при глубоководной морской добыче полезных ископаемых, система содержит:
средство измерения внутреннего давления в обратной трубе для передачи сигнала давления в обратной трубе,
средство регулирования давления для регулирования расхода в обратной трубе смеси морской воды и не представляющей ценности части вещества, проходящей с технологической платформы ко дну водного объекта.
В варианте осуществления системы регулирования расхода глубоководной морской добычи полезных ископаемых средство регулирования давления представляет собой активное и/или пассивное средство.
В варианте осуществления системы регулирования расхода глубоководной морской добычи полезных ископаемых средство регулирования давления выбирается из следующего: дроссели, системы колен, турбины, насосы, применяемые как турбины, насосы и средства контроля высоты столба смеси.
Согласно дополнительному аспекту настоящего изобретения задачу реализуют с помощью системы глубоководной морской добычи полезных ископаемых, содержащей систему регулирования расхода для обратного трубопровода в составе:
линии райзера для создания в ней направленного вверх потока представляющего ценность вещества со дна водного объекта на технологическую платформу,
технологической платформы для переработки вещества с получением представляющей ценность части и не представляющей ценности части вещества,
обратной трубы для создания в ней обратного потока смеси морской воды и не представляющей ценности части вещества с технологической платформы в направлении ко дну водного объекта, и
системы регулирования расхода глубоководной морской добычи полезных ископаемых согласно изобретению для регулирования давления в обратной трубе для предотвращения разрушения обратной трубы и/или кавитации в обратной трубе, в частности для предотвращения разрушения и/или кавитации в верхней части обратной трубы.
Изобретение дополнительно относится к устройству, содержащему один или несколько отличительных признаков, описанных ниже и/или показанных на прилагаемых чертежах.
Изобретение дополнительно относится к способу, содержащему один или несколько отличительных признаков, описанных ниже и/или показанных на прилагаемых чертежах.
Различные аспекты, рассмотренные в данном патенте, можно комбинировать для обеспечения дополнительных предпочтительных преимуществ.
ОПИСАНИЕ ЧЕРТЕЖЕЙ
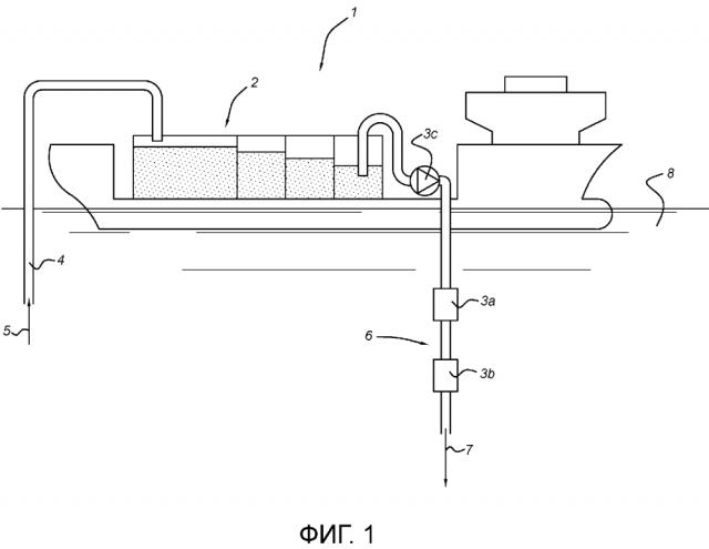
Изобретение дополнительно подробно описано ниже для предпочтительного варианта осуществления, показанного на фиг. 1, где схематично приведен вид системы глубоководной морской добычи полезных ископаемых согласно изобретению.
ПОДРОБНОЕ ОПИСАНИЕ ВАРИАНТОВ ОСУЩЕСТВЛЕНИЯ ИЗОБРЕТЕНИЯ
На фиг.1 частично показана система 1 глубоководной морской добычи полезных ископаемых. Система глубоководной морской добычи полезных ископаемых содержит систему 3a-c регулирования расхода для линии 6 возврата. Система глубоководной морской добычи полезных ископаемых содержит технологическую платформу 2 для переработки вещества в часть вещества, представляющую ценность, и часть вещества, не представляющую ценность. Система 1 глубоководной морской добычи полезных ископаемых содержит линию 4 райзера для создания проходящего по ней вверх потока 5 представляющего ценность вещества со дна водного объекта 8 на технологическую платформу 2.
Система 1 глубоководной морской добычи полезных ископаемых содержит обратную трубу 6 для создания обратного потока 7 смеси морской воды и не представляющей ценность части вещества с технологической платформы 2 ко дну водного объекта.
Система 1 глубоководной морской добычи полезных ископаемых содержит систему 3a-c регулирования расхода при глубоководной добыче полезных ископаемых для регулирования давления в обратной трубе 6 для предотвращения разрушения обратной трубы 6. Примерами таких систем регулирования расхода являются дроссели, системы колен, турбины, насосы, применяемые как турбины и насосы.
Также очевидно, что приведенные выше описание и чертежи показывают некоторые варианты осуществления изобретения, и не ограничивают его объем защиты. При использовании данного раскрытия, как отправной точки, специалисту в данной области техники становятся очевидными многие варианты осуществления, которые относятся к объему защиты и сущности данного изобретения и которые являются очевидными комбинациями методик известной техники и раскрытия данного патента.
1. Способ глубоководной морской добычи полезных ископаемых, в котором:
создают направленный вверх поток извлеченного вещества в линии райзера, проходящий со дна водного объекта на технологическую платформу,
осуществляют переработку вещества на технологической платформе с получением представляющей ценность части и не представляющей ценность части вещества,
создают обратный поток в обратной трубе из смеси морской воды и не представляющей ценность части вещества с технологической платформы в направлении ко дну водного объекта,
регулируют давление в обратной трубе для предотвращения разрушения обратной трубы и/или кавитации в обратной трубе, в частности для предотвращения разрушения или кавитации в верхней части обратной трубы, при этом регулирование давления в обратной трубе содержит регулирование расхода обратного потока.
2. Способ по п. 1, в котором регулирование давления в обратной трубе содержит измерение внутреннего давления в обратной трубе для передачи сигнала давления в обратной трубе.
3. Способ по предыдущему пункту, в котором регулирование расхода обратного потока содержит создание средства регулирования давления.
4. Способ по п. 3, в котором средство регулирования давления содержит активное и пассивное средство.
5. Способ по п. 4, в котором средство регулирования давления выбирают из следующего: дроссели, системы колен, турбины, насосы, применяемые как турбины, насосы и средства контроля высоты столба смеси.
6. Способ по предыдущему пункту, в котором регулирование расхода обратного потока содержит управление работой средства регулирования давления в ответ на сигнал давления в обратной трубе.
7. Способ по п. 6, в котором средство регулирования давления работает в пределах времени реакции в ответ на сигнал давления в обратной трубе, при этом предел времени реакции находится в диапазоне между 0,5 секунд и 10 секунд.
8. Способ по предыдущему пункту, в котором вещество содержит газовые гидраты.
9. Система регулирования расхода для обратного трубопровода при глубоководной морской добыче полезных ископаемых, содержащая:
средство измерения внутреннего давления обратной трубы для передачи сигнала давления в обратной трубе,
средство регулирования давления для регулирования расхода в обратной трубе смеси морской воды и не представляющей ценности части вещества, проходящей с технологической платформы в направлении ко дну водного объекта.
10. Система регулирования расхода глубоководной морской добычи полезных ископаемых по п. 9, в которой средство регулирования давления содержит активное и пассивное средство.
11. Система регулирования расхода глубоководной морской добычи полезных ископаемых по п. 10, в которой средство регулирования давления выбирается из следующего: дроссели, системы колен, турбины, насосы, применяемые как турбины, насосы и средства контроля высоты столба смеси.
12. Система глубоководной морской добычи полезных ископаемых содержащая:
технологическую платформу для переработки вещества с получением представляющей ценность части и не представляющей ценности части вещества,
линию райзера для создания в ней направленного вверх потока извлеченного вещества со дна водного объекта на технологическую платформу,
обратную трубу для создания в ней обратного потока смеси морской воды и не представляющей ценности части вещества, проходящего с технологической платформы в направлении ко дну водного объекта, и
систему регулирования расхода глубоководной морской добычи полезных ископаемых по пп. 9-11 для регулирования давления в обратной трубе для предотвращения разрушения обратной трубы и/или кавитации в обратной трубе, в частности для предотвращения разрушения и/или кавитации в верхней части обратной трубы.

