PatentDB.ru — поиск по патентным документам

Иллюстрации к патенту 2643392

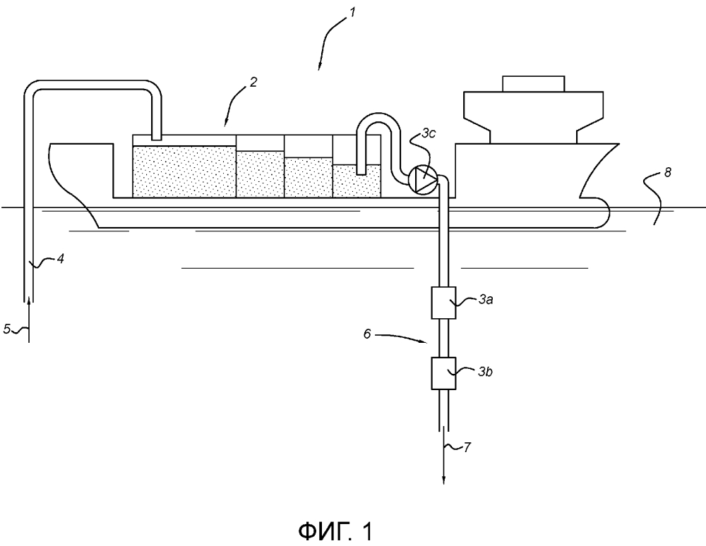
Способ вакуумного регулирования линии райзера

Способ вакуумного регулирования линии райзера (патент 2643392)