PatentDB.ru — поиск по патентным документам

Иллюстрации к патенту 85785

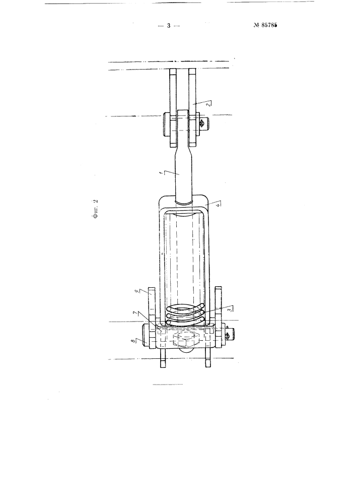
Переходной мостик пассажирских железобетонных вагонов

Переходной мостик пассажирских железобетонных вагонов (патент 85785)