Иллюстрации к патенту
929521
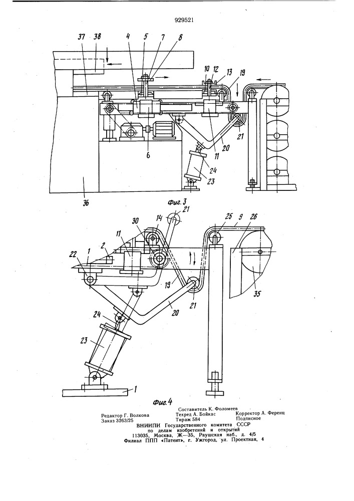
Устройство для подачи многослойного настила к вырубочному прессу