PatentDB.ru — поиск по патентным документам

Иллюстрации к патенту 132482

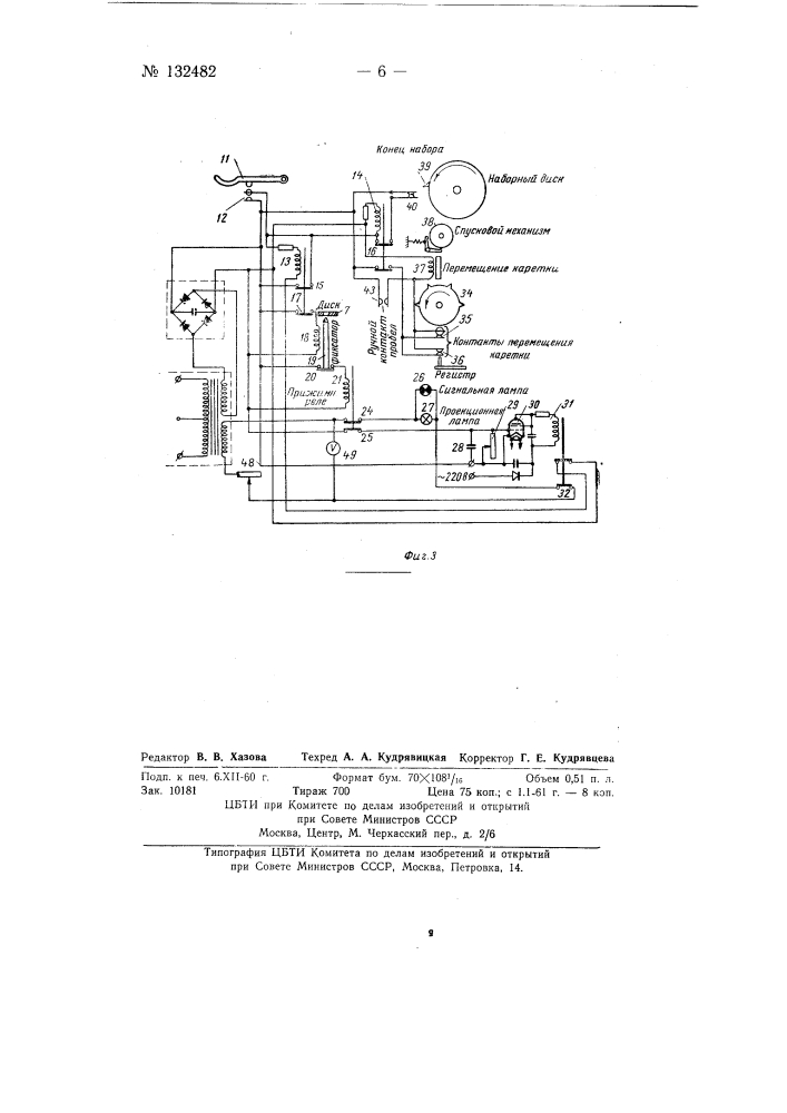
Машина для фотографического крупнокегельного набора

Машина для фотографического крупнокегельного набора (патент 132482)