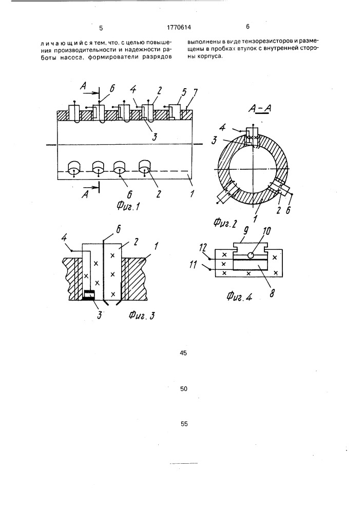
Иллюстрации к патенту
1770614
Электрогидравлический насос