PatentDB.ru — поиск по патентным документам

Иллюстрации к патенту 208632

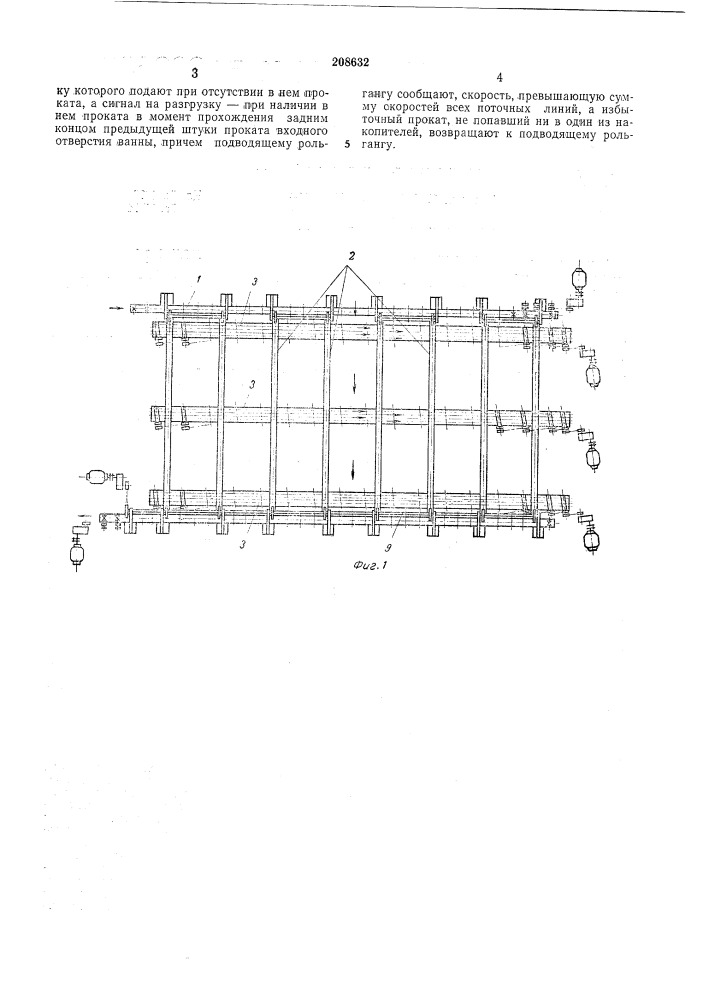
Способ распределения проката с подводящего рольганга по параллельным поточным линиямотделки

Способ распределения проката с подводящего рольганга по параллельным поточным линиямотделки (патент 208632)