PatentDB.ru — поиск по патентным документам

Иллюстрации к патенту 2301044

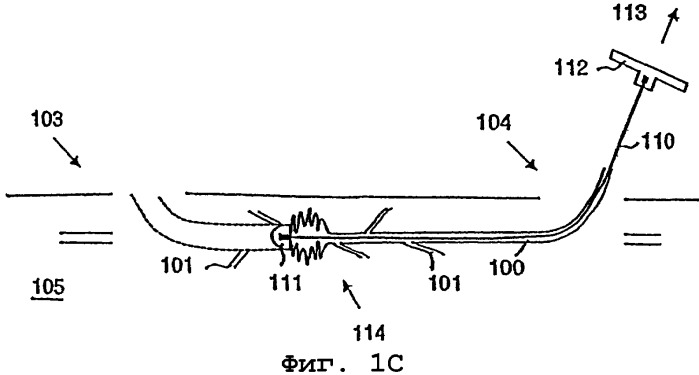
Электрохирургический венозный стриппер (варианты)

Электрохирургический венозный стриппер (варианты) (патент 2301044)