PatentDB.ru — поиск по патентным документам

Иллюстрации к патенту 2323462

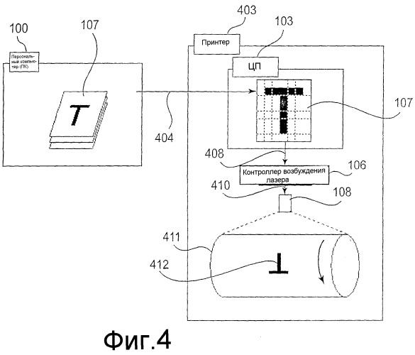
Устройство формирования изображения, картридж и устройство хранения, установленное в картридж

Устройство формирования изображения, картридж и устройство хранения, установленное в картридж (патент 2323462)