PatentDB.ru — поиск по патентным документам

Иллюстрации к патенту 2365457

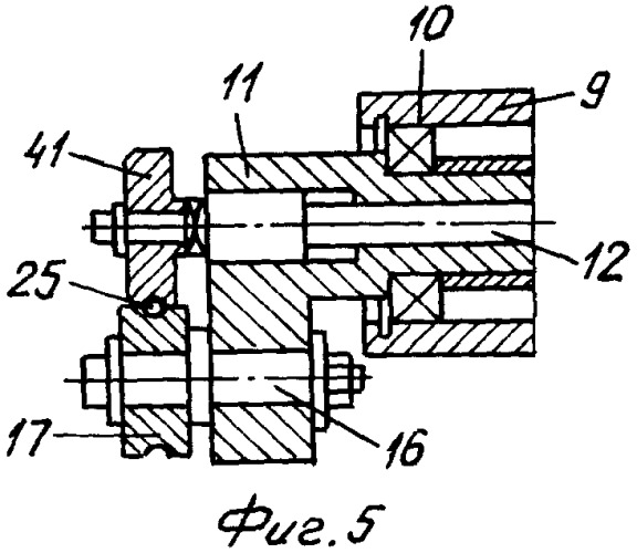
Устройство для гибки изделий из проволоки

Устройство для гибки изделий из проволоки (патент 2365457)