PatentDB.ru — поиск по патентным документам

Иллюстрации к патенту 2394526

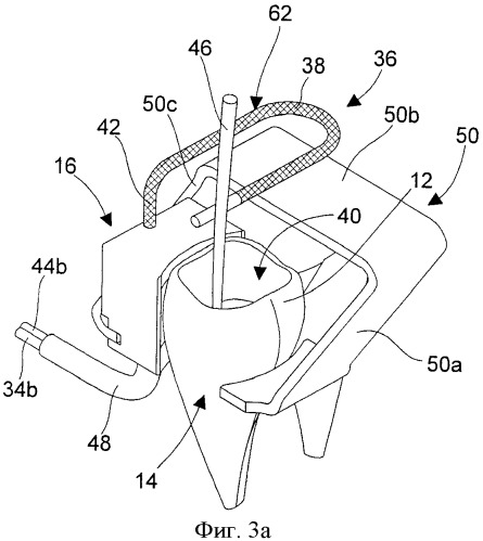
Устройство для определения местоположения верхушки корня зуба

Устройство для определения местоположения верхушки корня зуба (патент 2394526)