PatentDB.ru — поиск по патентным документам

Иллюстрации к патенту 2413868

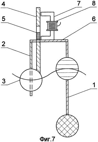
Электрогенератор гидроволновой штоковый сердечниковый

Электрогенератор гидроволновой штоковый сердечниковый (патент 2413868)