PatentDB.ru — поиск по патентным документам

Иллюстрации к патенту 2433945

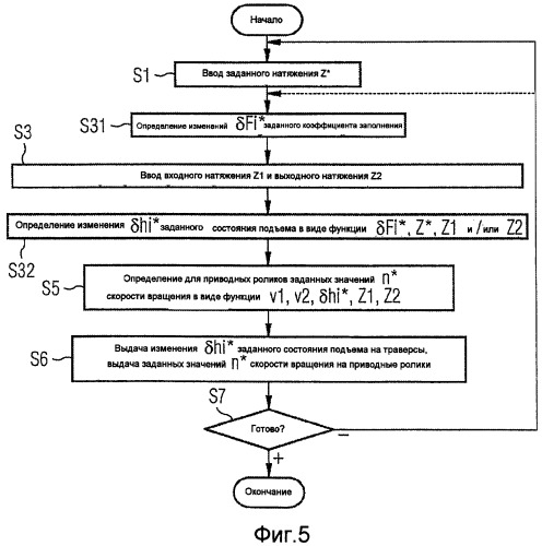
Способ работы петлевого накопителя с выравниванием натяжения

Способ работы петлевого накопителя с выравниванием натяжения (патент 2433945)