PatentDB.ru — поиск по патентным документам

Иллюстрации к патенту 2458192

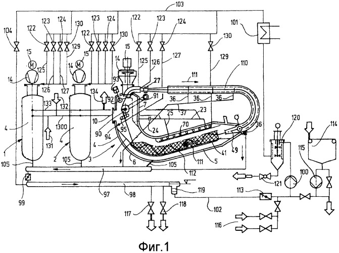
Устройство и способ для обработки в жгуте текстильного изделия в форме жгута

Устройство и способ для обработки в жгуте текстильного изделия в форме жгута (патент 2458192)