PatentDB.ru — поиск по патентным документам

Иллюстрации к патенту 2465451

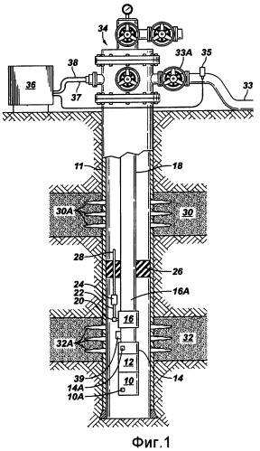
Система управления потоком с использованием погружного насоса и скважинного сепаратора и способ эксплуатации скважинного сепаратора (варианты)

Система управления потоком с использованием погружного насоса и скважинного сепаратора и способ эксплуатации скважинного сепаратора (варианты) (патент 2465451)