Иллюстрации к патенту
2492908
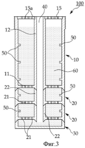
Картридж для водоочистителя с естественной фильтрацией воды