PatentDB.ru — поиск по патентным документам

Иллюстрации к патенту 2492908

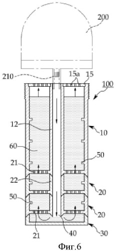
Картридж для водоочистителя с естественной фильтрацией воды

Картридж для водоочистителя с естественной фильтрацией воды (патент 2492908)