PatentDB.ru — поиск по патентным документам

Иллюстрации к патенту 2507020

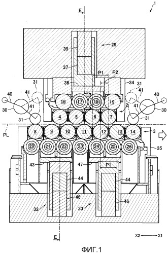
Валковое правильное устройство

Валковое правильное устройство (патент 2507020)