PatentDB.ru — поиск по патентным документам

Иллюстрации к патенту 330040

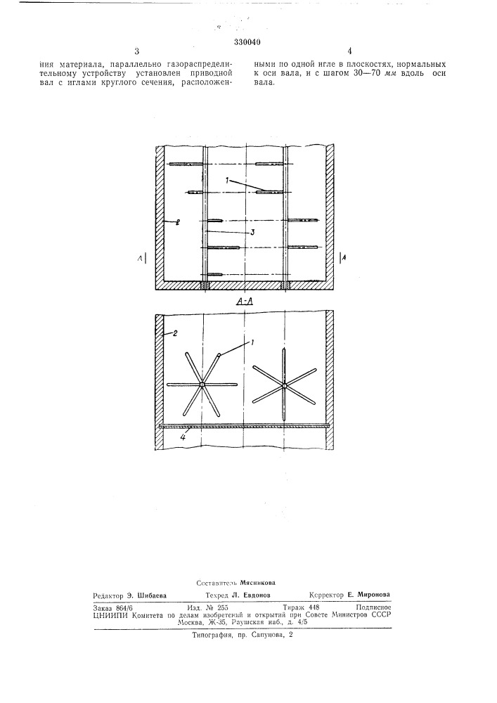
Устройство для разрушения каналов

Устройство для разрушения каналов (патент 330040)