Иллюстрации к патенту
2549822
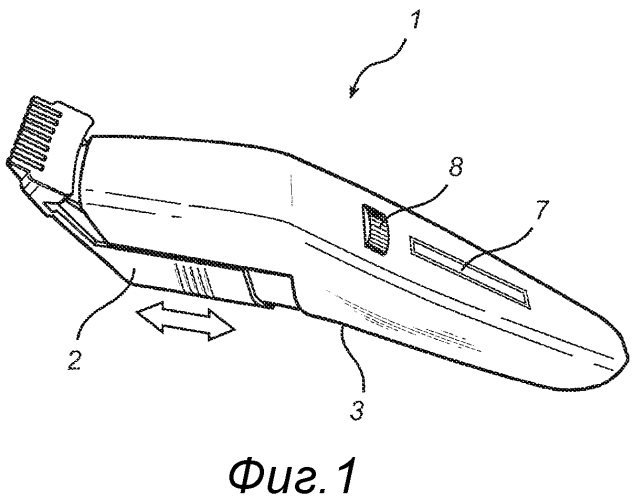
Устройство для стрижки волос с распознаванием блока гребенки