PatentDB.ru — поиск по патентным документам

Иллюстрации к патенту 2549822

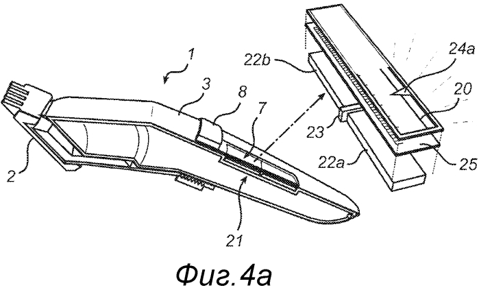
Устройство для стрижки волос с распознаванием блока гребенки

Устройство для стрижки волос с распознаванием блока гребенки (патент 2549822)