PatentDB.ru — поиск по патентным документам

Иллюстрации к патенту 2627006

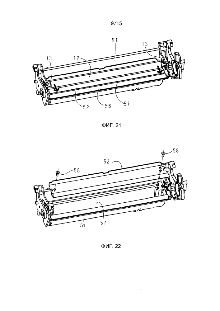
Блок электрофотографического светочувствительного барабана

Блок электрофотографического светочувствительного барабана (патент 2627006)